Teknik Motor Samhälle Spel Popkultur Fritid Tjock Tester Dagens fråga Tipsa! Skaffa Feber+
Hetaste
Senaste
Alla Heta Kalla Öppna i ny flik söndag 18 januari 2015 fortsättning Hemligt meddelande i Apples icloud-avtal Artist vill få oss att läsa innan vi godkänner Artisten Florence Meunier insåg hur sällan hon verkligen läste avtalen som Apple vill att vi godkänner jämt och ständigt. Som en påminnelse om att det är viktigt att läsa sådant, har hon tagit fram ett hemligt meddelande i avtalet. Det går så här: This is the story of a man, who one day was too busy or maybe too lazy that he, too quickly, clicked on I agree. What the latter did not forsee, is that he could never again disagree. The lesson of this story is that one shall not concede, to something one does not read. Apple designar sina avtal på ett sätt som ska få oss att strunta i att läsa dem enligt Florence. Därför är det extra viktigt att ta sig tiden och läsa igenom villkoren. Hur ofta läser ni Apples avtal innan ni godkänner? Tumnagel
45.9°
0
torsdag 15 januari 2015 Nu finns Facebook-bubblorna även på Mac Med hjälp av tredjepartsapp Gillar du de bubblor som finns i Facebook Messenger på Android, de som ligger över skärmen vart man än befinner sig? De finns nu till Mac i form av en app som heter Chat Heads. Det funkar riktigt bra och just nu är alla extrasaker i appen som annars kostar pengar gratis. Om ni vill ha lite mer traditionellt upplägg kan du hitta en länk till en annan app som vi skrev om nyss här under. Tumnagel
27.0°
0
Facebook Messenger som app på Mac Slipp allt annat på Facebook Har du som jag börjat tröttna rejält på Facebook men använder Messenger för att hålla kontakt med folk och fä? Då tycker jag att du ska testa Goofy som är en Mac-app skriven av Daniel Büchele. Det är i princip webvyn för facebook.com/messages med lite deluxe-fix men den är gratis, har notifieringar och gör så att man inte behöver besöka Facebook lika mycket. Tumnagel
37.7°
0
onsdag 14 januari 2015 Apple på gång med GoPro-utmanare? Patent tyder på det Bloggen Patently Apple skriver att Apple har fått ett nytt patent som tyder på att företaget kan vara på väg att ta fram en actionkamera liknande dem från GoPro och andra tillverkare. Enligt patentet är kameran tänkt att fästas på till exempel en hjälm, ett styre eller en surfbräda. Givet det sistnämnda kommer kameran givetvis att vara vattentät och patentet beskriver även hur kameran skulle styras via en smartklocka lik den klocka som Apple förväntas släppa på marknaden i mars. GoPros aktie föll med 12% efter det att Apples patent blev offentliggjort. Tumnagel
19.0°
0
En modern tolkning av klassiska Macintosh Det har hänt en del på 30 år! Om man skulle vilja ha en stationär Mac med liten formfaktor skulle den här tanken passa. Det är bara ett koncept och tekniskt är det en MacBook Air i annan förpackning. Skärmen är högupplöst och i fronten finns inte en diskettläsare utan en SD-kortläsare. Tumnagel
44.2°
0
The Sims 4 släpps till Mac i februari Bättre sent än aldrig Det tog ett tag, men nu får Macanvändare tillgång till Sims 4. Spelet släpps nämligen nästa månad meddelar EA på Twitter. De som redan har en PC-version får spelet gratis till Mac om de skulle sitta på en dator av varje. The Sims 4 is coming to Mac nextmonth. Spreadthe news! pic.twitter.com/HdTJ8Hb66Z— The Sims (@TheSims) 13 januari 2015 Tumnagel
38.3°
0
tisdag 13 januari 2015 Nya 12-tums MacBook Air presenteras under Q1? Enligt källor är den redan i produktion Här om veckan så dök det upp lite rykten kring en 12 tum stor MacBook Air som Apple kanske kommer att släppa i år. Då pratades det om en dator som ska vara betydligt tunnare än nuvarande MacBook Air samt endast ha en enda anslutningsport. Nu kommer det nya rykten kring denna dator och det om när vi kanske får se den presenteras. Enligt källor till den ökända ryktesspridarsajten Digitimes så kommer Apple att presentera den nya datorn under det första kvartalet i år och att produktionen av datorn redan dragit igång runt om i Asien. Tumnagel
44.3°
0
Den ultimata dockan för MacBook Pro? Koppla inte in en enda sladd Henge docks gör en riktigt fet docka för MacBook Pros som har två unika funktioner; dels behöver du inte koppla in en enda sladd eftersom dockan har små motorer som gör det åt dig, du sätter bara din dator på dockan så fixar den resten. Det andra som är unika är att den ger ström till din MacBook vilket är lite ovanligt. På baksidan finns så klart en hel drös med portar. Två ljudutgångar, HDMI, SD-kortläsare, sex USB 3-portar och två thunderbolt 2-portar. Jag hade köpt en direkt om det inte hade varit för priset, 399 dollar är verkligen för mycket pengar för att slippa stoppa i en sladd. Tumnagel
46.2°
0
PC-försäljningen går nedåt Trots att de stora aktörerna växer Det går trögt för den totala försäljningen av datorer och antalet sålda enheter backade med 2,4 procent mellan fjärde kvartalet 2013 och fjärde kvartalet 2014 enligt en rapport från undersökningsföretaget IDC. Detta trots att alla stora aktörer på marknaden växer, det vill säga Apple, HP, Lenovo, Dell och Acer. De som tappar är de mindre aktörerna som backar hela 20,7 i försäljning. Bäst går det för Apple vars försäljning ökade med hela 18,9 procent och de skeppade över 5.3 miljoner enheter under förra året. Och även om de än så länge har den minsta marknadsandelen bland jättarna så närmar de sig Acer med stormsteg som är närmast på listan. Störst är Lenovo som ökade 4,9 procent under förra året och som nu har 19,9 procent av marknaden. Det innebär ungefär 16 miljoner skeppade datorer. Ovan kan ni se alla siffror för respektive märke. Tumnagel
37.5°
0
torsdag 8 januari 2015 Wacom uppdaterar sin tablet I flera olika varianter För ungefär två år sedan släppte Wacom två ritplattor, en för Windows och en för Android, i hybridform som även fungerar som tablets. Nu uppdaterar de Windowsversionen med ny prestanda och nya funktioner. Cintiq Companion 2 fungerar dels som en vanlig ritplatta, som kan kopplas in till en Windows PC eller till en Mac, och dels som en Windows tablet som kan köra Photoshop och andra foto- eller designrelaterade program. Skärmen är, liksom på föregångaren, 13,3 tum stor men har fått en högre upplösning och klarar nu 2560x1440 istället för tidigare 1920x1080. Tryckkänsligheten på skärmen när man använder den medföljande Wacompennan är liksom tidigare på 2048 nivåer. Plattan har också utrustats med två kameror på 8 respektive 2 Megapixel och kör Windows 8.1. Cintiq Companion 2 kommer att släppas i flera versioner med olika prestanda där den billigaste med 64 GB SSD-hårddisk och Intel Core i3-processor kommer att kosta 1299 dollar medan den dyraste med 512 GB SSD-hårddisk, 16GB RAM och en Intel Core i7-processor kostar 2499 dollar. Tumnagel
40.6°
0
onsdag 7 januari 2015 Rykte Nya uppgifter om möjlig MacBook Air 12 tum Verkar bli ordentligt tunn 9to5Mac har tagit sig ett snack med folk på Apple som säger sig ha testat en kommande 12-tums-modell av MacBook Air och stämmer uppgifterna från dem så kommer det handla om en riktigt tunn dator som kommer att sakna standar-usb-ingångar, MagSafe-kontakt samt SD-kortsläsare. I renderingen ovan som 9to5Mac tagit fram syns att tangentbordet går hela vägen ut till höljets kant vilket gör att 12-tummaren kommer att bli något smalare än dagens 11-tums-modell. Den kommer dock att bli några högra, och alltså mer kvadratisk, för att kunna få plats med 12-tummarens större skärm. Enligt 9to5Macs källor har Apple i tolvtums-modellen även valt att skippa vanliga USB-ingångar och MagSafe-kontakten och istället ersatt dessa med endast en USB Type-C-ingång som även kommer att användas för att ladda datorns batteri. Man spekulerar om att Apple antagligen även förbereder någon slags USB-hub till tolvtummaren då många sannolikt kommer att behöva åtminstone några fler ingångar. Denna kanske även kommer att innehålla en SD-kortläsare som även den ska lysa med sin frånvaro i den (eventuellt) kommande tolv-tums-modellen. Exakt när vi kan få se den här modellen på marknaden finns inga direkt konkreta uppgifter om men man säger att den kanske kan komma att släppas till sommaren i samband med Apples WWDC (Worldwide Developers Conference), eventuellt tidigare än så. Tumnagel
44.1°
0
lördag 3 januari 2015 Kör Windows 10 på din Mac gratis Så här gör man det Kör man OS X men ändå skulle vilja testa Microsofts kommande operativsystem Windows 10 utan att köpa en version så kan man göra det med hjälp av emuleringsprogramvaran VirtualBox från Oracle. Efter man har installerat VirtualBox måste man registrera sig på "Windows Insider Program" och man kan då ladda hem en gratisversion av Windows 10 Technical Preview. Sedan måste man skapa en virtuell hårddisk på Macen där man kan installera Windows 10. När väl dessa steg är avklarade är det bara att installera Windows 10 på den virtuella hårddisken och går allt som det ska så kan man sen förhoppningsvis utforska Windows 10, spela spel som inte finns till OS X och annat. För lite mer ingående instruktioner av processen ovan hoppa vidare till Cult of Mac på länken nedan. Tumnagel
46.2°
0
tisdag 23 december 2014 Få lugn och ro med massor av ljud Låter det konstigt? Noizio är en skön och gratis app som gör att man kan få lugn och ro genom att sätta på olika ljud. Sommar och höstregn, ett fik i paris eller yttre rymden fixar en ljudmatta som stör ute tystnaden eller oväsen. Appen ligger i menyraden och är som sagt gratis. Vill man inte ha ljudet i hörlurarna har appen Airplay så att det går att skicka ljudet till högtalarna. Tumnagel
41.7°
0
Apple Store Ryssland öppnar igen Med kraftiga prishöjningar Förra veckan stängde Apple ner sin ehandelsbutik i Ryssland på grund av att den ryska rubeln rasat i värde de senaste månaderna och Apple hänvisade då till att man var tvungna att göra vissa prisjusteringar på sina varor i Ryssland på grund av det. Nu har Apple genomfört dessa prisjusteringar och öppnat sin butik igen. Det handlar om kraftiga prishöjningar och Engadget skriver att till exempel en iPhone 6 nu har blivit 35% dyrare än vad den var förra veckan i Ryssland. En iPhone 6 16GB kostar nu 53.990 rubel i Apples ryska ehandelsbutik vilket motsvarar ungefär 7.695 kronor. Samma modell kostar i den svenska Applebutiken idag 6.395 kronor. Tumnagel
38.2°
0
Apple säkerhetsuppdaterade OS X automatiskt Första gången det sker Apple har för första gången någonsin använt sig av en funktion i sitt operativsystem OS X som låter företaget "tvångsuppdatera" användarnas operativsystem, något som säkert många av er som använder OS X märkte när ni slog på datorn i morse. Man har gjort detta för att åtgärda en bugg i Unix NTP-protokoll, ett protokoll som används för att hålla koll på tiden. Buggen upptäcktes av Google för ett tag sedan och innebar att en obehörig kunde attackera unix-baserade datorer via NTP-protokollet för att sedan köra obehöriga program på datorn. Apple har tidigare uppmanat användare av OS X Yosemite, Mountain Lion och Mavericks att uppdatera sina operativsystem manuellt men jag antar att man nu hellre tog det säkra före det osäkra och "tvångsinstallerade" uppdateringen på OS X-användares datorer. Tumnagel
54.5°
0
fredag 19 december 2014 USBDriveBy - USB-sticka som tar över OS X Lämna aldrig datorn olåst USBDriveBy är en mjukvara som mer eller mindre helt tar över en Mac-dator om man ansluter ett USB-minne med USBDriveBy på. Rent tekniskt så identifierar sig USBDriveBy som ett tangentbord och en mus och sedan tar den över datorn och utför de instruktioner som den programmerats att göra. När USBDriveBy väl är installerat så kan den göra det mesta som en användare kan göra på datorn vilket kanske inte känns vidare bra. Är man orolig för att någon ska installera USBDriveBy på den egna datorn så bör man låsa den så fort man lämnar den för då kan inte USBDriveBy aktiveras. I klippet ovan kan ni kolla in vad som händer på en USBDriveBy-infekterad OS X-maskin och mannen bakom det hela går även igenom rätt så ingående hur det fungerar. Tumnagel
44.0°
0
Apple kritiseras igen för arbetsförhållandena på kinesiska fabriker Långa arbetspass BBC Panorama har undersökt hur arbetarna på en kinesisk underleverantör till Apple har och det verkar inte som om det är något vidare i den utpekade fabriken Pegatron utanför Shanghai. BBC har låtit sina egna reportrar arbeta på den utpekade fabriken och enligt dem så kunde de ibland få arbeta 18 dagar utan ledighet och i 12-timmarsskift. Det ledde bland annat till att en del arbetare somnade på sina arbetsstationer. En av reportrarna fick som längs arbeta 16 timmar i sträck och säger: "Every time I got back to the dormitories, I wouldnx27t want to move. Even if I was hungry I wouldnx27t want to get up to eat. I just wanted to lie down and rest. I was unable to sleep at night because of the stress." Apple har inte velat ställa upp på en intervju med BBC men säger i ett uttalande: "We are aware of no other company doing as much as Apple to ensure fair and safe working conditions. We work with suppliers to address shortfalls, and we see continuous and significant improvement, but we know our work is never done." Det är inte första gången Apples underleverantörer kritiseras för dåliga arbetsförhållanden och 2010 ska 14 arbetare på Foxconn ha tagit livet av sig vilket uppmärksammades stort. Förhållandena på Foxconn ska dock ha blivit bättre sedan Apple mer ingående började granska arbetarnas situation på Foxconn. Tumnagel
21.3°
0
torsdag 18 december 2014 Nu kommer en pro-version av djay För Mac, med Spotify djay för mobilen och tableten har blivit en succé och nu utökar algoriddim utbudet för den som vill rocka loss på sin Mac med en pro-version. I den hittar man stöd för Spotify (och iTunes så klart), fyra olika kanaler, nya effekter, en sampler och stöd för MIDI-kontroller. Just nu har man lite introduktionsrabatt på 40% så just nu ligger priset på 379 kronor för den som är sugen. Har man en ny iMac med 5K-skärm finns det stöd för den också. Tumnagel
40.7°
0
Så gjordes senaste Apple-reklamen Gammalt möter nytt Apple släppte för ett tag sedan en väldigt fin reklamfilm som man kallade för The Song. I det här klippet får vi se hur den skapades, man använde bland annat en klassisk voice-o-graph för att spela in det "gamla" ljudet. Det var en maskin som helt enkelt spelade in ljud direkt ner på vinyl. Tumnagel
36.3°
0
onsdag 17 december 2014 Köp elektronik billigare i Norge Kronfall ger omvända världen När jag var liten så var det billigare att handla i Norge än i Sverige men det var ett tag sedan om man säger så. Under lång tid har norrmännen åkt över till Sverige för att fynda varor men nu är det vår tur! Den senaste tidens konstigheter på valutamarknaden gör att man nu kan tjäna en slant på att ta sig till Norge för att handla dyr elektronik. Den fetaste MacBook Pron kostar till exempel 23 495 svenska kronor i Sverige och den kostar 20 990 norska kronor i Norge. Omräknat med dagens valutakurs blir det nästan två tusen svenska kronor billigare i Norge än i Sverige. Inget att sätta sig på flyget för kanske men om du ändå befinner dig i Norge kan det vara värt att tänka på. Tumnagel
74.3°
0
Apple vann gammal rättstvist om iPods och iTunes Undviker miljardskadestånd Apple har gått segrande ur en rättstvist som tog sin början redan 2005 då iPod-köpare förde en grupptalan mot Apple för att de ansåg att Apple med sina iPods och tillhörande iTunes gjorde det omöjligt för dem att lyssna på sin köpta musik på andra typer av mediaspelare. Genom åren har sedan flera andra användare anslutit sig till denna grupptalan och till slut ska det ha handlar om hela åtta miljoner stycken. Apple hävdade i sitt försvar att man bara gjorde vad till exempel Sony och Microsoft gör med sina spelkonsoler och att det i grund och botten handlade om att göra systemet säkrare plus att deras avtal med skivbolagen krävde att filerna inte skulle gå att sprida vidare. En oenig jury kom fram till att Apple bara hade förbättrat iTunes och att detta i sig inte bröt mot några konkurrenslagar. Skulle Apple förlorat så hade det kunnat handla om skadestånd på upp till en miljard dollar skriver The Verge. Apple säger i ett uttalande: "We thank the jury for their service and we applaud their verdict. We created iPod and iTunes to give our customers the world’s best way to listen to music. Every time wex27ve updated those products - and every Apple product over the years - we’ve done it to make the user experience even better." Målsägarnas advokat säger att de redan planerar att överklaga domen. Tumnagel
35.1°
0
tisdag 16 december 2014 Apple stänger sin onlineförsäljning i Ryssland Deras valuta har rasat något enormt Nyhetsbyrån Bloomberg skriver att Apple har beslutat att tills vidare stänga sin onlineförsäljning i Ryssland då deras valuta rubeln har rasat något katastrofalt den senaste tiden. Senast igår försökte Ryssland hejda rubelns ras genom att höja räntan från 10,5% till 17% men det hjälpte föga då rubeln idag föll till en ny bottennivå och dollarn har blivit 90% dyrare mot rubeln bara de senaste tre månaderna. Den ryska befolkningen är nu oroliga för hyperinflation och valutarestriktioner och försöker därför nu att växla till sig dollar och köpa sällanköpsvaror som hemelektronik. Man befarar att denna typ av varor kommer att bli enormt mycket dyrare inom kort då importörerna måste betala mer för varorna. Att Apple nu stänger onlineförsäljning beror antagligen på att man inte längre vill sälja varor i rubel då den förväntas falla ytterligare mot dollarn framöver. Anledningen till rubelns fall är att priset på olja, vilket är Rysslands viktigaste exportvara, har fallit med 40% de senaste tre månaderna. Att man drabbats av en del sanktioner från omvärlden i och med sin inblandning i Ukrainakrisen kan antagligen också ha bidragit till det skakiga ekonomiska läget som just nu råder i Ryssland. Tumnagel
72.9°
0
måndag 15 december 2014 Apple - The Song Ny reklamfilm från Apple Här är en julreklam för Apple som man kallar för "The Song" och vilken jag antar ska visa hur nytt och gammalt går ihop. Tumnagel
45.0°
0
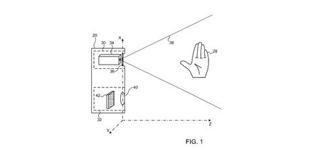
torsdag 11 december 2014 Nu har Apple patent på sitt eget "Kinect" Överförs från företag man köpt upp Förra året köpte Apple företaget PrimeSense som då arbetade med samma teknik som Microsoft använt för sitt Kinect. Nu har ett av PrimeSense patent överförts till Apple skriver TechCrunch. Patentet ifråga handlar om hur man kan läsa av och tolka en användares rörelser, alltså i stort sett det som även Kinect gör. Det finns inga uppgifter, inte ens rykten, om att Apple håller på att tar fram produkter som använder sig av rörelsedetektion men det är väl inte alls osannolikt att något liknande kan dyka upp i våra datorer, tablets och telefoner om några år. Tumnagel
32.5°
0
onsdag 10 december 2014 Apple förlitar sig nu helt på Apple Maps Google Maps används inte längre någonstans 2012 stod det klart att Apple skulle sluta använda sig av Google Maps och istället använda sig av sin egna då nyutvecklade karttjänst Apple Maps. Det är dock inte förrän nu som Apple lyckats byta ut Google Maps på alla ställen. Det sista stället där man hittade Google Maps var på iCloud.com där Googles kartor fram till här om dagen användes för att visa vart din telefon är med tjänsten ”Find My iPhone”. Nu är det dock slut på det och Apple har alltså till slut lyckats övergå helt till sina egna kartor. Tumnagel
20.8°
0
tisdag 9 december 2014 Apple bygger forskningsanläggning i Japan Kommer bli en av Apples största i Asien Japans premiärminister Abe Shinzo sa i ett uttalande idag att Apple kommer att bygga en stor forskningsanläggning i den japanska staden Yokohama. Han sa vidare att Apple kommer att presentera planerna på det nya utvecklingscentret inom kort och att anläggningen kommer att få samma storlek som Apples största asiatiska utvecklingscentrum Jiji och Kyodo. Exakt tidpunkt för öppnandet saknas. I ett uttalande till TechCrunch kommenterar Apple det hela med följande: "We’re excited to expand our operations in Japan with a new Technical Development Center in Yokohama which will create dozens of new jobs. These new positions join our many employees in Japan, including eight retail stores. We are proud of our history here and we thank our many customers for their support over the 30 years Apple has been doing business in Japan." Tumnagel
40.6°
0
Orion-kapseln använder 12 år gammal processor Variant av samma processor som satt i Apple iBook G3 Om man pratar om teknik som används av rymdorganisationer världen runt för att skicka upp saker till rymden så tror nog de flesta att allt som används är den senaste tekniken som finns. Så är dock inte fallet, det händer hyfsat ofta att vissa delar som används har några år på nacken, detta då man har bättre koll på den tekniken och på så vis kan få den mer stabil och säker. NASA:s senaste rymdfarkost som de tog en sväng med i rymden för första gången i fredags använder exempelvis en processor från 2002. Processorn som styr Orion-kapselns datorer är en PowerPC 750X, mycket lik den som går att hitta i Apple iBook G3 från 2003. PowerPC 750X-chipet har en klockhastighet på 900 MHz och en L2 cache på 512KB vilket enkelt uttryckt innebär att datorerna i Orion är ungefär lika snabba som en fyra till fem år gammal mobiltelefon. I Orion så finns det tre datorer och varje dator har två stycken chip som hela tiden kollar varandra så att det inte sker några fel. Chipet är även omarbetat en del för att tåla stötar bättre samt stå emot den strålning som kan utsätta chipet när det tar en rundtur i rymden. Tumnagel
53.3°
0
Apple rekryterar fashionistas till Apple Store Ska sälja den kommande Apple Watch I början av nästa år så är det dags för Apple att lansera sin första smarta klocka, Apple Watch, och förberedelserna är förstås i full gång. Enligt ett par interna dokument som sajten 9to5Mac säger sig har fått tag på så pågår just nu en lite annorlunda rekryteringsprocess för Apple Stores runt om i världen. Enligt dokumentet så letar Apple just nu inte för personal med teknik i fokus utan de har planerat att anställa ett par personer med modebakgrund till sina butiker. Om detta är sant så är det ganska klart till vilken målgrupp Apple kommer att försöka sälja sin klocka till och det är inte tekniknörden. Tumnagel
26.2°
0
måndag 8 december 2014 Steve Wozniak berättar om Apples historia Spelar bland annat ner garagets betydelse Här är en kort film på fem minuter där Applegrundaren Steve "Woz" Wozniak snackar lite om hur Apple startade och företagets historia. För de som kan sin Applehistoria någorlunda är det antagligen inga nyheter men Woz avslöjar att histoien om det legendariska garaget där Apple sägs ha startats och haft sin verksamhet har blivit något uppblåst. I själva verket tillbringade man inte särskilt mycket tid i garaget och växte ur det förhållandevis snabbt efter det att man dragit igång sin verksamhet. Tumnagel
45.6°
0
Ny reklam för iPad Air 2 Change Apple har släppt en ny reklamfilm för iPad Air 2 med titeln "Change". I filmen fokuserar Apple på att visa upp människor som använder iPad Air 2 i lite olika situationer utanför hemmets väggar. Tumnagel
34.8°
0
fredag 5 december 2014 Gamla bilder på Steve Jobs Från när han fick sparken från Apple Fotografen Doug Menuez berättar i det här klippet historien bakom fotografier som han tog på Apples grundare Steve Jobs efter han hade fått sparken från Apple och startat NeXT [wiki] 1985. Bilderna ingår i Menuez bok "Fearless Genius" vilket är en fotobok med undertiteln "The Digital Revolution in Silicon Valley 1985 - 2000". Ni kan höra Menuez snacka lite om sitt projekt och några av sina möten med vilka som var den tidens giganter i IT-världens Mekka. Tumnagel
37.3°
0
Fixa ljudet på din Mac Med Boom 2 Om du letar efter en equalizer till din Mac ska du slänga ett öga på Boom 2. Det är en mjukvara som gör tre saker, dels kan man ställa in EQ-värden, dels kan man boosta volymen och dels kan man lägga på lite effekter. När man startar första gången så ställer programmet själv in sig och så kan man justera det senare. En testversion som fungerar i sju dagar finns. Tumnagel
38.5°
0
OS X 10.10.2 närmar sig WIFI-problem i fokus Nytt operativsystem betyder oftast problem inom vissa områden och det stora problemområdet för Yosemite verkar helt klart vara WIFI. Apple försökte lösa problemen med 10.10.1 men misslyckades för fokus för 10.10.2 verkar helt och hållet vara just WIFI. Beta av uppdateringen finns ute nu så den lär komma till era datorer inom kort! Tumnagel
43.6°
0
Historien om OS X Vackert illustrerad Jag minns det som i går, de första versionerna av Mac OS X. De var fulla av förhoppningar och möjligheter och så fruktansvärt sega och jobbiga. Jag satt på en trött Powerbook och försökte köra Photoshop och varje moment tog hundra år. Men det var bättre än Mac OS 9 och Windows 95 ändå. Fabricio Rosa Marques har gjort en snabb och väldigt fint illustrerad version av OS X historia. Kila vidare på länken för att titta närmare. Tumnagel
38.8°
0
torsdag 4 december 2014 Steve Wozniak kommer till Stockholm nästa år Apple-grundaren ska delta i en konferens Applegrundaren Steve "Woz" Wozniak kommer nästa år att besöka Stockholm där han kommer att delta på konferensen "From Business to Buttons" [länk] där man bland annat kommer att diskutera användarvänlighet. Computer Sweden fick tag på Johan Berndtsson som är en av grundarna till företaget som anordnar konferensen och tydligen fick han tag på Woz via en gemensam bekant på LinkedIn. På frågan om varför man ville ha dit Woz säger Berndtsson till Computer Sweden: "I den digitaliseringstrend som pågår funderar många på hur de kan återuppfinna sin egen verksamhet för att möta framtiden. Frågan om innovation, särskilt i kombination med servicedesign och user experience, blir helt central. När det gäller just innovation så är han kanske den största levande auktoriteten. De produkter han tagit fram och det företag han var med och grundade har påverkat allas vår vardag från grunden." From Business to Buttons går av stapeln den 21:a april nästa år. Tumnagel
49.0°
0
Jimmy Iovine berättar lite om Apples köp av Beats Tog tydligen två år att övertala Apple om att det var ett bra köp För ett tag sedan så stod det klart att Apple köper företaget Beats. Innan köpet blev officiellt så ryktades det en hel del om det men om man får tro en av Beats grundare, Jimmy Iovine, så försökte han sälja företaget till Apple betydligt tidigare än så. Enligt honom så började han att försöka övertala Apple om att köpa Beats redan två år innan köpet blev av. I en intervju med GQ säger han nämligen följande: I convinced them that they had to buy this company. I said, “I don’t want to work for anybody else. I want to do this at Apple. I know I can achieve this at Apple. I don’t want to shop it. I wanna come here, to Steve’s company. I know you guys; I know what you’re capable of; I know you get popular culture. I know you have a hole in music right now; let me plug it.” I think it was two years before they said yeah. Nu återstår det att se vad Apple kan hitta på för kul med all teknik och kompetens företaget har. Den saken som väntas först är att Beats streamingtjänst för musik kommer att implementeras i iTunes under nästa år. Tumnagel
17.5°
0
Apple ska ha raderat musik på användares iPods All musik köpt på andra musiktjänster försvann I en rättegång som nu drar igång i USA så anklagas Apple för att medvetet ha raderat folks musik från deras iPods mellan åren 2007 till 2009. De är en så kallad ”class-action lawsuit” där flera användare går ihop och stämmer företaget som ”språkrör” för alla användare som kan ha råkat ut för detta. Stämningen är inte direkt ny men den har dragit ut på tiden något enormt och det är inte förrän nu som vi kommer att få höra vad Apple har att säga om det hela. Samt att vi får veta vad det faktiskt handlar om vilket är följande. Vad som skett är att användare under dessa år har fått felmeddelanden när de synkroniserat sina iPods med iTunes och därefter varit tvungna att återställa sin musikspelare. Under återställningen så har viss musik tagits bort och det är inte vilken musik som helst. Den musik som togs bort var den musik som användare hade köpt på andra musiktjänster än iTunes. Användarna vill ha ett skadestånd på 350 miljoner dollar men det är inte det enda problemet för Apple. Om det visar sig att Apple systematiskt raderat musik från andra musiktjänster så kommer detta att bli något för konkurrensverket att ta tag i. Tumnagel
17.0°
0
onsdag 3 december 2014 Apple får ej varumärkesskydda ordet App Store I Australien i alla fall År 2008 så ansökte Apple om att få ett varumärkesskydd på termen App Store i Australien. 2013 så fick de ett nej på denna ansökan men valde då att överklaga. Nu så har rätten sagt sitt om överklagan och även denna gång så får Apple ett nej. Enligt domstolen så är App Store ett för vitt begrepp som inte bara syftar på just Apples app-butik. Apples syn på det hela är att det var Apple som var först med att använda begreppet i detta sammanhang 2008. domstolen sade dock att även om det är sant så är orden i sig inte nya och de har sedan dess fått en mer allmän mening, därför kan Apple ej varumärkesskydda det hela. Tumnagel
67.9°
0
måndag 1 december 2014 Steve Jobs har tilldelats 141 patent sedan sin död En tredjedel av det han fått totalt Processen att få igen patent är oftast rätt seg, så seg att Steve Jobs har tilldelats hela 141 olika patent sedan sin död. Av det totala antalet han fått genom åren är det en relativt stor del, han hann få ihop 317 innan sin död och har numera alltså 458 totalt. Exakt hur mycket han har gjort på varje patent är såklart varierande, det verkar som att det ibland räckt med en åsikt eller lite synpunkter för att få stå med. Tumnagel
36.4°
0
fredag 28 november 2014 AirDrop kan ligga bakom wifi-problemen hos OS X och iOS Här kommer en fullösning om du har problem Är du en av de som haft problem med wifi på iOS 8 samt OS X Yosemite? Här kommer en möjlig förklaring samt kanske även en fullösning som kan vara något att använda tills Apple lyckas lösa det hela. Enligt en utvecklare vid namn Mario Ciabarra så beror problemen på AirDrop, eller närmare bestämt tekniken AWDL (Apple’s Wireless Direct Link) som AirDrop, AirPlay med mera bygger på. Enligt honom så kan man lösa problemet på sin iPhone om man har jailbreakat den. I så fall ska man ladda hem ett paket från Cydia som heter WiFried vilket kommer låta dig stänga av AWDL. Sitter du på OS X Yosemite och har problem så kan du i terminalen stänga av AWDL genom att skriva följande rad: sudo ifconfig awdl0 down Och om du vill sätta på det igen så skriver du: sudo ifconfig awdl0 up Bra med en fullösning men nu får Apple ta att ordna det hela tycker jag. Tumnagel
37.8°
0
torsdag 27 november 2014 Pixelmator går nu att köpa för halva priset Black Friday-erbjudande Har du varit sugen på att köpa Pixelmator men tyckt att 229 kronor är för dyrt så är det dags att hoppa in i App Store nu. I och med Black Friday så har skaparna nämligen sänkt priset på appen till Mac till 109 kronor för en tid framåt. Tumnagel
40.3°
0
Byt ut dockan mot uBar Intressant lösning Har du tröttnat på dockan i OS X? Då kan det vara läge att testa uBar. Den lägger sig där dockan brukar vara men istället för ikoner får man något som skulle kunna liknas vid tabbar. Man får snabb access till en apps fönster, en "startmeny", info om cpu och minne och massor med andra små funktioner. Jag är inte så säker på att det är den ultimata lösningen men rätt trevligt som alternativ. Kostar 20 dollar men det finns en fullt fungerande trial. Tumnagel
37.8°
0
Byt ikonerna på din Mac Med litet gratisprogram Vill du ändra ikonerna på din Mac? Personligen hatar jag den nya Finder-ikonen (och även den gamla om jag ska vara ärlig) och vill man ändra ikonerna på sin Mac finns det ett litet program som heter LiteIcon att använda. Bara dra-och-släpp för att sedan logga in och ut igen så är de där. Själv ska jag byta Finder-ikonen mot en fin på en MacBook Pro. Tumnagel
35.6°
0
Här är 4K-skärmarna som funkar med Mac Apple har gjort en, väldigt kort, lista 4K är det nya vill-ha på skrivbordet men vilka fungerar garanterat med din Mac? Apple har gjort en liten lista, som verkligen är liten, och nu finns även LGs nyligen lanserade skärm på den. För att köra 4K behöver du en ganska så ny Mac, här är den listan: MacBook Pro (Retina, hösten 2013 eller senare), Mac Pro (hösten 2013), iMac (27 tum, hösten 2013 eller senare) och Mac mini (hösten 2014). Skärmarna som har officiellt stöd är - Sharp PN-K321 - ASUS PQ321Q - Dell UP2414Q - Dell UP3214Q - Panasonic TC-L65WT600 - LG 31MU97 Den sista är alltså nykomlingen och den på bilden. Den har dock endast stöd för 4K vid 30 och 50 Hz. Tumnagel
35.7°
0
tisdag 25 november 2014 Apple nu värderat till 700 miljarder dollar Nästan dubbelt så mycket som tvåan på listan Apples börsvärde nådde idag en ny rekordnivå då företaget efter en aktieuppgång nu värderas till över 700 miljarder dollar. Det gör Apple till USA:s högst värderade företag och Apple värderas hela 300 miljarder högre än tvåan på listan, oljebolaget Exxon Mobil. Vissa analytiker har en riktkurs på 135 dollar för Apples aktie vilket skulle göra att företaget värderas till över 800 miljarder dollar om de förväntningarna slår in. Tumnagel
31.7°
0
fredag 21 november 2014 Apple släpper Yosemite 10.2 Beta Nu är det snabba ryck Här om dagen så kunde OS X Yosemite-användare uppdatera operativsystemet till 10.1 och hålla tummarna att detta skulle lösa de wifi-problem flera användare har haft. Jag har haft väldigt stora problem med wifi sedan jag uppdaterade till Yosemite så jag blev i alla fall väldigt glad av att denna uppdatering släpptes. Tyvärr så löste den inte mina problem och det verkar som att wifi-problemen är kvar även för flera andra användare. Tack och lov så släpper dock Apple redan idag en beta på Yosemite 10.2 så förhoppningsvis släpps det en ny version snart och förhoppningsvis löser den problemen. Har du problem med wifi på Yosemite? Tumnagel
37.2°
0
torsdag 20 november 2014 Apple börjar utveckla grejer i Lund? I Sony Mobiles gamla lokaler Nyhetsbyrån Rapidus uppger att Apple kommer att öppna kontor i Sony Mobiles gamla lokaler på Mobilvägen 10 i Lund. Efter det att Sony Mobile lämnade dessa tog kontorshotellet Mobile Heights Center över lokalerna, VD:n för Mobile Heights Center, Mats Ekstrand, säger till 8till5 att uppgifterna stämmer och han är givetvis rätt nöjd med det: "Jag kan bekräfta att de finns i huset. De har funnits här i några veckor. Det visar att vi har tänkt helt rätt. Det här hjälper oss också att bygga vårt varumärke." Rapidus uppger att Apple har tänkt att använda sina nya lokaler i Lund som ett utvecklingscenter vilket givetvis låter mycket spännande för Sverige i allmänhet och Lund samt Skåne i synnerhet. Tumnagel
63.3°
0
onsdag 19 november 2014 Nytt typsnitt för Apple Watch Med samma namn som ett riktigt gammalt Jag skrev tidigare att Apple lanserade WatchKit inatt, det vill säga utvecklarverktyg för att ta fram appar till Apples kommande klocka. Inuti dessa verktyg så kan vi även hitta ett nytt typsnitt vid namn San Francisco vilket är framtaget för att vara lättläsligt även på en liten skärm. Om du känner igen typsnittets namn så är det kanske inte så konstigt då Apple tidigare har haft ett typsnitt med samma namn. Det tidigare typsnittet med samma namn lanserades 1984 med den första Macen och så kanske inte lika fint ut. Tumnagel
39.7°
0
tisdag 11 november 2014 En halvtimma med Tim Cook Lyssna på när Apples VD intervjuas av Wall Street Journal I slutet av oktober intervjuade Wall Street Journal (WSJ) Apples VD Tim Cook på sin konferens "WSJD Live conference" och då pratade Cook bland annat om Apples kommande Apple Watch, det nyligen lanserade mobila betalningssystemet Apple Pay och lite annat. Nu har WSJ lagt upp den runt 30 minuter långa intervjun online och vill du ta del av den är det bara att klicka igång klippet ovan. Tumnagel
36.1°
0
måndag 10 november 2014 Bygg din egen Apple I Del 1 En orignalversion av Apple I, Apples första dator, går för stora pengar så det har man inte råd med. Men man kan faktiskt bygga sin egen om man har massor med dit och känner sig tillräckligt nördig, på ett härligt sätt. I det här avsnittet som är 19 minuter långt tas de första stegen mot en färdig dator. Tumnagel
37.3°
0
Ny film på Apple Campus 2 Apples kommande huvudkontor kommer att bli enormt. Här är en nytagen film från konstruktionsplatsen där Apples kommande huvudkontor Campus 2 kommer att stå klart i framtiden. Som synes har man sedan den förra videon nu börjat bygga en del byggnader på området efter det att man blev klar med grunden för några veckor sedan. Man räknar med att Apple Campus 2 kommer att stå klart i slutet av 2016 och då kommer runt 12.000 Apple-anställda att flytta in där. Tumnagel
41.4°
0
fredag 7 november 2014 Så har knapparna i datorns namnlist ändrats över tid En retroresa genom olika operativsystem Title bars, eller namnlister om man så vill, och dess knappar har sett ganska olika ut genom operativsystemens historia. Från det att Xerox Star år 1981 släpptes som det första grafiska användargränssnittet till dagens moderna varianter har utseendet ändrats på olika sätt och tittar man tillbaka på gamla bilder får man sig en skön nostalgitripp. Nu har Placeit på sin blogg gjort en lång och detaljerad sammanställning av olika operativsystem där de visar namnlisterna och knapparnas utseenden över tid och vi hittar bland annat bilder och fakta från Amiga, Commodore 64, Windows och MacOS. Tumnagel
38.9°
0
torsdag 6 november 2014 iPhone och iPad "förbjuds" i Ryssland Eller användandet av iCloud åtminstone Nästa år börjar en ny lag gälla i Ryssland som gör att molnbaserade tjänster måste lagra sin data på servrar som geografiskt befinner sig i Ryssland och detta kan ställa till problem för Apple vars tjänst iCloud för tillfället inte lagrar denna data i Ryssland för ryska användare. Om inte Apple fixar ett eller flera ryska datacenter så säger man att det kan leda till att Apple inte får sälja iPhones och iPads på den ryska marknaden. Den nya lagen kan även komma att påverka tjänster som Facebook och Twitter skriver man då även dessa lagrar ryska användares data utanför landets gränser. Den nya lagen kommer att börja gälla första januari 2015 och den ryske ombudsmannen för internet, Dmitry Marinichev, säger att han inte tror att Apple kommer att hinna öppna ryska datacenter tills dess. Tumnagel
19.9°
0
Pixelmator för Mac uppdateras Får stöd för handoff samt iMac 5K Här om veckan så släppte Pixelmator en iPad-version av den uppskattade bildbehandlaren för Mac. Nu är det dags för nästa släpp och denna gång så är det en uppdatering av Mac-versionen som bland annat ger oss möjligheten till ”handoff”, det vill säga att du kan börja på ett projekt på datorn för att sedan snabbt kunna fortsätta exakt där du var på iPaden om du måste bege dig. Detta betyder att Pixelmator även får stöd för iCloud Drive för att spara dina dokument i molnet. Andra nyheter är ett aningen omarbetat gränssnitt samt stöd för den nya iMacen med 5K-skärm. Pixelmator kostar som vanligt 229 kronor och om du redan har det så är uppdateringen gratis. Tumnagel
40.6°
0
Ändra font i OS X Yosemite För den som inte gillar Helvetica Har du uppdaterat till OS X Yosemite och redan tröttnat på att se Helvetica överallt hela dagarna? Kanske kan detta trick vara något för dig i så fall. Det går nämligen att hyfsat enkelt byta typsnittet som OS X. Ett sätt att ändra det hela på är att hoppa in på länken här för att ladda hem ett typsnitt vid namn Source Sans och följa instruktionerna hur du ändrar till det istället för Helvetica. Om du inte heller gillar det typsnittet så får du dock jobba lite till men det går att välja nästan vilket typsnitt du vill. Länken nedan tar dig till en Github-sida som går igenom allt du behöver göra för att modifiera vilket typsnitt du vill till något som OS X kommer tro är systemfonten. Tumnagel
38.2°
0
Mac App Store uppdateras Fö att matcha OS X Yosemite Apple har nyligen börjat rulla ut en uppdatering av Mac App Store så att designen på denna kommer att matcha designen på OS X Yosemite. Det vill säga att designen blir ”plattare”, vitare och inga friliggande boxar som ni kan se på bilderna. Om du ej redan har fått den nya designen så borde den dyka upp inom kort då flera användare runt om i världen har rapporterat att deras App Store uppdaterats. Tumnagel
42.2°
0
En tron för din Mac Pro Lägg den på sniskan Har du en Mac Pro och inte riktigt tycker att den är värd att helt enkel bara stå där på bordet? Då kan BookArc vara något för dig. Det är helt enkelt ett ställ som man kan lägga sin Mac Pro i och den enda praktiska fördelen är att man kan få plats med maskinen på lite annorlunda platser. Tumnagel
32.4°
0
onsdag 5 november 2014 Här är ScreenFlow 5 Många trevliga nyheter Ett program som jag verkligen gillar är ScreenFlow, ett väldigt lättanvänt men kraftfullt program som låter dig göra screencasts, det vill säga spela in din skärm på datorn. Telestream som utvecklar programmet har nu släppt version 5 av programmet och den versionen kommer med en hög nyheter. I dessa tre videoklipp ovan samt under kan ni få en snabb titt på de nyheter som implementerats. Har du redan ScreenFlow så kostar det 34 dollar att uppgradera och om du är ny kund så kostar det 99 dollar. Tumnagel
36.7°
0
tisdag 4 november 2014 Mer information om minnesmärket för Steve Jobs Var tydligen trasig redan innan Tim Cook kom ut Historien om minnesmärket för Steve Jobs utanför ett universitet i St Petersburg fortsätter. Firman som satte upp minnesmärket (och som plockade ner den) hade gått ut med en pressrelease som sa att man plockade ner det för att Tim Cook hade kommit ut som homosexuell och för att Apple enligt Edward Snowden skickar data till NSA. Nu kommer nya uppgifter om att skärmen på minnesmärket var trasigt redan innan Tim kom ut och att planen att plocka ner det redan var på gång. Varför man ändå gick ut med pressreleasen är oklart. Nu säger en representant för firman som äger minnesmärket att man skulle kunna tänka sig att sätta upp det igen om det skulle kunna hjälpa att "send a message to the US rejecting the use of Apple devices". Tumnagel
35.1°
0
Apple öppnar kontor i Seattle Vill bli bättre på det där med molnet Två stora företag som är rätt bra på det där med molntjänster, Amazon och Microsoft, håller till i Seattle och nu flyttar ett som kanske behöver bli en smula bättre dit - Apple. Kontoret ska redan ha slagit upp portarna och fokus ska ligga på "online infrastructure". Man har fått över några anställda från en startup som hette F5 Networks och verkar leta efter fler människor med nätverkskunskaper. Tumnagel
40.9°
0
Nästa sida + Per månad 39 kr Betala löpande per månad. Ingen bindningstid. Starta prenumeration Per år 299 kr Enklast och billigast, bara 25 kronor i månaden. Betala löpande per år. Ingen bindningstid. Prova 14 dagar gratis innan du bestämmer dig. Starta gratis provperiod Engångsköp 349 kr Slipp återkommande betalningar, betala ett år i taget. Betala med kort eller Swish. Köp utan prenumeration