Teknik Motor Samhälle Spel Popkultur Fritid Tjock Tester Dagens fråga Tipsa! Skaffa Feber+
Hetaste
Senaste
Alla Heta Kalla Öppna i ny flik tisdag 9 december 2014 fortsättning Det skickades fem miljarder SMS i Norge under året SMS:andet fortsätter att öka hos våra grannar Norrmännen slår rekord i sitt SMS:ande och i genomsnitt tror man att varje norrman kommer att skicka cirka 1.000 SMS under 2014. Totalt innebär det cirka fem miljarder SMS för 2014 och bara under oktober månad skickades det 451 miljoner SMS. Att SMS:andet fortsatt ökar trots att mycket av det som tidigare sköttes via SMS har flyttat över till sociala medier som Facebook, Twitter och liknande tror man delvis beror på att man sköta många tjänster med SMS nu för tiden. Man nämner tjänster som parkering, elbilsladdning och bankinloggningar som exempel på sådana. Tumnagel
39.0°
0
Uber stoppas i Thailand med Ny motgång för taxitjänsten Den amerikanska taxitjänsten Uber drabbades idag av ännu en motgång då man nu även förbjuds att köra sina bilar på den thailändska marknaden. Thailändska myndigheter anser att Ubers chaufförer ej är registrerade i något register, saknar försäkringar samt att deras betalningssystem bryter mot thailändsk lag. Senast igår blev det känt att Uber förbjöds att köra i den indiska huvudstaden New Delhi efter det att en av Ubers chaufförer ska ha utsatt en av Ubers kunder för ett våldtäktsförsök. Tumnagel
31.6°
0
Youtube uppdaterat på Apple TV Nytt gränssnitt, rekommendationer och reklam Äntligen har Youtube-appen fått sig en uppdatering på Apple TV och nu finns förutom ett nytt gränssnitt stöd för personliga rekommendationer, prenumerationer, musikvideos och så klart - reklam. Den nya appen ska rullas ut från och med i dag. Tumnagel
41.1°
0
Chromecaststöd på TV4 Play Streama smidigt från dator till TV För cirka två månader sedan bjöd TV4 in ett antal användare att betatesta deras stöd för Googles streamingsticka Chromecast och tydligen gick de testerna bra för nu släpper man TV4 Play med Chromecaststöd för Android. Det gör det möjligt att beama över alla program som visas på appen så att dessa visas direkt på TV-mottagaren om denna har en Chromecast inkopplad. Mathias Berg, kanaldirektör TV4-Gruppen, säger i ett pressmeddelande: "Chromecast-stöd är något som vi vet har legat väldigt högt upp på Androidanvändarnas önskelista. Det känns så klart bra att vi nu kan erbjuda det lagom till julledigheten. Vi har ambitionen att skruva upp förändringstakten och satsningarna på våra digitala tjänster och ser fram mot ett 2015 med många spännande nyheter." TV4 Play med Chromecaststöd går att ladda ner gratis på Google Play på länken nedan. TV4 säger att även iOS-appen kommer att få Chromecaststöd så småningom. Tumnagel
52.2°
0
ICA och Mastercard börjar med kontaktlösa betalningar Start under nästa år Det händer saker på betalningsfronten, under nästa år kommer ICA tillsammans med Mastercard att börja med kontaktlösa. Alla 500 000 ICA-kunder som har Mastercard kommer att få nya kort under året och när de fått de slipper de alltså stoppa ner kortet i maskinen utan att det räcker med att röra vid betalenheten. Alla butiker har i dag stöd för tjänsten, den är just nu avaktiverad men när det kommer igång är det bara att slå på funktionen centralt. Man kommer att behöva slå sin PIN-kod på belopp över 25 euro, alltså ungefär 235 kronor. Under det beloppet kommer troligen ingen PIN-kod att behövas. Det känns inte som att Apple Pay är så långt borta för ICA-kunder om man säger så... Tumnagel
71.5°
0
iOS App Store har valt ut årets spel Sverige i topp! Varje år uppmärksammar Apples App Store ett stort antal appar och spel de tyckte var bra under det gångna året. I år har vi två svenska topplaceringar där Monument Valley (iOS, 28kr) koras som årets iPad-spel och Leox27s Fortune (iOS, 22kr) blir fin tvåa i klassen årets iPhone-spel. Grattis grattis! Självklart finns det många fler svenska appar/spel listade så kika in på App Store och klicka på Best Of 2014-bannern om du vill se hur det gick i de andra klasserna eller vill se vilka 15 spel i Best Games-klassen det var som kom på delad tredje plats. Man måste välja iPhone eller iPad innan man klickar på bannern. Tumnagel
38.6°
0
Android Police utser iPad Air 2 till årets tablet Håller ni med? För ett tag sedan berömde jag iPad Air 2 och Sony Z3 Tablet Compact för att de båda är riktigt kompetenta och trevliga att ha och göra med. I deras julklappstipslista för i år listar David på Android Police iPad Air 2 som årets tablet. Och det är ju lite udda. Anledningen är, enligt honom, att det i princip inte finns en enda riktigt bra Android-tablet och när Nexus 9 kom och var en besvikelse fanns det bara iPad Air 2 kvar. Vad tycker ni, finns det en tablet som kör Android som är bra på riktigt? Tumnagel
51.8°
0
Ny app ska få dig att springa nya vägar Eller cykla, eller gå, eller vad du nu önskar Runbit är en app för den som vill ut och springa, cykla, rida, eller gå med vagnen och som vill hitta lite nya vägar. Istället för att hitta snabbaste vägen till ett mål sprider appen ut stjärnor på kartan som man sedan ska springa och ta. Enkelt, smart och det verkar ganska så roligt. Appen, eller apparna ska jag säga, är utvecklade av Anders Söderström och finns i dag för Android, iPhone och Windows Phone. Stöd för Android Wear finns redan nu och stöd för Apple Watch kommer senare. Snyggt är det också. Imponerande arbete av Anders måste jag säga! Snyggt jobbat! Tumnagel
48.6°
0
Nu släpps Android Studio Utvecklingsmiljö för Android Under Googles utvecklarkonferens Google I/O 2013 presenterade man en kommande utvecklingsmiljö för Android och nu verkar man äntligen ha färdigställt denna och släppt Android Studio i en 1.0-version. Android Studio innehåller diverse smarta kodningsfunktioner som till exempel "smart" kodredigering och det finns även verktyg för att designa gränssnitt för olika skärmstorlekar, prestandaanalys av apparna och lite annat. Fram tills nu har Google rekommenderat Androidutvecklare att använda verktyget Eclipse men nu har man även tagit fram ett verktyg som gör att utvecklare kan migrera sina projekt från Eclipse till Android Studio. Android Studio är gratis och går att ladda ner på länken här nedan. Tumnagel
60.5°
0
Ladda telefonen trådlöst tre gånger så snabbt Ny teknik kan innebära ett genombrott för trådlös laddning Trådlös laddning är något som både jag och många med mig vill gilla då det är otroligt smidigt. Eller rättare sagt, det skulle kunna vara otroligt smidigt. Tyvärr så är dock tekniken för trådlösa laddning idag inte helt bra vilket gör att det går enormt långsamt att ladda exempelvis en mobiltelefon. Det betyder dock inte att framtiden för trådlös laddning är körd och idag så kommer en väldigt trevlig nyhet för de som vill ladda sin mobil trådlöst i framtiden. Företaget Freescale har nämligen tagit fram en teknik som gör det möjligt att bygga en trådlös laddare som klarar av 15 Watt istället för de 5 Watt som dagens laddare klarar. Tyvärr räcker det inte bara med att köpa en ny laddare till sin telefon utan tillverkarna måste även bygga in Freescales mottagarchip i sina enheter innan det fungerar. Freescale säger att de kommer att ha färdiga produkter under första kvartalet av 2015 så om vi har tur kanske vi kan se telefoner och laddare i slutet av nästa år. Tumnagel
58.3°
0
Vita huset vill slippa selfies under stadsbesök Journalister får hålla sig på mattan Prins William är på besök i USA och träffade så klart Obama. Under mötet bad Vita huset pressen att inte ta selfies med de två herrarna. Önskan, som var vänlig men bestämd, kom efter att det tydligen hade spårat ur lite under Obamas möte med Frankrikes president François Hollande i februari där flera reportrar tog selfies och nu har Vita huset helt enkelt tröttnat. Tumnagel
50.7°
0
måndag 8 december 2014 Paul McCartney gillar inte att kidsen lyssnar på musik via mobilhögtalaren Tycker att ljudet är bedrövligt Den gamle Beatlesmedlemmen Paul McCartney säger i en intervju med brittiska The Guardian att han tycker att det är ett otyg att dagens ungdomar ofta lyssnar på musik via mobilens eller datorns högtalare. McCartney säger bland annat i intervjun: "Det har förändrats så snabbt. Många ungdomar lyssnar på musik via sina smartphones genom de där pyttesmå högtalarna. Jag sliter mitt hår och tänker ”argh, jag lade timmar på att få till hifi-ljud”. Skaffa anständiga hörlurar! Snälla." McCartneys förhoppning är att ungdomarna ska gå över till vinyl och börja lyssna på musiken genom anläggningar som gör den rätta när de blir lite äldre. McCartney är för tillfället aktuell med singeln "Hope for the future" som ni kan lyssna på ovan. Antagligen genom ett par datorhögtalare. Tumnagel
64.3°
0
Huawei skippar USA Satsar på Afrika och Mellanöstern istället Den kinesiska mobiltillverkaren Huawei uppges nu lämna den amerikanska marknaden för att istället fokusera på sin verksamhet i Afrika samt Mellanöstern. Anledningen till detta sägs vara för att man har anklagats att förse sina telefoner med så kallade bakdörrar som skulle göra det möjligt för kinesiska hackers att göra dataintrång i telefonerna. Detta är dock något som inte gått att få bekräftat. Afrikanska subsahara sägs vara den snabbast växkade mobiltelefonmarknaden i världen och Huawei ska vara näst störst på den marknaden för tillfället. På marknaden finns nu cirka 329 miljoner mobiltelefonsabonnenter men marknaden förväntas växa till en halv miljard till 2020. Tumnagel
46.3°
0
Marques Brownlee utser årets mobiltelefoner Mycket bra lista! Marques Brownlee, även känd som MKBHD, testar massa saker men framförallt testar han mobiltelefoner och när året nu snart är slut är det dags att utse årets telefoner. Marques är en mycket vettig man och utser vinnare i ett gäng olika kategorier och jag håller nog med honom i princip allt faktiskt. Hela listan med vinnare efter hoppet. Tumnagel
49.7°
0
söndag 7 december 2014 En titt på Androids historia Det har hänt en del... Android är inte speciellt gammalt, första publika versionen kom 2008, men det har hänt en hel del under åren. Nu är Android 5 här och det är väl dags för en återblick! Tumnagel
47.5°
0
fredag 5 december 2014 Android Ny version av AirDroid Kontrollera din mobil från datorn AirDroid, verktyget som gör att man kan styra sin Android-telefon direkt från datorn, har släppts i version 3.0 och med AirDroid 3 får man ännu mer kontroll över sin telefon direkt från sitt datortangentbord. Man har bland annat implementerat en funktion som man kallar för AirMirror vilket är en spegling av mobilens skärm direkt på datorns skärm. Notifieringarna på datorn ska även de ha förbättrats och det ska vara enklare att avvisa telefonsamtal, besvara SMS och liknande. Förutom detta så ska även Android-delen av appen ha fått vissa gränssnittsförändringar. Appen hittas gratis på Google Play här och klienten till OS X eller Windows hittas även den gratis på AirDroids sajt här. Tumnagel
49.2°
0
Facebook släpper ny version av Slingshot Deras snapchatklon I somras släppte Facebook appen Slingshot som man väl närmast skulle kunna kalla en klon av meddelande/sexting-appen Snapchat, det vill säga man skickar ett meddelande till någon och detta försvinner när mottagaren har tittat på det. Nu har man släppt en ny version av Slingshot där man nu har uppgraderat gränssnittet så att det blir möjligt att skicka meddelanden som innehåller text, bild eller video med endast två klicka. Vidare har man implementerat delningsfunktioner som gör att man kan dela materialet i andra sociala medier, dock kommer materialet fortsatt bara finnas tillgängligt i högst 24 timmar. Slingshot är gratis och hittas till iOS i App Store här och till Android på Google Play här. Tumnagel
32.9°
0
iOS Aaron Paul släpper appen YB Yo Bitch! Aaron Paul, skådespelaren som antagligen är mest känd för sin karaktär Jesse Pinkman från TV-serien Breaking Bad, ger sig nu in på appmarknaden då han släpper appen YB till iOS. Det handlar om en meddelandeapp som inte är helt likt appen YO som blev populär tidigare i år. Med appen kan man skicka meddelanden som läses upp med Pauls röst och det går att välja mellan ett antal fördefinierade fraser som i stort sett alla avslutas med ordet "bitch". Appen är gratis och hittas till iOS på länken nedan. Här nedan hittas även en mashup från Breaking Bad där Jesse Pinkman säger bitch fler gånger än vad jag orkar räkna. Tumnagel
36.1°
0
Cortana har lärt sig lite nya språk Windows Phones digitala assistent finns nu på fem fler språk Microsoft skriver på sin Windows-blogg att Windows Phones digitala assistent Cortana, det vill säga deras motsvarighet till iOS Siri, har fått stöd för ytterligare fyra stycken språk. Det handlar om tyska, italienska, franska samt spanska som finns tillgänglig i en alfaversion för Windows Phoneutvecklare och som förhoppningsvis letar sig ut till alla WP-användare inom kort. Förutom det så har man lärt Cortana lite om julen och den kan nu förstå och besvara följande julrelaterade fraser: Do you like Christmas? Happy Christmas! Tell me a Christmas Cracker Joke Do you want anything from Santa? On the first day of Christmas Humbug! Do you want anything from Santa? Happy Hanukkah Happy Kwanzaa Happy holidays Tumnagel
43.1°
0
torsdag 4 december 2014 Det här händer om man använder GPS på ett flygplan Hinner inte riktigt med Här kan ni kolla in hur det ser ut som man försöker följa ett flygplans rutt via mobilens GPS och kartfunktion. Flygplanet har en marchfart på runt 650 kilometer i timman och som synes så hänger inte mobilen GPS:s riktigt med i den hastigheten. Tumnagel
39.2°
0
iOS/Android Släppt till mobil idag: Shadowrun: Dragonfall Regissören har saxat fram det absolut bästa i den här kampanjen Shadowrun: Dragonfall - Director’s Cut är en ännu bättre version av Harebrained Schemes hyllade Dragonfall-kampanj. Spelet, ett turbaserat strategispel där cyberpunk möter fantasy, har 17 uppdrag med timtals av speltid (20+). I spelet leder du ett team av "shadowrunners", alla med unika egenskaper och personligheter vars talanger förbättras ju mer du använder dom. Shadowrun: Dragonfall - Director’s Cut är krävande grafikmässigt men behöver också en större skärm så för iOS är iPad 3 eller senare rekommenderat att använda. För Android är rekommendationen att enheten är "nyare" och har mer än 512MB i RAM. Spelet tar 1.6GB av minnet. [iPad (49kr)] [Google Play (53kr)] Tumnagel
38.2°
0
iOS Bean Dreams har hoppat in på App Store Kul med böna Bean Dreams är utvecklat av samma gäng, Kumobius, som gjorde Duet och första bönspelet Beans Quest, två riktigt fina titlar. Bean Dreams är ett actionladdat plattfomsspel i åtta världar och 48 banor i vilka du hoppar framåt i med din böna. Varje hopp räknas så det är bra om man hoppar effektivt och rätt för då får man en medalj. I varje bana finns det även frukt och en axolotl, en mexikansk salamander, att plocka och försöka hitta. Bönan med sin sombrero hittar du här till iOS till priset av 22kr. Tumnagel
36.8°
0
Skriv 130 ord i minuten på din iPhone Nytt tangentbord utlovar hög skrivhastighet Efter att Apple släppt lös möjligheten att installera tredjepartstangentbord på iOS så har det kommit en hel hög sådana och vissa av dem är riktigt bra. Här har vi ett tangentbord vid namn Nintype som nu går att ladda hem för 38 kronor och är specialframtaget för att låta användaren skriva så fort som möjligt. Nintype fungerar lite som Swype där du kan dra fingret istället för att ”klicka” på varje tangent, skillnaden är dock att Nintype låter dig dra två fingrar samtidigt samt blandar in en hel del andra funktioner. Enligt skaparna så kan man med deras tangentbord skriva hela 130 ord per minut om man övar lite. För att öva så har de även byggt in ett litet minispel som ska göra att man får koll på tekniken. Sist men inte minst, tangentbordet har stöd för svenska. Här nedan kan ni se vad MacRumors tyckte när de testade Nintype. Tumnagel
37.6°
0
Android The Sleeping Prince är släppt till Android Tilting Points prinskastarspel roar kungligt Det klart underhållande pusselspelet The Sleeping Prince har nu släppts till Android. Spelet finns redan till iOS och handlar om att i över 40 banor kasta runt en tungt sovande prins för att i slutändan befria en prinsessa och häva den förtrollning som vilar över riket. Spelet är av typen Free2Play och går att hämta hem här. Tumnagel
37.3°
0
iOS Game Of Thrones finns nu på App Store Följer familj med starka band Tidigare i veckan har Telltales Game Of Thrones dykt upp på PC, Mac, Xbox One, Xbox 360 och PS4. Idag är det alltså iOS tur och det är första delen av sex som släppts. Spelets berättelse fokuserar på Forrester-familjen och det är du som bestämmer hur det skall gå för de olika familjemedlemmarna genom dina val och beslut och handlingar du utför. [iOS (38kr)] Tumnagel
36.5°
0
iOS Tomb Raider II har släppts till iOS Hej hästsvans! För 17 år sedan dök Lara Croft upp igen i Tomb Raider II (PC/PS). Det blev en dundersuccé minst sagt då vilken nu alltså går att spela/återuppleva på din iPhone/iPad. Så kasta dig in i detta storslagna äventyr där jakten på Dagger of Xian kan börja. Spelkontrollerna i det första spelet var lite sisådär men det verkar som om Square Enix lyckats något bättre i detta spelet om man får döma av reaktionerna. Annars åker väl MFIn på. Tomb Raider II kostar 15 kr och hittas här. Tumnagel
39.3°
0
onsdag 3 december 2014 iOS/Android Rival Kingdoms dyker upp nästa år till mobilen För oss som gillar Clash of Clans Space Ape Games, som ligger bakom spel som Samurai Siege kommer snart att släppa ett nytt spel, en multiplayer-fokuserad RTS med fantasy-tema kallad Rival Kingdoms. Spelets bakgrundsstory och karaktärer är skapade av Rhianna Pratchett som bland annat jobbat med nyaste Tomb Raider-spelet (2013). Förutom att berätta en bra story kommer Rival Kingdoms också att erbjuda guild-baserat spel så att du som spelare skall kunna känna att du är en del av en större armé, en allians. Space Ape utlovar dessutom mer action och mindre tappande på skärmen. Du kan redan nu registrera dig för spelet här. Rival Kingdoms släpps någon gång i början av 2015 till iOS och Android. Tumnagel
35.7°
0
Truecaller har nu 100 miljoner användare Många vill veta vem som ringer Svenska Truecaller, företaget bakom appen med samma namn, meddelade idag att deras app nu används av över 100 miljoner registrerade användare. Det får man väl säga är en mycket imponerande siffra givet att appen hade 10 miljoner registrerade användare i slutet av januari 2013. För att fira det så har man implementerat lite nya grejer i appen och nu har man bland annat försett den med en funktion som försöker förutspå vem du ska ringa upp. Det vill säga att om man till exempel ofta ringer din partner när man är på väg hem från jobbet så får man det som ett förslag om man tar upp telefonen för att ringa vid den tiden. Förslagen baseras på samtalshistoriken, tid, plats samt vilka man oftast brukar kommunicera med. Funktionen med föreslagna kontakter verkar bara vara tillgänglig i Truecaller för Android som hittas gratis på Google Play här. Appen finns även till iOS i App Store här och Windows Phone i Windows Phone Store här. Tumnagel
47.8°
0
HTC fortsätter att satsa på kameror Släpper minst en till kamera nästa år För inte alls länge sedan så släppte HTC en actionkamera vid namn Re Camera som ser ut som ett litet periskop och tydligen så var det inte en engångshändelse. På en konferens i Taiwan så pratade Jack Tong från HTC om kameran och meddelade då att företaget kommer att släppa minst en till kamera under nästa år. Troligen så är detta ett test för att försöka hitta ett nytt affärsområde då mobilmarknaden inte växer lika mycket längre samt att det inte går så bra för HTC där längre. Tumnagel
38.7°
0
Apple anklagas för att ha snott iPhone 6-designen Kinesisk tillverkare säger att de var först Det är inte helt ovanligt att vi får se högar av kinesiska kopior ganska snart efter att Apple lanserar en ny telefon. Något som dock är mer ovanligt är att en kinesisk tillverkare anklagar Apple för att ha kopierat designen på deras telefon. Företaget heter Digione och de ansökte om patent på sin telefon i januari i år, fick det godkänt i juli innan Apple lanserade iPhone 6 och i september så skrev de ett brev till Apple om det hela. Tydligen så har brevet inte lett till någonting så nu går de ut med det hela officiellt, troligen i hopp om att till slut få lite pengar av Apple. Tumnagel
52.5°
0
iOS Mail to Self Maila komihåglappar till dig själv Mail to Self är en smidig liten app till iOS för alla oss som brukar maila mer eller mindre viktiga saker vi vill komma ihåg. Efter man installerat appen och registrerat sin epostadress lägger sig denna som ett delningsalternativ i de appar som använder iOS standarddelningsfunktion. Det gör att man snabbt kan skicka till exempel webbadresser från webbläsaren och annat från andra appar som stödjer standarddelningsfunktionen. Det går även att maila det senaste man kopierat och har liggande i iOS urklipp. Mail to Self hittas gratis på App Store på länken nedan. Tumnagel
38.4°
0
Android Run Sackboy! Run! springer nu även på Android Bra spring i de små stickade benen Run Sackboy! Run! är en oändlig springare med Sackboy från LittleBigPlanet som nu går att spela på Android också. För ett litet tag sedan fick iOS spelet. I spelet skall du alltså springa för att komma undan Goo och den tjurige Negativitron i tre stycken tjusiga världar med olika tema. I spelet kan du byta kostymer på din Sackboy, samla på klistermärken samt låsa upp fina priser. Du kan även utmana och tävla mot dina vänner. [Google Play (gratis)] Tumnagel
38.4°
0
YotaPhone 2 är nu här Börjar säljas i London idag I februari på Mobile world Congress så visades det upp en andra version av YotaPhone och namnet på den nya telefonen på den nya telefonen blev enkelt nog YotaPhone 2. Då meddelade företaget att telefonen skulle släppas i december så de som var sugna fick snällt vänta i tio månader. Nu har det gått tio månader och telefonen är äntligen officiell. Telefonen är en androidtelefon med dubbla skärmar där vi på framsidan hittar en fem tum stor AMOLED-skärm och på baksidan hittar något så kul som en 4,7 tum stor e-ink-skärm. Den bakre skärmen kan konstant visa klockan, enkel information med mera utan att det drar massor med batteri, något som gör denna telefon unik. Inuti telefonen så sitter en Snapdragon 800-processor, 32GB lagringsminne och kameran på baksidan har en sensor på åtta megapixel. Om du är sugen på att köpa telefonen så öppnar YotaPhone idag en flaggskeppsbutik i London där den kommer att gå att köpa. Om och i så fall när telefonen sedan släpps i resten av Europa är oklart. Här nedan kan du se vad man kan ha en e-ink-skärm med pek-funktion på baksidan till. Tumnagel
44.6°
0
iOS/Android Bygg ihop en flickvän i Love You to Bits Jakten på komponenter till kärleken tar dig runt i hela galaxen. Tiny Thief var ett skojigt spel från 5Ants som släpptes förra året på Rovio Stars. Nu har några utvecklare från 5Ants gått vidare och bildat Alike Studios som har et spel på gång, inte helt olikt Tiny Thief. Spelet Love You to Bits handlar om en pojke någonstans i kosmos och han ägnar sin tid åt att utforska planeter för att kunna rädda och bygga ihop sin kärlek, en robottjej som tydligen sprängts i bitar. Detta peka- och klicka-äventyr är fyllt med pussel, möten med aliens och gömda bitar av robotflickvän. Spelet kommer att landa först på vår egen planet någonstans i närheten av början av 2015. Även PC & Mac kommer att få spelet. Tumnagel
39.2°
0
iOS/Android Peggle Blast finns nu till mobilen Möt Fnord! PopCaps Peggle Blast finns nu på App Store [iOS] och Google Play. Spelet är gratis att ladda hem och som tidigare handlar det om att precisionsskjuta en liten kula så att varje banas "pegs" försvinner. Hur kul som helst! Det verkar finnas lite nya sociala funktioner i spelet vilket är ganska förväntat. I spelet kan du tränas av och tävla emot mästarna. Här finns åtminstone en ny mästare, den goda enhörningens Bjorn mörka motsats och tillika bror, Fnord. Tumnagel
37.0°
0
tisdag 2 december 2014 iOS/Android Invictus släpper nytt mobilspel i morgon Dustoff Vietnam erbjuder helikopter-action I Dustoff Vietnam flyger du helikoptrar med varierande uppdrag att utföra som att frakta grejer, rädda folk och stoppa fiendekonvojer. Världen ser ganska Minecraftig ut och det ser inte dumt ut alls. Det finns 16 uppdrag att utföra och tre olika helikoptrar att hantera. Spelet släpps alltså i morgon till iOS och Android enligt trailern. Uppdatering: Spelet finns redan till Android Invictus Games har även ett till spel på gång. GiveItUP är en autospringare där en svarta plupp rör sig framåt i en bana med plattformar, gröna och röda sådana. Pluppen gillar bara gröna plattformar och måste hoppa i takt med musiken. Plattform röd = Plupp död. Släpp den 18 december. Se trailer efter hoppet nedan. Tumnagel
36.6°
0
Smartphone-marknaden snart mättad IDC förutspår minskad ökning IDC har släppt lite siffror om hur de tror att marknaden för smartphones kommer att se ut kommande år och enligt de så ser det lite smådystert ut. I år så så har det skeppats ut 1 287 miljoner smarta telefoner och vi hittar Android på 82,3 procent av de enheterna. iOS står för 13,8 procent av de enheterna och på 2,7 procent av telefonerna hittar vi Windows Phone. Det är en total ökning på 26,3 procent jämfört med 2013 men IDC tror dock att det inte kommer att fortsätta så kommande år IDC förutspår nämligen att marknaden kommer att öka med 12 procent under nästa år och sedan runt 10 procent per år fram tills 2018, alltså betydligt långsammare ökning än tidigare. Anledningen enligt IDC är att allt fler personer redan har smarta telefoner och att man byter allt mer sällan. Tumnagel
45.9°
0
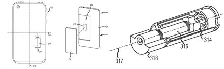
Apple-patent visar teknik som får telefoner att falla "rätt" Ser till att telefonen inte ramlar med skärmen nedåt Att tappa sin telefon kan vara en skrämmande händelse då dagens telefoner lätt kan få en sprucken skärm bara telefonen landar lite fel. Detta är förstås något som telefontillverkare med flera är medvetna om och det är därför vi har företag som Corner vilka ligger bakom Gorilla Glass. Här kan vi se ett patent som Apple ansökte om för ett par år sedan men som nu också blivit godkänt som vill lösa problemet på ett lite udda sätt. Patentet visar en teknik där telefonens vibrator samt accelerometer jobbar tillsammans för att se till så att telefonen ramlar med des tåligaste sida nedåt. Accelerometern känner av hur telefonen tappas och telefonen räknar med den informationen ut vilken sida av telefonen som kommer att slå i marken först. När uträkningarna är klara så använder sig mjukvaran av telefonens vibrator för att ändra på hur telefonen faller så att den ramlar med den tåligaste sidan nedåt. Tumnagel
70.4°
0
Det bästa för Android från 2014 Enligt Google Året är snart slut och nu sammanfattar Google årets bästa appar - enligt dem. Personligen tycker jag väl att listan är så där och skulle mycket hellre vilja veta vilka appar som är årets appar enligt er. Några appar som jag använt mycket i år är Hello SMS, Pocket cast och Red Reader. Tumnagel
38.5°
0
Inte ens 0.1% har uppdaterat till Lollipop Android 5.0 är knappast "här" Jag har precis fått Android 5 till min Nexustelefon men det är inte många andra som har fått möjligheten att prova Googles nya operativsystem. När Google visade upp de senaste siffrorna var inte Android 5 ens med och det betyder att inte ens 0.1% har uppdaterat, vilket ska ställas i relation till att vi tycker det är dåligt att bara 60% av iOS-användarna har uppdaterat till iOS 8. Många tillverkare verkar, eller säger sig i alla fall vara, mer sugna på att uppdatera sin hårdvara än någonsin tidigare men det lär först sätta fart efter årsskiftet. Tumnagel
26.6°
0
MKBHD testar Nexus 9 Meh Googles/HTCs tablet Nexus 9 var efterlängtad men när recensionerna kom blev många lite besvikna, man hade hoppats på mer. Här får vi se vad Marques Brownlee tycker om tableten. Hårdvaran får ett stort "meh" och man kan nog konstatera att om den här inte hade haft en ren version av Android 5 Lollipop hade ingen brytt sig om denna alls. Tumnagel
38.3°
0
måndag 1 december 2014 Huawei kommer inte att återvända till Windows Phone "Ingen tjänar pengar på Windows Phone" I en intervju i Seattle Times tar Huawei upp frågan om man kommer att göra någon mer telefon med Windows Phone och det raka svaret är att man inte kommer att göra det som det ser ut nu. "We didn’t make any money in Windows Phone. Nobody made any money in Windows Phone." Det var väl kanske inte helt oväntat men ändå lite tråkigt. Tumnagel
36.4°
0
Microsoft köper epostföretaget Acompli Appar för eposthantering till iOS och Android Microsoft meddelade precis via sin blogg att man köper upp startupföretaget som Acompli som tagit fram en app för att hantera epost på iOS och Android. Detta är antagligen ännu ett tecken på att Microsoft nu går all in på att stödja fler mobila plattformar än sin egen Windows Phone och man har sedan tidigare lanserat Office-appar till iOS och Android. Microsoft skriver att Acomplis nuvarande appar inte kommer att försvinna utan kommer att finnas kvar i appbutikerna som tidigare. Att det kommer att dyka upp en Acompli-app även till Windows Phone är väl dock ingen vild gissning. Microsoft uppger inte vad man betalat för Acompli men Recode har tidigare skrivit att det rör sig om över 200 miljoner dollar. Tumnagel
39.9°
0
Nästa år kan man få böter direkt vid mobilanvändning i bilen Underlättar för polisen Aftonbladet skriver att polisen nästa år kommer att kunna ge bilister som använder mobilen på ett oaktsamt sätt i bilen böter direkt på plats, något som välkomnas av polisen och antagligen kommer att underlätta deras arbete. Som det är nu, tack vare att den nuvarande lagen anses något luddigt skriven, har en åklagare varit tvungen att dela ut böter till bilisterna via ett så kallat strafföreläggande. Hans-Yngve Berg, trafiksäkerhetsanalytiker på Transportstyrelsen, säger till Aftonbladet att många poliser därför avvaktat med att rapportera in bilister för oaktsam mobilanvändning då de varit osäkra på om rapporten skulle hålla i en domstol. Inom kort ska Riksåklagaren och rikspolisstyrelsen besluta om att polisen ska kunna dela ut på böter direkt på plats vilket antagligen kommer att leda till att fler bilister kommer att bötfällas för denna typen av förseelser. Sedan lagen började gälla första december 2013 har 80 fall av oaktsam mobilanvändning rapporterats, hur många av dessa som blivit bötfällda framgår inte. Tumnagel
72.8°
0
PuzzlePhone - modulär telefon från Finland Byt ut delar av telefonen när du vill uppgradera Vi har sett lite olika varianter av modulära telefonkoncept det senaste året var av antagligen Googlesponsrade Project Ara är det som både har rönt mest uppmärksamhet och kommit längst i utvecklingen. PuzzlePhone från företaget Circular Devices i Finland är ytterligare ett sådant koncept som hoppas kunna göra sin debut på marknaden nästa år. Till skillnad från Project Ara består PusslePhone av endast tre stycken moduler (se bild nedan), något som antagligen gör den något robustare än Ara men givetvis så minskar även antalet kombinationer som man kan sätta ihop telefonen på. Man kallar de tre modulerna för Ryggrad, vilken består av chassit, skärmen och högtalare, Hjärtat som är batteriet och lite andra elektriska komponenter samt Hjärnan som är telefonens telefonens processor och kameramodul. Det verkar som om man kommer att satsa på att ta fram PuzzlePhone i tre olika storleksmodeller, okänt vilka, och The Verge skriver att Circular Devices siktar på att släppa åtminstone en av dessa modeller någon gång under 2015:s andra hälft. The Verge skriver även att PuzzlePhone initialt kommer att köra Android men att man är öppen för att även köra andra operativsystem på den i framtiden. Tumnagel
59.1°
0
Läckt bild på kommande Lumia-telefon Med gigantiskt kamera Från någon anonym källa i Kina har det läckt ut bilder på något som ser ut att vara en efterföljare till Lumia 1020. Det man genast lägger märke till är den enorma utbuktningen för telefonens kamera på baksidan, något som indikerar att kameran antagligen är i klass med Lumia 1020:s 41 megapixlar, kanske ännu högre. Vidare sägs det att den läckta telefonen kör Windows Phone 8.1, har 2GB RAM samt en fem tum stor skärm med 1080p-upplösning. Nokia lanserad Lumia 1020 sommaren 2013 så att en efterföljare snart är på gång låter antagligen inte helt ologiskt. Tumnagel
40.3°
0
TZOA håller koll på luftföroreningar Kollas via mobilen TZOA är en liten bärbar sensor som säger sig kunna hålla koll på hur luftföroreningar och annat i användarens närhet ser ut. Med TZOA ska det bli möjligt att via den tillhörande mobilappen hålla koll på luftkvaliteten, uv-strålningen, temperaturen samt luftfuktigheten. Datan som TZOA registrerar laddas sedan upp till molnet och med hjälp av andra TZOA-användare är tanken att man ska skapa en slags crowdsourcad karta över hur luftföroreningarna ser ut i närområdet. Gänget bakom TZOA hoppas nu få ihop 100.000 dollar via Kickstarter och om det lyckas så tror man att man kan börja tillverka sensorerna någon gång under sommaren 2015. Runt 150 dollar tros en TZOA kosta när den väl finns på marknaden. Tumnagel
40.1°
0
söndag 30 november 2014 1 of the 9 har har samlat ihop bilder på 545 stycken böjda iPhone 6 #BendGate I samband med att iPhone 6 och iPhone 6 Plus släpptes tidigare i år så blev det en hel del, onödigt mycket i mina ögon, skriverier om att några av användarna hade lyckats böja sina nyinförskaffade iPhones på olika sätt. Då kommenterade Apples Phil Schiller det med att man hade fått in nio stycken rapporter om böjda iPhones efter öppningshelgen och att man samtidigt sålt fyra miljoner exemplar av de båda modellerna. Det vill säga "no biggie" som det heter på engelska. Det har sajten "1 of the 9" dragit lite nytta av när man döpt sin sajt där man samlar in bilder från användare runt om i världen som har lyckats att böja sina iPhone 6. Till dags dato har man fått in bilder på 545 stycken böjda iPhone 6 och iPhone 6 Plus vilket jag antar är förhållandevis få med tanke på de tiotals miljoner iPhone 6 Apple har sålt sedan modellen släpptes. Har du lyckats böja din iPhone 6/iPhone 6 Plus? Svara gärna på vår enkät nedan och om så skulle vara fallet berätta gärna kort om hur det gick till i kommentarerna om du orkar. Tumnagel
36.8°
0
Nytt rykte om Samsung A7 Har dykt upp hos FCC Det har ryktats ett tag om att samsung kommer att släppa en telefon vid namn Galaxy A7 vilken skulle bli toppmodellen i A-serien över A3 och A5. Nu har telefonen dykt upp hos FCC och det gör att några av dess omryktade specifikationer har blivit bekräftade. I dokumenten från FCC så kan vi läsa att att telefonen får NFC samt LTE och att den är 150 x 75 millimeter stor, något som passar med ryktet om en 5,2 tum stor skärm. Tidigare rykten säger att telefonen får en 64-bitars Snapdragon 615-processor med åtta kärnor, 2GB RAM-minne, en tolvmegapixelskamera på baksidan samt en bättre kamera än normalt framtill för bättre selfies. Sist men inte minst så är det trevligaste ryktet att den kommer att byggas i metall. Då den dykt upp hos FCC nu så borde det inte vara lång tid kvar till Samsung presenterar modellen, min gissning är att de presenterar den strax före CES-mässan i januari. Tumnagel
36.1°
0
Ladda mobilen med 9v-batteri Om du behöver lite extra kraft Jag har av någon anledning skrivit väldigt mycket om olika lösningar för att fylla på batteriet i sin mobil om man är hemifrån på senaste. Kanske har det att göra med att jag gått från en iPhone 6 Plus till en iPhone 6 och märkt hur extremt mycket sämre batteritid den har. Hur som så kommer här ännu en ganska smart lösning för den som aldrig lyckas hålla sina extrabatterier laddade. Här har vi Plan V, en liten pryl du kan ha på nyckelknippan och om du behöver el så vecklar du ut den, kopplar in den i din telefon och kopplar på ett niovoltsbatteri. Det gör att du inte behöver hålla ett batteri laddat, du kan ha ett 9v-batteri i väskan istället eller till och med en hög om du ska vara borta länge. Plan V lanseras som mycket annat numera via Kickstarter och hittills har skaparna fått ihop 16 000 av deras mål på 30 000 australienska dollar. Vill du stötta projektet så kan du förbeställa en Plan V för 15 australienska dollar. Just nu så kan du bara köpa versioner med Micro-USB men om kampanjen lyckas så tänker de orda en för iPhone med. Tumnagel
43.9°
0
Fixa dejten direkt i klockan Dejtingsajt lanserar Android Wear-app Dejtingsajten Match.com flyttar nu in i klockan när man som första dejtingsajt i världen gör det möjligt för sina medlemmar att ta kontakt med varandra via en app till smartwatches som kör Android Wear. Med appen blir det möjligt för den dejtingsugne att leta efter och kontakta potentiella dejter samt att ta emot och svara på meddelande. Stephane Lebas som är produktchef på Match.com säger i ett pressmeddelande: "Det har varit ett väldigt roligt och intensivt projekt där vårt mobil-team samarbetat tätt med Google genom hela processen. Match.coms Android Wear-app är vårt första steg i arbetet med att ta dejting till wearables-marknaden, vilket är en plattform som vi tror kommer att spela en stor roll i framtidens dejting". Appen finns än så länge bara tillgänglig på engelska men fungerar i Sverige. Den hittas gratis på Google Play på länken nedan. Tumnagel
36.2°
0
fredag 28 november 2014 Genomgång av både CarPlay och Android Auto Android vinner det här va? CarPlay och Android Auto känns som att det kommer stort i år och det är verkligen på tiden. I den här videon ser vi genomgångar av de båda systemen i en och samma bil vilket ger en bra jämförelse. Personligen tycker jag att Googles system är både snyggare och bättre, vad tycker ni? Tumnagel
50.6°
0
Com Hem bommade att uppdatera Tivo ToGo för Android Går ej att använda med Android Lollipop Dagens Industri skriver att kabeltv-operatören Com Hem har missat att uppdatera Tivo ToGo, det vill säga den mobila tjänsten av Tivo, så att denna är kompatibel med den senaste versionen av Android, Android Lollipop (5.0). Det gör att kunder som har uppdaterat sina Androider till Lollipop, eller köpt en helt ny Android-tablet med detta förinstallerat, inte längre kan använda Tivo ToGo. Det har gjort att Com Hem nu blivit anmälda till Allmänna reklamationsnämnden för att inte ha informerat sina kunder i tid om att Tivo ToGo inte skulle fungera med Lollipop. På sin hemsida skriver Com Hem man att en uppdatering av Tivo ToGo är på gång i slutet av december och då ska tjänsten även fungera med Android Lollipop. Vidare skriver man: "En ny version av Android, Android Lollipop, är på väg ut på marknaden. Googles Nexus-enheter har redan börjat få Lollipop, men vi räknar med att den stora merparten tillverkare kommer rulla ut den nya mjukvaran runt januari 2015. Ni som tittar på TiVoToGo™ genom en Androidtelefon eller surfplatta kan känna er lugna, TiVoToGo kommer att fungera med Android Lollipop." Tumnagel
13.1°
0
Fejkfinger håller din tablet aktiv Om du spelar spel som måste hållas aktiva Detta kan vara en av de mer nischade produkter jag har sett på Kickstarter på länge men för vissa så kanske detta är precis vad man saknar i livet. 6thfinger är en liten aluminiumpuck som du kopplar till hörlursuttaget på din tablet och sedan lägger på skärmen där den simulerar några slumpade fingerrörelser till och från. Så vad är detta bra för då? Jo, för strategispel som kräver att du är aktiv för att du ska kunna ta dig vidare. Så om du spelar sådana spel men ibland vill lämna din tablet och faktiskt umgås med folk eller laga mat så kanske en sådan här produkt kan vara något för dig. 6thfinger kostar 18 dollar just nu och då förväntas du få produkten levererad i januari nästa år. Gänget bakom 6thfinger vill få ihop 8 000 dollar för att ha råd att massproducera produkten och på en vecka så har de dragit in strax över 6 000 dollar så chansen är hyfsat stor att projektet blir av. Ni hitter deras kickstartervideo efter hoppet. Tumnagel
29.4°
0
Nu finns Expressen i klockan Först men sparsamt Android Wear har knappt kommit ut i handeln men Expressen har redan släppt stöd för enheten och som ni ser på bilderna så fungerar det fint, om än sparsamt. Man installerar helt enkelt deras app på telefonen och då får man samtidigt appen på klockan. Det går fint att läsa rubriker på de senaste artiklarna och läsa själva artiklarna men inga bilder verkar finnas än så länge. Tumnagel
23.8°
0
Köp en OnePlus One i helgen Ingen invite krävs tills på söndag Har du varit sugen på att köpa en OnePlus One men har inte lyckats få någon inbjudan för att få köpa en telefon? I så fall kommer du att gilla denna nyhet. OnePlus går nämligen ut med att de fram tills på söndag kommer att låta vem som helst att köpa deras telefon, i alla fall så länge lagret räcker. En vit 16GB OnePlus One kostar 300 dollar och om du vill ha en svart telefon med 64GB minne så får du ge 350 dollar. Tumnagel
49.2°
0
torsdag 27 november 2014 Foxconn bygger fabrik för safirglas-produktion Ska förse Apple med det som GT Advanced misslyckades med Vi har tidigare skrivit om att Apple hade planer på att iPhone 6 skulle få en skärm med safirglas men att det stoppades av att företaget GT Advanced misslyckades totalt. Det betyder förstås inte att Apple har lagt de planerna på hyllan och nu verkar det som om de har fått Foxconn att hjälpa till med det hela. Enligt en rapport så håller nämligen Foxconn på att bygga en ny fabrik i Kina där planen är att tillverka safirglas. Enligt samma rapport så kommer detta att kosta Foxconn 2,6 miljoner dollar och tanken är att fabriken endast kommer att producera glas åt just Apple men vi vet inte när den är redo att leverera glas i den utsträckning som krävs. Det vill säga att det kanske finns en chans att i alla fall nästa iPhone får safirglas. Tumnagel
46.0°
0
Motorola släpper nya armband till Moto 360 Ett i läder och ett i metall Motorolas smarta klocka Moto 360 går tyvärr fortfarande inte att köpa i Sverige men för de som faktiskt kan köpa klockan så kommer nu en ganska trevlig nyhet. Motorola släpper nämligen två stycken nya armband som man kan beställa på deras hemsida. Ett av armbanden är ett metallarmband och för det vill Motorola ha 80 dollar. Det andra armbandet är ett läderarmband som kommer att kosta 30 dollar. Tumnagel
51.3°
0
OnePlus öppnar fysisk butik Kina först ut OnePlus kommer inom kort att öppna sin första egna butik där de kommer att sälja sina produkter. Butiken kommer att öppnas den 20 december i Peking i Kina, men redan den 1 december så kommer de ha öppet några timmar för att testa det hela. I butiken så kan du köpa deras enda telefonmodell, OnePlus One, men även precis som i Apple Stores så kommer det även finnas en hög tillbehör att köpa. Tumnagel
48.1°
0
Inga fler FCC-logotyper på framtida telefoner Ny lag gör att de ej krävs Idag så skrevs en lag på i USA som innebär att telefoner med mera kommer att bli lite snyggare i USA än i Europa. Lagen tar nämligen bort kravet på att produkter måste ha en hög logotyper som visar att produkten är certifierad av FCC. Bland annat så hittar vi en hög sådana märken på baksidan av iPhone. Dessa kommer dock inte att behöva vara där vid nästa iPhone-släpp vilket gör en lite mer clean baksida. Tyvärr gäller detta inte i Europa så här kommer vi fortfarande få köpa iPhones med stora CE-logotyper på. Tumnagel
54.3°
0
Nästa sida + Per månad 39 kr Betala löpande per månad. Ingen bindningstid. Starta prenumeration Per år 299 kr Enklast och billigast, bara 25 kronor i månaden. Betala löpande per år. Ingen bindningstid. Prova 14 dagar gratis innan du bestämmer dig. Starta gratis provperiod Engångsköp 349 kr Slipp återkommande betalningar, betala ett år i taget. Betala med kort eller Swish. Köp utan prenumeration