Teknik Motor Samhälle Spel Popkultur Fritid Tjock Tester Dagens fråga Tipsa! Skaffa Feber+
Hetaste
Senaste
Alla Heta Kalla Öppna i ny flik måndag 15 juni 2015 fortsättning Tested kollar in nya BattleBots Snart dags för robotarna att gå in i arenan igen Den populära tv-showen BattleBots kommer snart tillbaka och här är det första avsnittet av tre där Tested kollar lite närmare på de nya BattleBots-robotarna. I filmen träffar man åtta stycken team från hela världen och de visar upp och demonstrerar sina robotar. Den nya säsongen av BattleBots drar igång den 21:e juni på den amerikanska TV-kanalen ABC. Tumnagel
40.7°
0
CCP släpper Star Wars-helikoptrar Dagens måste-ha-grej Bandai Namco-ägda CCP har släppt tre olika minihelikoptrar som är formade efter farkoster från den rätt kända filmserien Star Wars. Farkosterna är formade som X-Wing, Tie Fighter och Millennium Falcon och är 9 cm höga och kan flyga runt i drygt 4 minuter. Helikoptrarna kommer finnas tillgängliga 1 augusti på den japanska leksaksbutiken Toy People för 5 980 Yen, eller drygt 500 kronor, så det kostar inte skjortan om du vill återskapa rymdstrider från Star Wars i ditt hem. Tumnagel
38.3°
0
David Attenborough släpper VR-upplevelse Tillsammans med London Natural History Museum Londonx27s Natural History Museum har tillsammans med Sir David Attenborough samt företagen Atlantic Productions och Zoo VFX tagit fram en serie VR-klipp som man kallar för "First Life". Det baseras på en tv-series First Life som ursprungligen släpptes 2010 och i VR-versionen använder man sig av datoranimationer för att ta ner VR-användaren under ytan där man kan utforska vad det finns för varelser där. VR-versionen av First Life är kompatibel med Samsungs VR-brillor Galaxy Gear VR vilka museibesökarna får låna för att ta del av 3D-upplevelsen i VR. Huruvida man även kommer att släppa det till oss andra Gear VR-användare framgår tyvärr inte. Tumnagel
48.6°
0
Nu kan man bli professor i LEGO På anrikt brittiskt universitet Brittiska University of Cambridge kommer antagligen att dra igång en professorskurs i Lego till hösten som kommer att bekostas av den danska leksakstillverkaren. Kursen kommer att heta "Lego Professorship of Play in Education, Development, and Learning" och Lego kommer att bidra med runt motsvarande 32 miljoner kronor för att finansiera professuren. Till hösten är det tänkt att utbildningen till legoprofessor ska dra igång. Tumnagel
42.4°
0
Första bilden på kommande Wall-e-lego Bygg Disneys och Pixars skräprobot Här är vad som ska vara den första bilden på den kommande legobyggsatsen som man kan bygga ihop den skräpsamlande roboten Wall-E med. Wall-E som legoversion dök på på legobyggarsajten Lego Ideas redan 2013 då ett Lego-fan publicerade sin hemmabyggda lego-version av Wall-E där och tidigare i år meddelade Lego att man skulle förverkliga Wall-E som en officiell lego-byggsats. Den officiella lego-versionen av Wall-E börjar säljas i december och kommer då att kosta motsvarande cirka 550 kronor. Tumnagel
60.8°
0
Miljöpartiet säger nej till DAB-radio Vill inte släcka ner FM-nätet Miljöpartiet beslutade på kongressen man höll den här helgen att säga nej till införandet av det digitala radiosystemet DAB+ och att inte släcka ner FM-nätet till 2022. Enligt MP:s kulturpolitiske talesman Nicklas Malmberg innebär det här i praktiken att man kommer att blockera införandet av DAB-radio under den här mandatperioden då han anser att regeringen inte kan gå emot ett kongressbeslut. Till SR:s Ekot säger Malmberg: "Ja, ett kongressbeslut räcker naturligtvis för att stoppa det eftersom regeringen inte kan gå vidare med ett förslag som skulle gå helt emot ett kongressbeslut. I och med att MP har tagit ställning för att behålla FM-nätet så kommer FM-nätet att behållas så länge MP sitter i regering." Sveriges Radio och kommersiella radioföretag i Sverige har under en längre tid försökt få regeringen att införa DAB+ som standard i Sverige och släcka ned FM-nätet till 2022. Dock så har detta mött häftig kritik från många tunga remissinstanser och väldigt få verkar se någon som helst allmännytta med att införa DAB+. Tumnagel
67.1°
0
söndag 14 juni 2015 Lucasfilm bygger VR-värld för Star Wars Verkar bli grymt Industrial Light & Magic (ILM), Skywalker Sound och dess moderföretage Lucasfilm är i full gång med att bygga upp Star Wars som en VR-upplevelse och lite från det arbetet visar man i klippet ovan. Man har tillsammans skapat den nya avdelningen ILMxLAB (ILM Experience Lab) där man har samlat utvecklare, designers och andra för att kunna ta fram en VR-värld där användaren kommer att kunna glida omkring i Star Wars-universumet. Exakt vilken VR-plattform man kommer att satsa på framgår inte men det verkar som om man experimenterar med såväl Oculus som HTC Vive och även något slags hologramliknande system. Tumnagel
53.4°
0
Starbreeze presenterar StarVR Visar ny VR-enhet med Walking Dead-demo Hoppsan. Plötsligt anlände ännu en aktör på den växande VR-marknaden. Nu är det spelföretaget Starbreeze som tillsammans med 505 Games meddelat att de jobbar på en en egen VR-enhet som får namnet StarVR. Glasögonen använder sig bland annat av InfinityEye och har en 210-graders field of view vilket enligt Starbreeze ska vara bäst i världen. Glasögonen har också två glas på fem tum vilka ska ge en upplösning på 5K. Gaminformer har fått en chans att testa glasögonen och säger att de har potential men behöver en del förbättringar. Bland annat ska de vara ganska tunga vilket gör att de är jobbiga att använda en längre tid. Dock är de på rätt spår med den höga upplösningen och fokuset på field of view. Glasögonen ska visas upp i större utsträckning under E3 och vi ser fram emot att få se mer liksom ett eventuellt releasedatum och pris. Tumnagel
54.0°
0
Oculus säger nej till porr Kommer ej att finnas i deras appstore Under Oculus presskonferens fick företaget frågan om hur det blir med porren i deras appstore? Svaret var att porr inte kommer att finnas med bland apparna som Oculus erbjuder sina användare. Precis som Apple och Android kommer vi kunna att ladda ned appar gjorda för Oculus av utvecklare som har följt reglerna i regelboken. Däremot kan tredjeparts-appar bli tillgängliga och de kan komma att innehålla vuxet innehåll. Tumnagel
-5.5°
0
fredag 12 juni 2015 Microsoft släpper portabel laddare I tre varianter Här kommer ett litet otippat tilltag av Microsoft. De meddelar nämligen att de släpper en egen variant en bärbar telefonladdare. Det handlar om tre olika varianter som ska släppas inom de närmaste veckorna. En modell på 5200 mAh för 35 dollar, en på 9000 mAh för 45 dollar och en med 12000 mAh för 55 dollar. Enheten kommer att ha ett uttag för microUSB och laddas via vanlig USB. Den är sedan enkelt utformad med en startknapp och tre LED-lampor som indikerar hur mycket batteri det finns kvar. Tumnagel
48.8°
0
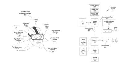
Nvidia har ansökt om patent för VR-headset Kan baseras på Tegra X1 Allt fler verkar vilja ansluta sig till marknaden för virtuell verklighet och senast i ledet är Nvidia. De har nämligen lämnat in en patentansökan för ett VR-headset med en väldigt kompakt design. Vilken hårdvara enheten ska använda sig av framgår inte men enligt Fudzilla kommer den sannolikt att använda sig av prestandakretsen Tegra X1 som bygger på Maxwell-arkitekturen och som ska ha stöd för 4k-video i 60 Hz. Tillsammans med VR-enheten verkar det också finnas en trådlös adapter vilket kan innebära att det finns möjligheter att strömma spel från sin dator via företagets GRID-tjänst. För bara knappa två veckor sedan presenterade Nvidia dessutom ett utvecklingskit med flera typer av API:er för VR som går under namnet GameWorks VR. Med andra ord är det inte helt långsökt att de själva jobbar på en egen VR-enhet. Tumnagel
39.1°
0
Sharp 4K-apparater med Android TV Uppdaterade UE30- och UH30-serierna blir företagets första med Android TV Under CES-mässan tidigare i år visade Sharp upp ett gäng nya TV-apparater med 4K-upplösning och nu har företaget uppgraderat sina serier UE30 och UH30 som numera kommer köra Android TV. Vill man ha en 4K-TV med Android TV från Sharp så kommer det kosta. Priset kommer att gå från 2 099 dollar till 6 299 dollar beroende på vilken modell och storlek du vill ha. Apparaterna i UE30-serien finns i storlekarna 60, 70 och 80 tum och UH30 kommer finnas i storlekarna 70 och 80 tum. Tumnagel
46.1°
0
Parrot överöser oss med nya Minidrones 13 nya för att vara exakt Drönarmakarna Parrot har inte precis legat på latsidan sedan releasen av Parrot Bebop. Företaget har nu visat upp 13, ja 13, nya drönare i serien Minidrones. Egentligen handlar det inte sprillans nya Minidrones, utan modifierade versioner av Jumping Sumo och Rolling Spider som företaget släppte förra året med nya funktioner och olika färgscheman. Hur som helst så ser de nya enheterna riktigt roliga ut. Den mest intressanta är nya Hyperfoil Drone som är en Rolling Spider som fästs en enhet som gör att den kan köra runt på vatten. Eftersom den är driven av en Rolling Spider, och ingenting nytt verkar ha hänt på batterifronten, så kan den köra runt på vattenytan i totalt sju minuter. Nya Airborne, vilket är en variant av Rolling Spider, kommer i två olika format, Night och Cargo. Night har två LED-lampor som gör att du kan köra runt med dem på natten och du kan blinka med lamporna om du skulle vilja skicka meddelanden med morse-kod, eller något. Cargo är en Night utan lampor, helt enkelt. Till sist har vi ett gäng nya Jumping Sumo-modeller; Night och Race. Night har, precis som sitt flygande syskon, LED-lampor som kan användas för att lysa upp omgivningen och blinka på kommando. Sedan är Night utrustad med mikrofon och högtalare så att du kan kommunicera med omvärlden med drönaren. Race är en snabbare variant av Jumping Sumo som kan köra upp till 13 km/h. Batteritiden i dessa Minidrones verkar fortfarande vara rätt vedervärdig då du får ut drygt sju minuter med de flygande enheterna och 20 minuter med de markburna, men Parrot har ansträngt sig och gjort det betydligt snabbare att ladda dem. Tidigare tog det drygt 1-2 timmar för att ladda ett batteri till fullo, men nu ska det endast ta 25 minuter vilket är betydligt kortare tid. Parrot Hydrofoil Drone kommer kosta 169 euro och finnas i två färger. Parrot Airborne Cargo kommer gå lös för 99 euro och finns i två olika färger. Airborne Cargo finns i tre olika färger och ska kosta 129 euro. Jumping Race och Night kommer kosta 199 euro och finns i tre olika färger vardera. Ovan kan ni se nya Hyperfoil Drone och nedan hittar ni Cargo Airborne, Night Airborne, Jumping Race och Jumping Night. Tumnagel
36.4°
0
Utvecklare packar upp HTC Vive utvecklingskit Enheterna har landat Utvecklingsenheterna för VR-glasögonen Vive från HTC och Valve börjar anlända hos utvecklare världen över. Det innebär också att det börjar dyka upp filmer som visar när enheterna packas upp. Ovan kan ni se en video där Cloudhead Games, som utvecklar spelet The Gallery: Six Elements, packar upp sin enhet. Efter hoppet kan ni också se en demonstration av deras spel. Vill ni se fler filmer där enheten plockas upp och visas upp kan ni göra det nedan. Tumnagel
41.0°
0
Bikini med inbyggd UV-varnare Varnar om man inte tar på sig solskydd Det franska företaget Spinali Design har tagit fram en "smart" bikini som förhoppningsvis kan förhindra en del fall av hudcancer i framtiden. Bikinin har en solcensor inbyggd och denna kan känna av hur starkt solen lyser och med den tillhörande mobilappen varna bikiniägaren att solen är stark och att man bör sätta sig i skuggan eller ta på mer solskydd. I appen ställer man även in diverse grejer kopplade till sin egen hudtyp så att resultatet blir mer rättvisande. Bikinisarna från Spinali Design kommer i lite olika utföranden och kommer att kosta mellan 150 - 200 euro. Tumnagel
42.4°
0
Jawbone stämmer Fitbit Andra gången på två veckor Företaget Jawbone, som bland annat sysslar med träningsanpassade smarta armband, stämmer företaget Fitbit som är en av rivalerna på marknaden. Det är dessutom andra gången på två veckor. Den första stämningsansökan handlade om att Jawbone ansåg att Fitbit stal personal från dem och därmed en del av företagets affärshemligheter. I den nya stämningsansökan handlar det dock om själva produkterna och patentintrång. Tekniken i Jawbones träningsarmband skyddas av mängder med olika patent som antingen är godkända eller under utredning och enligt företaget gör Fitbit intrång på fler av patenten. Exempel på patent från Jawbone är: "General health and wellness management method and apparatus for a wellness application using data from a data-capable band" och "system for detecting, monitoring, and reporting an individual’s physiological or contextual status." Det här är en ganska dålig tajming för Fitbit som förbereder en introduktion på USA-börsen. Tumnagel
28.0°
0
Tested summerar Oculus VR-konferensen Den från i går I går höll Oculus VR en E3-presskonferens borta i San Francisco där man bland annat visade upp konsumentutgåvan av Oculus Rift. Man visade även upp några kontroller samt möjligheten att strömma Xbox One-spel till glasögonen genom Windows. Folket från Tested var på plats och i klippet ovan kan man höra vad de tyckte om konferensen och hårdvaran som visades upp. Tumnagel
40.7°
0
torsdag 11 juni 2015 LEGO: Adventure in the City En LEGO-inspirerad kortfilm Några nederländare fick i uppdrag av LEGO att skapa en liten LEGO-inspirerad kortfilm och här ovan man kan se resultatet. Bakom kulissernaklipp nedan. Tumnagel
43.0°
0
E3 2015 Oculus VR presenterar Oculus Home En plattform där du samlar dina VR-spel Oculus VR har meddelat att de släpper en ny tjänst för deras VR-glasögon som kallas Oculus Home. Där kommer du bland annat att nå alla dina spel, få kontakt med vänner och kunna köpa nya spel. Lite som ett Steam för VR med andra ord. Plattformen kan användas utan glasögonen och presenteras då i vanlig 2D. Men tjänsten går också att använda med glasögonen och då finns det även en möjlighet att testa olika demoversioner av spel. Något närmare releasedatum för glasögonen fick vi inte och det är fortfarande Q1 2016 som gäller. Dock kommer allt som visades på torsdagens presskonferens att finnas tillgängligt på E3 vilket innebär att vi förhoppningsvis kommer att få ta del av en massa intryck från E3-golvet under nästa vecka. Tumnagel
39.0°
0
E3 2015 Oculus VR presenterar Oculus Touch Specialgjorda handkontroller Känslan av att kunna känna med sina händer samtidigt som man upplever VR är superviktig. Det meddelade Oculus VR under torsdagskvällen och presenterade de nya handkontrollerna Oculus Touch. Kontrollerna är speglade precis som våra händer och ska erbjuda flera funktioner liksom att låta oss använda gester för kommunikation, vara en vanlig spelkontroll, vara ett verktyg för manipulation och helt enkelt erbjuda oss möjligheten att känna det som egentligen inte finns i den virtuella verkligheten. Handkontrollerna ser ut som små halvmånar och har en knapp för tummen, en trigger som gör att de kan användas som vapen samt två vanliga knappar. De ska använda samma trackingsystem som glasögonen vilket gör att de kan känna igen vanliga rörelser som vi gör med våra händer som att peka och vinka. De presenterade också mjukvaran Toybox som är en stor sandlåda för de som vill leka med olika typer av interaktioner. Toybox ska ha stöd för multiplayer där du kan möta andra spelare virtuellt med känslan av att de faktiskt är där. Tumnagel
46.2°
0
E3 2015 Oculus Rift kommer att inkludera en Xbox One-kontroll Och du kan strömma dina Xbox One-spel Under Oculus Rifts presskonferens på torsdagskvällen meddelade Oculus VR att VR-glasögonen kommer att skeppas tillsammans med en Xbox One-kontroll och en adapter. Phil Spencer från Microsoft fanns på plats för att berätta mer och bland annat förklarade han att Oculus kommer att vara kompatibelt med Windows 10 tack vare DirectX 12. Användare kommer också att kunna strömma sina Xbox One-spel till Oculus. Under presskonferensen visades också själva glasögonen upp och de ser väldigt slimmade och ergonomiska ut. De ska vara väldigt lätta och det ska inte vara några problem att hålla dem med en hand. För att synka glasögonen med datorn behövs en extern sensor som kopplas in i datorn och sedan placeras på skrivbordet. Det är allt. Det ska också gå att justera linserna framför ögonen beroende på hur brett eller smalt ögonen sitter samtidigt som det inte ska vara några problem att ha dem på även om man har glasögon. De inbyggda hörlurarna ska också gå att ta loss och ersätta med egna. Presskonferensen pågår fortfarande och strömmas bland annat via Twitch. Tumnagel
52.4°
0
E3 2015 Missa inte Oculus VR E3-konferens Körs nu klockan 19 Uppdaterat: Presskonferensen kör igång nu klockan 19.00 och nedan hittar ni länkar till sidor där presskonferensen kan ses live. Vi kommer att få se mer av Oculus Rift redan idag. Oculus VR kommer nämligen att köra en E3-konferens ikväll för att berätta mer om sina VR-glasögon. Exakt vad de ska prata om har de inte berättat men kanske får vi veta mer under dagen. Om inte annat får ni se till att bänka er framför datorn eller teven ikväll. Presskonferensen kommer att inledas 19.00 ikväll och sänds via Twitch och Oculus hemsida. Tumnagel
42.9°
0
Huawei Watch-släppet skjuts fram till hösten Siktar på början av oktober Huawei Watch visades upp på MWC i mars och har sedan dess har Android Wear-klockan legat högt uppe på måste-ha-listan. Huawei har dock hållit locket på när det kommer till pris och release, men det har ryktats om att enheten kommer att kosta mellan 3 000 och 5 000 kronor och skulle släppas under sommaren. Nu har dock Huawei fått lite kompatibilitetsbekymmer med Android Wear, vilket har gjort att releasen av klockan skjuts fram till början av oktober. Ovan ser ni en video från när The Verge petade på klockan under mässan. Tumnagel
39.2°
0
Holus fixar hologram på bordet Hologram för hemmabruk Holus är en slags projektor som utifrån digitala bilder kan projicera ett hologram i en kubliknande mojäng som är tänkt att sättas på ett bord eller liknande anordning. Tanken är att man ska ansluta en mobil eller en tablet till Holus och därefter projicerar Holus materialet på den anslutna mobilen/tableten på en pyramidformad skärm inuti kuben. Det är med andra ord inte riktigt lika coolt som när prinsessan Leia projiceras i Star Wars men åtminstone en bit på vägen. Holus finansieras just nu via Kickstarter och man drog in över dubbelt så mycket som man behövde bara två timmar efter man hade lanserat sin kampanj. Konsumentversionen av Holus förväntas kosta runt 850 dollar med leverans någon gång under andra kvartalet 2016. Tumnagel
39.0°
0
Upplev vädret dit du är på väg på Arlanda Flygplats Climate Portal är en vädersimulator Swedavia har byggt upp något som man kallar för Climate Portal på Arlanda Flygplats där resenärer i realtid kan kolla in vad det är för väder på destinationen man ska flyga till. Klimatportalen består av tre stycken olika rum där resenärer kan få känna av klimatet i den varma öknen, den pulserande storstaden eller bitande kyla. Alla rum ska vara uppkopplade mot vädertjänster som ska återspegla vädret i realtid på de tre platserna. Climate Portal på Arlanda Flygplats öppnar idag och kommer att finnas där till den 31:e augusti. Skulle du ha vägarna förbi så finns den vid gate F26 på terminal 5. Tumnagel
59.8°
0
Disco Dog överlevde på Kickstarter Kommer dock inte börja massproduceras Vi har tidigare skrivit om hundselen/LED-mattan Disco Dog som du fäster på din hund för att göra hunden lite mer fashionabel. Gänget sökte finansiering på Kickstarter för några veckor sedan och nu är insamlingen över. Disco Dog lyckades håva in strax över 22 000 dollar, vilket betyder att de kommer kunna producera Disco Dog-västar. Men endast till de som "förbokat" via Kickstartersidan. Så om du hade hoppats på att köpa en Disco Dog i butik, eller från något annat håll, så är detta lite tråkiga nyheter. Men 45 personer kommer att få en Disco Dog-väst när de är färdigproducerade. Tumnagel
38.9°
0
Samsung Gear VR Innovator Edition kostar 1 990 kronor Börjar säljas hos Tre i dag I dag börjar mobiloperatören Tre, som första operatör i Sverige, försäljningen av den första kommersiella virtuell verklighetprodukten på den svenska marknaden, Samsung Gear VR Innovator Edition. Med detta headset kan man som bekant fly verkligheten och få en 360-gradig sfärisk upplevelse i 3D. Det krävs dock att man har en Samsungs Galaxy S6 eller S6 Edge för att det skall fungera. 1 990 kronor kostar den och den kan köpas på avbetalning eller läggas till ett abonnemang för 83 kronor per månad under 24 månader. Tumnagel
40.0°
0
onsdag 10 juni 2015 Huggable är en robotbjörn för sjuka barn Håller dem sällskap på sjukhuset Här är ett avsnitt från New York Times temaserie "Robotica" där de kollar in den gulliga robotbjörnen "Huggable" som är tänkt att hålla barn sällskap när de är inlagda på sjukhus. Teamet bakom Huggable hoppas framför allt att roboten kan hjälpa barnen med att slippa oro, smärta och isolering genom att interagera med barnet i samband med att de blir inlagda på sjukhs. Roboten är framtagen i ett samarbete mellan Boston Childrens Hospital samt M.I.T. Media Lab och doktor Cynthia Breazeal säger: "We could someday see this as a standard of care, where every child who comes into the pediatric hospital might get something like this. It’s not only the health and emotional and recovery benefits, but also logistical and financial, improving efficiency to the overall health system." Boston Childrens Hospital har lagt ungefär en halv miljon dollar för att ta fram sociala robotar inom sjukvården varav Huggable är en av dessa satsningar. Tumnagel
39.8°
0
Samsung visar upp genomskinlig OLED-panel Skärmkriget fortsätter Kriget om den mest användbara TV-apparaten fortsätter. För några veckor sedan visade LG upp en riktigt tunn display som kunde fästas på diverse platta ytor med hjälp av magneter. Nu har Samsung kontrat med en OLED-panel som är genomskinlig som kan användas som high-tech-speglar eller som reklampaneler. Panelerna, som ni för övrigt kan se ovan, kommer troligtvis inte bli verklighet än på ett tag. Men bli inte förvånade om ni hittar speglar med Samsung-logotyper när nu shoppar kläder i framtiden. Tumnagel
69.1°
0
En lite bättre självispinne Ny video från Collegehumor Selfie sticks, nascissticks eller självispinnar finns det gott om i världen. Collegehumor har nu gjort en ny video där gänget visar upp världens kanske bästa självispinne. Tumnagel
48.6°
0
Testat FitBit Surge är klockan för dig som älskar träning Men som vill slippa de konstanta notiserna Det finns smarta klockor för de som i princip vill ha en mobiltelefon på handleden. Sen finns det smarta klockor för de som vill ha fullständig koll på träningen. FitBit Surge tillhör helt klart den senare kategorin. Klockans fokus är tydligt. Den håller koll på pulsen, hur många trappor du knatat i, hur många steg du tagit, vad du har tränat, antal förbrända kalorier och hur länge du sover. Den har flera olika träningslägen och loggar exempelvis löpning, cykling, yoga och styrketräning och finns det ingen träningskategori som passar din aktivitet så fungerar cardioläget bra. Tumnagel
39.7°
0
tisdag 9 juni 2015 LEGO lanserar Angry Birds-lego nästa år I samband med att Angry Birds-filmen har premiär Nästa år kommer den första spelfilmen med Angry Birds [IMDb] och i samband med det kommer LEGO att ta fram en specialkollektion med de arga fåglarna. Det finns i dagsläget ingen mer information om hur de aktuella LEGO-figurerna kommer att se ut men jag antar att de baseras på de befintliga fåglarna och grisarna. Angry Birds-filmen kommer att vara i 3D och har svensk premiär den 13:e maj 2016. Även LEGO själva planerar en uppföljare till sin "The Lego Movie" [IMDb] som släpptes förra året och den är planerad att släppas 2018. Tumnagel
29.6°
0
Den här smarta ugnen gör allt jobb åt dig Känner igen maten du stoppar in i den June Intelligent Oven lovar att vara precis vad den heter - intelligent. Den är uppkopplad, appanpassad och har till och med en kamera inbyggd i sig som ser vad du stoppar i den och då känner igen vad det är. Allt du behöver göra efter det är att trycka på "Ok" så drar tillagningen igång. Hur det fungerar ser du i videon här ovan. Ugnen finns inte att köpa riktigt än men det går att reservera en. Prislappen ligger på 1 495 dollar. Tumnagel
38.9°
0
Sur granne slår sönder en DJI Phantom 3 Värd 1350 dollar Det verkar som om den här killen har kört sin DJI Phantom 3 några gånger för mycket på gatan. I den här filmen får vi nämligen se när hans granne, tydligen påverkad av alkohol, lackar ur och drämmer till drönaren så att den går sönder. Bland annat gick dess 4K-kamera sönder ordentligt. Som lite plåster på såren för ägaren så lyckades drönaren hämnas genom att slå till grannen på benet innan den kraschade. Men det är en klen tröst. Tumnagel
49.3°
0
Microdia släpper världens första microSD med 512GB Mycket plats på liten yta Ett microSD med 512 gigabyte utrymme. Det är det senaste från företaget Microdia som med andra ord blir först i världen att lansera ett microSD med så mycket utrymme. Xtra Elite 512GB MicroSD ska också ha en överföringshastighet på upp till 300 megabyte i sekunden eftersom den har stöd för den fjärde versionen av Secure Digital standard. Om enheten som kortet används i inte har stöd för 4.0-versionen är överföringshastigheten ungefär 150 megabyte per sekund. Prislappen för den här trevliga nyheten kommer att landa på ungefär 1000 dollar när kortet släpps i juli. Saftigt. Tumnagel
52.5°
0
Pappa trimmar sina ungars elbil Bra drag That HPI Guy plockar isär sina ungars rosa elbil och bestämmer sig för att ge bilen en liten uppgradering i form av ett mer kraftfullt batteri, som gör bilen avsevärt mycket snabbare än tidigare. Tumnagel
74.6°
0
måndag 8 juni 2015 HouseholdHacker visar hur man gör en egen trådlös laddare Bygg in en trådlös laddare i allt IKEA har dragit igång och börjat sälja ett gäng smarta möbler med inbyggd trådlös laddning. Det är kanonbra, om man bortser att det faktiskt är möbler från IKEA. HouseholdHacker har nu släppt en ny video som visar hur man kan göra allting till en trådlös laddare. Tumnagel
45.2°
0
Kinesiska BOE visar upp världens första 10K-TV Allting under 10K är numera värdelöst Det kinesiska displayföretaget BOE har slagit på stora trumman och visat upp världens första 10K-TV, alltså upplösningen 10240x4320, som är 82 tum stor. 82-tummaren är egentligen en "vanlig" 8K-TV som breddats med några extra pixlar på vardera sida. Denna TV lär inte dyka upp på marknaden i den närmsta framtiden, utan togs troligtvis fram av BOE endast så att företaget kan skryta om att de var först med en 10K-TV. Känner du suget efter en 10K-TV så kommer du troligtvis få vänta ett bra tag. Användandet av 4K ökar sakta men säkert och 8K är fortfarande något som vi endast får se på teknikmässor. Men när 10K-apparaterna släpps så kommer vi såklart vilja ha en. Tumnagel
46.6°
0
Snubbe bygger pingvinspegel Svartvit spegel med leksakspingviner, alltså Det finns speglar i olika former med olika funktionalitet som oftast är användbara. Sedan finns det speglar framtagna av konstnärer. Denna pingvinspegel är skapad av konstnären Daniel Rozin som använd sig utav 450 pingviner i gosedjursformat som kan rotera för att visa fram- eller baksidan vid behov. Spegeln är utrustad med sensorer som känner av om någonting befinner sig framför spegeln, vilket får dem att rotera. Tumnagel
45.8°
0
Nu skeppar Valve sina VR-kits till utvecklare It has begun Valve har meddelat att de nu börjat skicka sina utvecklingskit för HTC Vive till utvecklare vilket innebär att vi förhoppningsvis snart kommer att få se lite roliga spel och applikationer till VR-glasögonen. Vive kommer att skickas brett till utvecklare från så väl stora spel- och filmstudior till indiutvecklare. Paketet innehåller glasögonen, instruktioner, två trådlösa Steam VR-kontroller, olika kablar och två Lightbouse-stationer samt annat smått och gott som kan behövas för att komma igång. Fler utskick kommer också att göras under sommaren vilket innebär att de som inte får några vid första utskicket lär få sina inom en snar framtid. Valve har också sagt att de vill att Vive ska finnas hos konsumenterna innan julen anländer. Tumnagel
59.8°
0
En laserhagelbrakare Verkar inte helt ofarlig Klipp där vi får se när en snubbe visar upp sitt "laserhagelgevär" som kombinerar åtta 5W-lasrar. Med denna laserhagelbrakare kan man panga ballonger och tända eld på träplankor. Man kan säkert även förstöra ett och annat öga så skyddsglasögon på om man tänkt bygga en själv. Tumnagel
54.9°
0
Google börjar rapportera om krascher med sina självkörande bilar Transparens ftw! Googles självkörande bilar har varit aktiva i sex år och har under den tiden varit inblandade i ett dussin mindre olyckor som, i alla fall enligt Google själva, inte varit bilens fel. Vilket är rätt imponerande med tanke på att 290 000 mil har körts med bilarna. Tidigare har Google hållit locket på när det kommer till dessa olyckor, men i en rapport som företaget släppte tidigare i år så passade Google på att berätta om olyckorna. Och i framtiden kommer det inte dröja allt för lång tid innan vi får reda på vad som hänt när en självkörande bil krockar då Google kommer släppa rapport om kraschen illa kvickt. Googles självkörande bilar kommer börja rulla ut på allmänna vägar i Mountain View i Kalifornien nu i sommar. Tumnagel
58.2°
0
Hejdå Horst Brandstätter Mannen bakom Playmobil har gått bort Tyske Horst Brandstätter, ägaren bakom företaget som skapde leksaken Playmobil, har gått ur tiden. Det var Brandstätters stöd till leksaksutvecklaren Hans Beck som gjorde det möjligt att utveckla Playmobil vilket släpptes på marknaden 1975 och rönte stora framgångar. Företaget skriver i ett pressmeddelande: "Med Horst Brandstätter förlorar Playmobilfamiljen sin chef, grundare och patriark. Leksakssektorn i Tyskland förlorar en av sina största personligheter." Horst Brandstätter blev 81 år gammal. Tumnagel
22.0°
0
DJI släpper ny drönare som ska motverka krockar Matrice 100 DJI har släppt en ny drönare med nya flådiga sensorer som med hjälp av stereokameror och ultraljudssensorer ska kunna förhindra diverse kollisioner. Detta nya system kallas för Guidance och ska inte bara göra flygturer säkrare och kollisionsfria, utan också stabilare då sensorerna har, enligt DJI, väldigt hög precision. Matrice 10, eller M100 som den också kallas, är riktad till utvecklare som ska hjälpa DJI att testa nya de nya sensorerna på olika sätt. DJI skickar med utvecklingskit som gör det lätt för programmerare att skapa diverse hård- och mjukvara till quadkoptrar och andra drönare. Känner du dig sugen på en Matrice 100 så kan du hoppa över till DJI:s hemsida och köpa en för 3 599 euro, vilket är typ 33 500 kronor, vilket ger dig både Matrice 100 samt Guidance-enheten. Nedan kan ni se när Tested testar M100. Tumnagel
39.0°
0
Ultimate Weapons Master blir snart verklighet Som SoulCalibur fast på riktigt Ultimate Weapons Master (UWM) är en sport där folk klär upp sig i rustningar och klubbar på varandra tills de dör en virtuell död. Rustningarna deltagarna bär är fyllda med olika sensorer som registrerar slag och venom en hälsomätare kan avgöra när en deltagare "dör". Deltagarna kan använda sig av vapen från alla möjliga tidsperioder och regioner vilket kan resultera i matcher mellan en person som har nunchaku mot en person som har ett riddarsvärd. Tanken är att denna liga skall sändas i tv någon gång nästa år och om man vill läsa mer om UWM så kan man hitta en längre artikel angående detta via länken nedan. Tumnagel
43.1°
0
Snubbe får nästan sin drönare nedskjuten av brandmän Pro Tip: Var inte en idiot Youtubeanvändaren John Thompson hörde att det brann i ett hus i närheten och som den idiot han är så bestämde han sig för att ta en flygtur med sin DJI Phantom-quad för att fånga händelsen. Detta var ingenting som brandmännen uppskattade, då en drönare skulle kunna ställa till bekymmer så brandmännen bestämde sig för att rikta vattenslangen mot drönaren för att försöka få ner den från luftrummet. Om du inte vill titta på 13 minuter brinnande hus så kan du hoppa 12 minuter in i videon. Tumnagel
51.7°
0
Koncept Icaros - hemmagym för VR-upplevelser Flyg fram i vardagsrummet Från det tyska designföretaget HYVE kommer det här VR/gym-konceptet där användaren kan glida omkring i VR-världar under träningen vilket kanske gör det hela lite roligare. Tanken är att man liggande i en slags superman-position ska göra knäböjningar (squats) och andra övningar samtidigt som man navigerar sig fram i VR-världen. Man kallar konceptet för Icaros och själva programvaran rullar på en mobiltelefon som är trådlöst kopplad till ett VR-headset. Det verkar som om HYVE nu försöker att Ikaros från konceptstadiet till färdig produkt men det finns inga uppgifter om när så blir fallet eller vad det skulle kunna kosta. Nedan hittas en exempelfilm på en VR-upplevelse man skulle kunna köra i Icaros. Tumnagel
42.6°
0
söndag 7 juni 2015 Robotlärare håller lektioner i Kina Inte så avancerad men duger Studenter på Jiujiang-universitetet har byggt en robot som agerar lärare. Det tog en månad för studenterna att bygga robotläraren. Hon kan undervisa med hjälp av powerpoint och integrera lite med eleverna.Tyvärr finns det väldigt lite information kring roboten i nuläget. Bra jobbat på så kort tid ändå. På grund av bildrättigheter så hittar ni bild på roboten i länken nedanför. Tumnagel
38.2°
0
Sydkoreanska DRC-Hubo vinner DARPA Robotics Challenge Prestigefylld robottävling avgjord I helgen avgjordes den prestigefyllda robottävlingen DARPA Robotics Challenge i USA och som vinnare stod till slut roboten DRC-Hubo som utvecklats av sydkoreanska KAIST (Korea Advanced Institute of Science and Technology). I finalen skulle robotarna simulera hur de skulle bete sig under förhållanden som liknade dem i det japanska kärnkraftverket Fuksushima efter dess härdsmälta i mars 2011. Sammanlagt deltog 24 stycken robotar i tävlingarna efter det att japanska Hydra backat ur finalen efter tekniska problem. Vinsten var på två miljoner dollar och ovan kan ni kolla in när DRC-Hubo, mycket mycket långsamt, öppnar en ventil. Skulle ni tycka klippet ovan var tråkigt så rekommenderar jag klippet med de ramlande robotarna som hittas inlänkat nedan. Det är mycket roligare. Tumnagel
38.1°
0
lördag 6 juni 2015 Robotar som trillar Än så länge behöver vi nog inte oroa oss för robokalypsen Den här helgen avgörs finalerna i DARPA Robotics Challenge i USA och där tävlar några av världens bästa robotar i diverse viktklasser genom att utföra vissa moment. Som synes i videon ovan så går det dock inte alltid som det är tänkt sig och ibland så faller robotarna platt till marken. Tumnagel
55.8°
0
fredag 5 juni 2015 Motoman-MH24 vs Isao Machii Robot vs Samuraj Reklamfilm för Yaskawa Electric Corporation där man får se robotarmen Motoman-MH24 flexa sina svärdkunskaper mot den japanska svärdmästaren Isao Machii. Bonusklipp nedan. Tumnagel
39.7°
0
Lycos släpper eget smartband Och en smart ring För länge länge sedan var Lycos ett företag som sysslade med sökmotorer. Nu har de dock gett sig in på ett helt annat område och presenterar sitt egna smarta armband tillsammans med en smart ring. Båda produkterna visas upp på den nya hemsidan Lycos Life där armbandet kostar 125 dollar och ringen 60 dollar. Båda kommer dessutom att släppas redan den 8 juni. Produkterna ska bland annat använda sig av NFC för att kunna öppna den låsta hemskärmen på Androidenheter. Det ska också gå att spara lösenord i bandet och ringen för appar på telefonen. I övrigt kommer bandet att vara vattentätt, ha en batteritid på mellan 10 och 14 dagar samt ha träningsfunktioner. Dessutom meddelar Lycos att de kommer att ge bort fem procent av försäljningen av bandet och ringen till ett nytt projekt som syftar till att hjälpa familjer med behov av renad luft och vatten i hemmet att få det. Tumnagel
37.8°
0
Acer släpper Predator 8 i september Deras nya spelsurfplatta Under slutet av april hängde vi i New York på ett Acer-event och fick då se deras nya satsning Predator 8 - en dedikerad surfplatta för gaming. Nu har vi fått veta att plattan kommer att släppas i september under ett stort event inplanerat i Europa. Dessutom har specifikationerna börjat sippra ut. Plattan är baserad på Android OS och har fått Intel Atom-processorn Cherry Trail. Processorn ska erbjuda två gånger snabbare grafik än förgångaren Bay Trail. Cherry Trail är även den processor som används i Microsofts Surface 3 som släpptes förra månaden. Tumnagel
35.7°
0
Idag startar finalerna i DARPA Robotics Challenge Här kan ni kolla in när en av deltagarna värmer upp Om några timmar startar finalerna i DARPA:s (Defense Advanced Research Projects Agency) robottävling DARPA Robotics Challenge som i år går av stapeln i staden Pomona i Kalifornien, USA. En av robotarna som kommer att delta i finalen är "robotapan" RoboSimian som är utvecklad av NASA JPL och här kan ni kolla in när den "värmer upp" i klippet ovan och när den anländer till tävlingsarenan i klippet nedan. Livesändningarna från DARPA Robotics Challenge startar klockan 16:00 svensk tid på länken nedan. Under "Läs mer" hittar ni bilder och information om samtliga 25 finalister i tävlingen. Tumnagel
40.1°
0
Sony råkar visa upp SmartBand 2 Kommer ha pulsmätare Sony Smartband släpptes förra året tillsammans med Xperia Z2. Det var ett rätt billigt aktivitetsband med hög funktionalitet. Nu verkar det som att Sony har en uppföljare på ingång. I Google Play Store dök det upp en kompanjonapp till den icke existerande uppföljaren som visade ett nytt gränssnitt och nya funktioner som pulsmätare. SmartBand 2-appen har plockats bort från Play Store, men en officiell uppvisning av SmartBand 2 och appen borde ske inom kort. Alternativt att det visas upp under IFA-mässan i september. Ovan ser ni i alla fall det nya gränssnittet och här under ser ni en rätt risig bild på det nya aktivitetsbandet. Tumnagel
40.7°
0
Smart penisring Samla dina samlag Nu för tiden finns det aktivitetsmätare för alla möjliga sorters grejer så man kan få bättre koll på vad kroppen håller på med. Snart kommer man även kunna få bättre koll på sina samlag med hjälp av penisringen Lovely. Denna aktivitetsmätare för snoppen kan både stimulera partnern genom den inbyggda vibratorn samt ge användaren information och tips om det senaste samlaget. En tillhörande mobilapp ger användaren statistik över saker som hur många kalorier man bränt, juckhastighet och stöttryck. Appen analyserar även all insamlad data för att ge användaren tips om andra ställningar som man kan prova vid nästa samlagstillfälle. Med vibratorn på så har Lovely en batteritid på två timmar och sju timmar utan. Folket bakom Lovely söker finansiering via Indiegogo och om man vill ha denna smarta ring för snoppen så kan man köpa en för 99 dollar och förhoppningsvis få den om ett år. Tumnagel
47.1°
0
Playmation i verkligheten Inte lika explosivt Tidigare i veckan så visade Disney upp en ny leksaksserie som de kallar för Playmation. Då visade man upp ett ganska explosivt videoklipp som inte direkt gav folk en klar blick över hur man hade tänkt att det skulle fungera. I klippet ovan kan man dock beskåda ett klipp där man pratar om den första offentliggjorda Playmation-leksaken och visar när några barn leker med den. Tumnagel
28.3°
0
torsdag 4 juni 2015 Bose släpper minihögtalaren Soundlink Mini Bluetooth II Samt uppgraderad version av QC20 Bose har nu släppt nya enheter för att bygga ut sitt massiva ljudbibliotek. Först ut är en uppföljare till Soundlink Mini Bluetooth som heter Soundlink Mini Bluetooth II, men nyheterna slutar inte vid en tvåa efter namnet. Den senaste versionen har utrustats med högtalartelefon, längre batteritid på 10 timmar, fler anslutningsmöjligheter och smidiga funktioner som underlättar ihopparning. QC20 har blivit uppgraderade med lite nya färger samt bättre Androidfunktionalitet, vilket innebär full musik- och samtalsfunktionalitet för Androidenheter. Enligt Bose är det Samsung Galaxy-lurar som får avnjuta av den höga funktionaliteten samt utvalda Androidenheter. Soundlinkhögtalaren kostar 1999 kronor och hörlurarna QC20 kommer kosta 2999 kronor när de blir tillgängliga i mitten av juni. Tumnagel
39.9°
0
Boeing patenterar drönare som kan laddas i luften Evighetsdrönare Flygplanstillverkarna Boeing har nyligen fått en patent godkänd om ett system som gör att drönare kan laddas utan att behöva landa, vilket skulle göra att drönare skulle kunna hålla sig i luften under väldigt långa perioder. Med hjälp av laddningsstationer som kan placeras på mark, tak eller på flygplan. Till exempel skulle en pizzeria ha en armada med drönare som ständigt laddas som snabbt kan skickas iväg och ge dig din pizza så fort den är redo att skickas från pizzerian. Ovan ser ni en video som berättar lite mer om patentet. Tumnagel
40.6°
0
Jawbone öppnar upp sin plattform för tredjepartstillverkare Huawei först ut med integrering Aktivitetsarmband och andra fitnesstrackers finns det gott om på marknaden. Så pass många att jätten Jawbone börjar se över sin stängda mjukvarustruktur och öppnar nu upp för tredjepartstillverkare att göra sina enheter med appen Jawbone Up. Först ut med Up-integrering är Huawei Talkband B2 som från och med idag kan skicka information som steg och sömncykler till appen. Tumnagel
37.8°
0
Nästa sida + Per månad 39 kr Betala löpande per månad. Ingen bindningstid. Starta prenumeration Per år 299 kr Enklast och billigast, bara 25 kronor i månaden. Betala löpande per år. Ingen bindningstid. Prova 14 dagar gratis innan du bestämmer dig. Starta gratis provperiod Engångsköp 349 kr Slipp återkommande betalningar, betala ett år i taget. Betala med kort eller Swish. Köp utan prenumeration