Teknik Motor Samhälle Spel Popkultur Fritid Tjock Tester Dagens fråga Tipsa! Skaffa Feber+ Mitt konto
Hetaste
Senaste
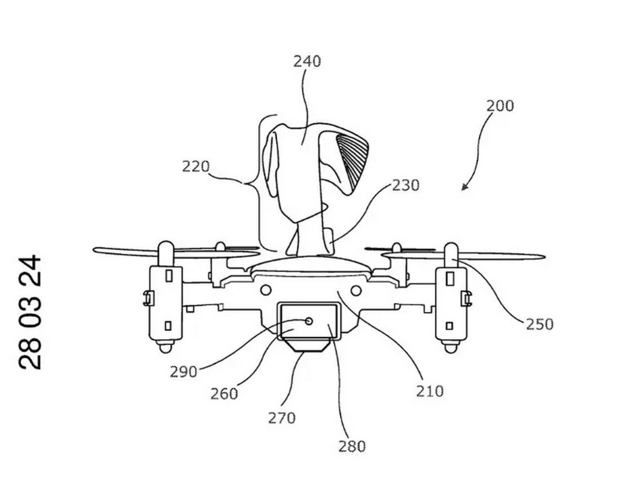
Bentley vill få sitt flygande B att flyga på riktigt Har tagit patent på liten drönare Bentley vill få sitt flygande B att flyga på riktigt Rolls-Royce har sin kylarprydnad Spirit of Ecstasy och Bentley har sitt Flying B. Ikoniska detaljer som i alla fall Bentley nu vill ge ett lyft - bokstavligt talat. Patentbilder har dykt upp och dessa visar att det finns planer på att göra prydnaden till något som kan flyga iväg med hjälp av en liten drönare. Drönaren som är utrustad med kamera ska man sedan kunna flyga runt med för att exempelvis leta efter en ledig parkeringsplats, eller kolla över trafiksituationen. Styrningen ska man sköta via sin smarta telefon eller via bilens infotainmentsystem.Det hela låter ju tokigt och såna här patent ska man alltid ta med en nypa salt, det är väldigt långt från alla som det någonsin blir något av. zero2turbo.com Bil, Bentley, drönare, Flying B, flygande, kylarprydnad, patent, wtf Bild till artikel
34.4° 0 Bobby Green Bobby Green
ons. 7 aug 2024, 16:00
+ Per månad 39 kr Betala löpande per månad. Ingen bindningstid. Starta prenumeration Per år 299 kr Enklast och billigast, bara 25 kronor i månaden. Betala löpande per år. Ingen bindningstid. Prova 14 dagar gratis innan du bestämmer dig. Starta gratis provperiod Engångsköp 349 kr Slipp återkommande betalningar, betala ett år i taget. Betala med kort eller Swish. Köp utan prenumeration