Teknik Motor Samhälle Spel Popkultur Fritid Tjock Tester Dagens fråga Tipsa! Skaffa Feber+ Mitt konto
Hetaste
Senaste
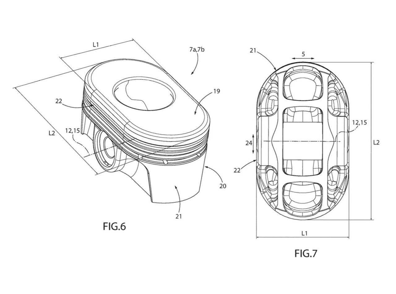
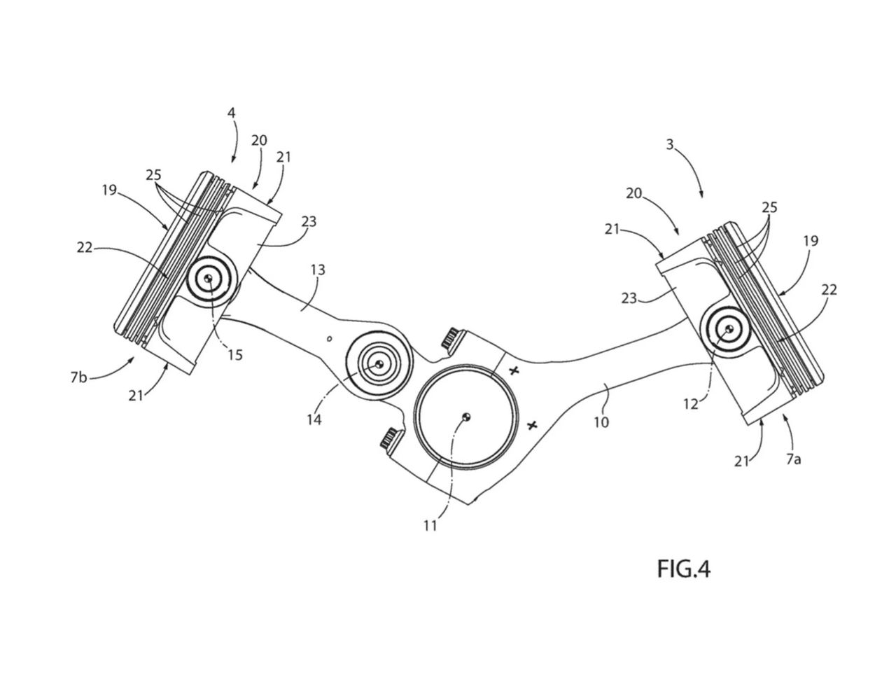
Ferrari tar patent på ovala kolvar Kan göra en V12-motor kortare Ferrari tar patent på ovala kolvar Redan 1979 hade Honda ovala kolvar i sin tävlingsmotorcykel NR500. Den hade en V4-motor och tanken var att ta fram en fyrtaktare som kunde hänga med tvåtaktarna ute på banan. Nu har Ferrari tagit patent på samma sak när det kommer till formen och deras prylar kan hamna i en framtida bilmotor. Fördelen med formen på dessa kolvar är att man då kan göra motorn kortare, vilket i sin tur gör att det finns mer plats för hybrid-prylar. Då kanske man kan fortsätta att använda sig av V12:or även i framtiden. carscoops.com Bil, Ferrari, oval, kolvar, kolv, patent, motor, V12 Bild till bildspel Bild till bildspel Bild till bildspel Bild till bildspel Bild till bildspel Bild till artikel Bild till artikel Bild till artikel Bild till artikel Bild till artikel Ferrari: Vi slutar med V12:or när det är förbjudet Kunderna älskar fortfarande många cylindrar Tumnagel 56.7° 0 Därför fick Ferraris nya superbil V6:a och inte V12:a "Är den bästa tekniska lösningen" Tumnagel 35.6° 0 Ferraris elbilar kommer låta och röra upp känslor Och man kommer aldrig överge förbränningsmotorer Tumnagel 36.7° 0 40.4° 0 Bobby Green Bobby Green
fre. 14 mar 2025, 15:00
+ Per månad 39 kr Betala löpande per månad. Ingen bindningstid. Starta prenumeration Per år 299 kr Enklast och billigast, bara 25 kronor i månaden. Betala löpande per år. Ingen bindningstid. Prova 14 dagar gratis innan du bestämmer dig. Starta gratis provperiod Engångsköp 349 kr Slipp återkommande betalningar, betala ett år i taget. Betala med kort eller Swish. Köp utan prenumeration