Teknik Motor Samhälle Spel Popkultur Fritid Tjock Tester Dagens fråga Tipsa! Skaffa Feber+ Mitt konto
Hetaste
Senaste
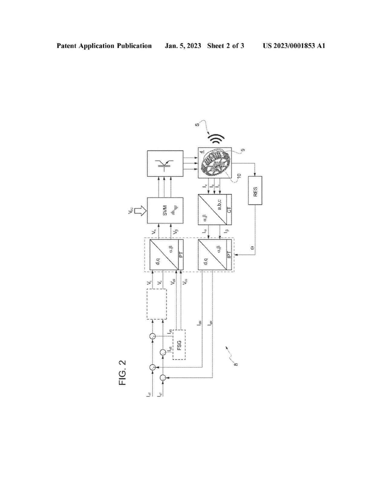
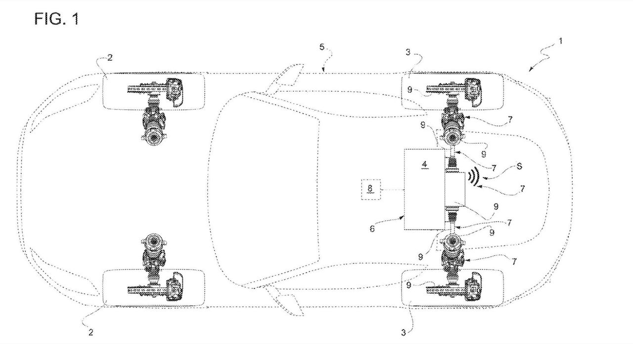
Ferraris framtida elbilar kanske får "riktigt" motorljud Det visar nya patentansökningar Ferraris framtida elbilar kanske får Ferrari har lämnat in en patentansökan på teknik som skulle kunna fejka motorljud. Om det är något som kommer att användas i framtiden återstår att se, men det känns ju inte omöjligt att detta då skulle kunna hamna i eldrivna versioner. Ferraris brukar ju oftast låta ganska så trevligt men då är det ju förbränningsmotorn som står för jobbet, en elmotor låter nästan alltid som en symaskin. Och det kanske inte är något som Ferrari vill förknippas med, så då tar man istället till fejkat motorljud. Men även om elbilarna kommer att låta mer tack vare detta så verkar det inte som att de kommer härma ljudet av en vrålande V8 eller V12. Istället verkar det som att ljudet från elmotorn ska förstärkas och sedan skickas ut i högtalare. carscoops.com Bil, Ferrari, patent, elbilar, motorljud, ljud, avgasljud, patentansökningar, elbil Bild till artikel Fejkat motorljud är: 2008 röster Coolt Ok Töntigt Vet ej Borla kan få din Ford Mustang Mach-E att låta som en V8:a Detta är bara så dumt Tumnagel 31.1° 0 Lyssna på Ferrari Purosangue Mysigt med V12 Tumnagel 37.3° 0 Lyssna på den eldrivna kompressorn i Audi SQ5 Sportback TDI Låter som en liten fågel Tumnagel 35.1° 0 30.2° 0 Bobby Green Bobby Green
mån. 23 jan 2023, 16:30
+ Per månad 39 kr Betala löpande per månad. Ingen bindningstid. Starta prenumeration Per år 299 kr Enklast och billigast, bara 25 kronor i månaden. Betala löpande per år. Ingen bindningstid. Prova 14 dagar gratis innan du bestämmer dig. Starta gratis provperiod Engångsköp 349 kr Slipp återkommande betalningar, betala ett år i taget. Betala med kort eller Swish. Köp utan prenumeration