Teknik Motor Samhälle Spel Popkultur Fritid Tjock Tester Dagens fråga Tipsa! Skaffa Feber+ Mitt konto
Hetaste
Senaste
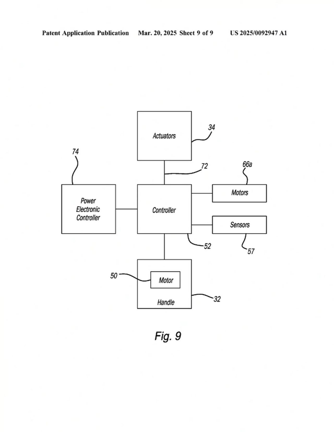
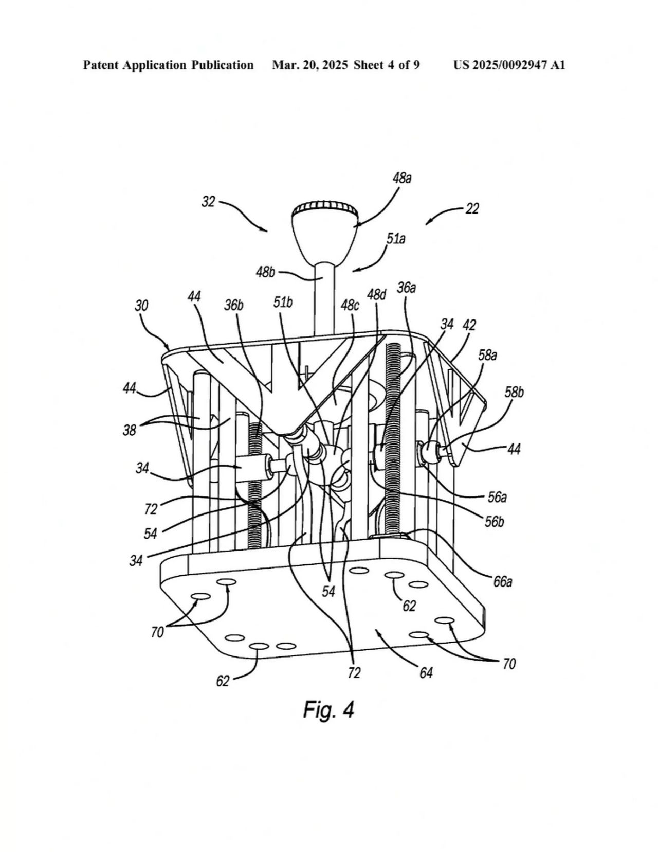
Ford tar patent på fejkad manuell växelspak till elbilar Smh Ford tar patent på fejkad manuell växelspak till elbilar En del biltillverkare som säljer elbilar verkar inte vilja att elbilarna är just elbilar, utan de vill fejka till det så att elbilarna ger oss en känsla av fossilbilar istället. Det blir sällan bra, oavsett vad folk (Roger) säger, och de ena fejkade motorljuden och fejkade växlingarna är sämre än de andra. Nu verkar det som att Ford vill ta det hela ytterligare ett steg. De har nämligen tagit patent på en växelväljare anpassad för elbilar, och denna ska man kunna vispa runt som i en vanlig fossildriven manuell bil. Men kopplingen mellan spaken och elmotorn är givetvis bara elektronisk, och spaken är mest där bara för känslans skull. Den har ett länkage under sig men detta är bara till för att ge föraren en ny dimension på elbilskörandet. Man ska även få feedback genom spaken när man växlar runt.Vad tycker ni om såna här påhitt? nypost.com Bil, Ford, patent, växelspak, fejk, fejkad, elbil, växlingar, feedback, fossilbil Bild till bildspel Bild till bildspel Bild till artikel Bild till artikel Alla Kia EV4 kommer få fejkade växlingar Och GT får fejkad varvtalsräknare Tumnagel 15.2° 0 Eldriven muskelbil - kan det vara något? Inte busig, kan inte burna och har fejkat motorljud Tumnagel 26.8° 0 Porsche lovar att inte använda fejkade växlingar i elbilar Skönt Tumnagel 45.9° 0 19.9° 0 Bobby Green Bobby Green
ons. 2 apr 2025, 16:40
+ Per månad 39 kr Betala löpande per månad. Ingen bindningstid. Starta prenumeration Per år 299 kr Enklast och billigast, bara 25 kronor i månaden. Betala löpande per år. Ingen bindningstid. Prova 14 dagar gratis innan du bestämmer dig. Starta gratis provperiod Engångsköp 349 kr Slipp återkommande betalningar, betala ett år i taget. Betala med kort eller Swish. Köp utan prenumeration