Teknik Motor Samhälle Spel Popkultur Fritid Tjock Tester Dagens fråga Tipsa! Skaffa Feber+ Mitt konto
Hetaste
Senaste
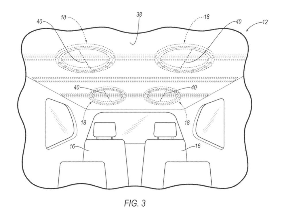
Ford tar patent på krockkudde i taket Kors i taket Ford tar patent på krockkudde i taket Nya bilar har krockkuddar överallt, men inte i taket, än. Detta kanske det kan bli ändring på då Ford lämnat in en patentansökan gällande just krockkuddar inbyggda i bilens tak. Som vi kan se på bilderna handlar det om fyra kuddar som efter att de har utlösts omsluter passagerarna i bilen. Som vanligt när det gäller patentansökningar behöver det inte innebära att detta är på väg snart, eller någonsin. teknikensvarld.expressen.se Bil, Ford, krockkudde, patent, tak, taket, säkerhet, airbag Bild till artikel
40.9° 0 Bobby Green Bobby Green
mån. 28 nov 2022, 12:00
+ Per månad 39 kr Betala löpande per månad. Ingen bindningstid. Starta prenumeration Per år 299 kr Enklast och billigast, bara 25 kronor i månaden. Betala löpande per år. Ingen bindningstid. Prova 14 dagar gratis innan du bestämmer dig. Starta gratis provperiod Engångsköp 349 kr Slipp återkommande betalningar, betala ett år i taget. Betala med kort eller Swish. Köp utan prenumeration