Teknik Motor Samhälle Spel Popkultur Fritid Tjock Tester Dagens fråga Tipsa! Skaffa Feber+ Mitt konto
Hetaste
Senaste
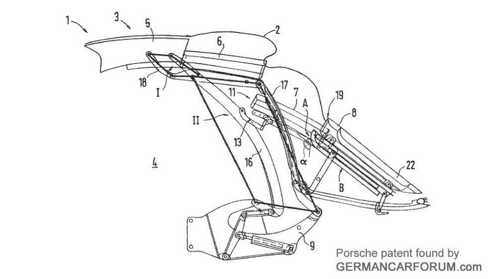
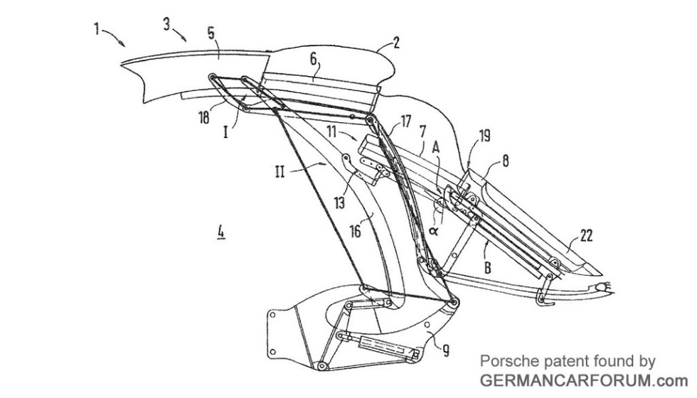
Rykten Nya Porsche 911 får plåt och tygtak Det verkar onekligen så Nya Porsche 911 får plåt och tygtak Nya Porsche 911 Carrera och Carrera S kommer att presenteras på årets upplaga av Frankfurt-mässan. Men det kommer fler versioner av modellen, bland annat cabrioleter nästa år. Här tar vi en närmare titt på takkonstruktionen till just dessa öppna vagnar, som verkar vara en blandning mellan tyg- och plåttak.Ryktena började sprida sig efter att Porsche lämnat in en ansökning om ett patent på ett fällbart tak i metall med fyra olika paneler. Dessa paneler täcks sedan med tyg och det hela blir då en kombinationen av de både materialen. Tyget ligger dikt an mot plåten på den första och den fjärde panelen, medan de bara sitter fast lite grann på den andra och den tredje, vilket gör att det fortfarande är flexibelt och kommer att vecka sig.Den här taklösningen innebär att linjerna kommer att bli mer coupé-liknande än vi är vana vid på cabbar med tygtak. Och det är väl knappast någon nackdel. gtspirit.com Bil, Rykten, Porsche, 911, 991, tak, cabriolet, cab Bild till bildspel Bild till bildspel Bild till bildspel Bild till artikel Bild till artikel Bild till artikel
37.4° 0 Bobby Green Bobby Green
tis. 30 aug 2011, 09:55
+ Per månad 39 kr Betala löpande per månad. Ingen bindningstid. Starta prenumeration Per år 299 kr Enklast och billigast, bara 25 kronor i månaden. Betala löpande per år. Ingen bindningstid. Prova 14 dagar gratis innan du bestämmer dig. Starta gratis provperiod Engångsköp 349 kr Slipp återkommande betalningar, betala ett år i taget. Betala med kort eller Swish. Köp utan prenumeration