Teknik Motor Samhälle Spel Popkultur Fritid Tjock Tester Dagens fråga Tipsa! Skaffa Feber+ Mitt konto
Hetaste
Senaste
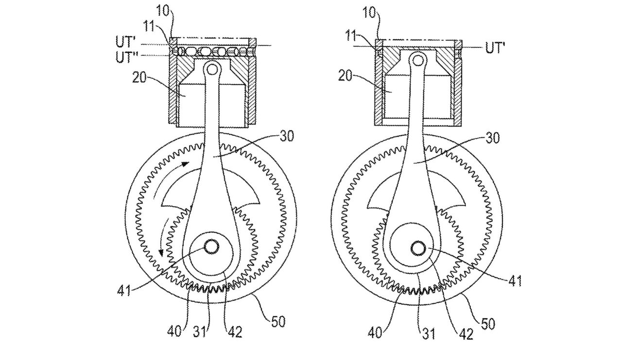
Porsche tar patent på sextaktsmotor Ska ge lägre utsläpp Porsche tar patent på sextaktsmotor Tvåtakt luktar gott men det var längesen detta var på tapeten och nu för tiden är det fyrtakt som gäller. Porsche håller dock på med nästa grej - sextakt. De har tagit patent på idén och motorn använder sig av en speciell vevstake som ger ytterligare en kompressionstakt och en arbetstakt. Genom att återcirkulera avgaserna ska det hela ge lägre förbrukning och sänka utsläppet. Motorn är dock ganska så komplex och det lär bli dyrt att ta fram och tillverka, så det återstår att se om det här patentet kommer att bli verklighet eller om det får stanna på skrivbordet. motor1.com Bil, Porsche, sextakt, sextaktsmotor, patent, design, motortyp Bild till artikel
46.3° 0 Bobby Green Bobby Green
tors. 19 sep 2024, 12:20
+ Per månad 39 kr Betala löpande per månad. Ingen bindningstid. Starta prenumeration Per år 299 kr Enklast och billigast, bara 25 kronor i månaden. Betala löpande per år. Ingen bindningstid. Prova 14 dagar gratis innan du bestämmer dig. Starta gratis provperiod Engångsköp 349 kr Slipp återkommande betalningar, betala ett år i taget. Betala med kort eller Swish. Köp utan prenumeration