Teknik Motor Samhälle Spel Popkultur Fritid Tjock Tester Dagens fråga Tipsa! Skaffa Feber+ Mitt konto
Hetaste
Senaste
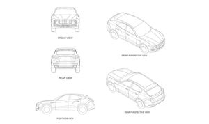
Så här ser Maseratis första suv ut Levante visar upp sig Så här ser Maseratis första suv ut Väldigt kort efter en teaserbild på fronten låter Maserati nu skynket falla för den helt nya modellen Levante som är ny mark för tillverkaren då det handlar om en suv. Premiär blir det i Genève nästa månad.Levante följer väl designmässigt de övriga modellerna i programmet så gott det går trots ett annat format. Grillen känner man ju såklart igen och de tre små hålen på skärmarna är som sig bör på plats. I profil ser man en del Quattroporte men bak känns det väldigt intetsägande. Motormässigt får vi inte reda på något för tillfället men klart är att bilen har fyrhjulsdrift, adaptiv luftfjädring och åttastegad automatlåda. Läckta uppgifter avslöjar dock att motorpaletten blir samma som i Ghibli, vilket innebär två stycken bensin-V6:or och en diesel-V6:a. Specen säger att Levante 350 gör 0-100 km/h på 6,3 sekunder med en toppfart på 243 km/h. Levante 450 har istället siffrorna 5,2 sekunder och toppfarten 264 km/h. Dieseln ska göra 0-100 på 6,9 och toppa 230.Mer uppgifter kommer så fort de släpps. carscoops.com Bil, Maserati, Levante, bilder, suv, officiell, Genève Bild till bildspel Bild till bildspel Bild till bildspel Bild till artikel Bild till artikel Bild till artikel Maserati släpper teaserbild på Levante Den kommande suven Tumnagel 39.1° 0 Patentritningar för Maserati Levante läcker ut Så här kommer suven att se ut Tumnagel 32.5° 0 48.1° 0 Bobby Green Bobby Green
lör. 20 feb 2016, 12:30
+ Per månad 39 kr Betala löpande per månad. Ingen bindningstid. Starta prenumeration Per år 299 kr Enklast och billigast, bara 25 kronor i månaden. Betala löpande per år. Ingen bindningstid. Prova 14 dagar gratis innan du bestämmer dig. Starta gratis provperiod Engångsköp 349 kr Slipp återkommande betalningar, betala ett år i taget. Betala med kort eller Swish. Köp utan prenumeration