Teknik Motor Samhälle Spel Popkultur Fritid Tjock Tester Dagens fråga Tipsa! Skaffa Feber+ Mitt konto
Hetaste
Senaste
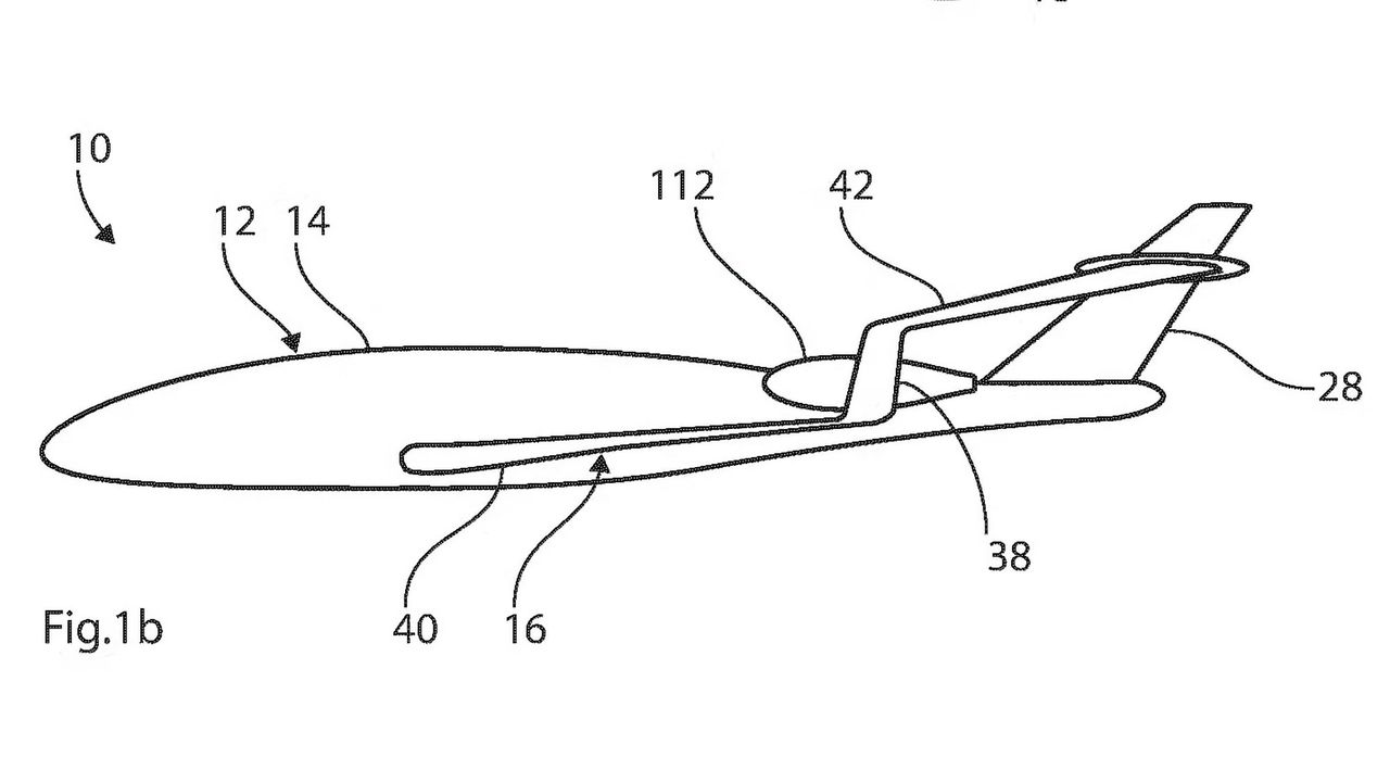
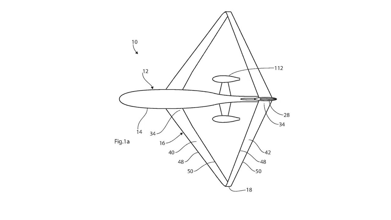
Christian von Koenigsegg tar patent på flygplansmodell Ska biltillverkaren börja göra flygplan? Christian von Koenigsegg tar patent på flygplansmodell Foto: Christian von Koenigsegg / WIPO Christian von Koenigsegg, grundaren av det svenska superbilsföretaget Koenigsegg, verkar ha haft lite tid över och använt den till att designa en flygplansmodell.Det är CarBuzz som har hittat patent hos den internationella upphovsrättsorganisationen WIPO ("World Intellectual Property Organization") där ett patent från von Koenigsegg beskriver ett flygplan med sluten vingkonfiguration ("closed-wing aircraft"). Tanken bakom designen är att den skulle ge mindre luftmotstånd då vingspetsar saknas, något som skulle kunna förbättra flygplanets aerodynamik och minska bränsleförbrukningen. Huruvida von Koenigsegg planerar att faktiskt tillverka flygplanet han designat finns det än så länge inga uppgifter om. Ni hittar bilder från von Koenigseggs flygplanspatent ovan och nedan. patentscope.wipo.int Fordon, Flygplan, Christian von Koenigsegg, Koenigsegg, patent, wipo Via carbuzz.com Bild till bildspel Bild till bildspel Bild till artikel Foto: Christian von Koenigsegg / WIPO Bild till artikel Foto: Christian von Koenigsegg / WIPO
43.8° 0 Wille Wilhelmsson Wille Wilhelmsson
ons. 30 jul 2025, 13:00
+ Per månad 39 kr Betala löpande per månad. Ingen bindningstid. Starta prenumeration Per år 299 kr Enklast och billigast, bara 25 kronor i månaden. Betala löpande per år. Ingen bindningstid. Prova 14 dagar gratis innan du bestämmer dig. Starta gratis provperiod Engångsköp 349 kr Slipp återkommande betalningar, betala ett år i taget. Betala med kort eller Swish. Köp utan prenumeration