Teknik Motor Samhälle Spel Popkultur Fritid Tjock Tester Dagens fråga Tipsa! Skaffa Feber+ Mitt konto
Hetaste
Senaste
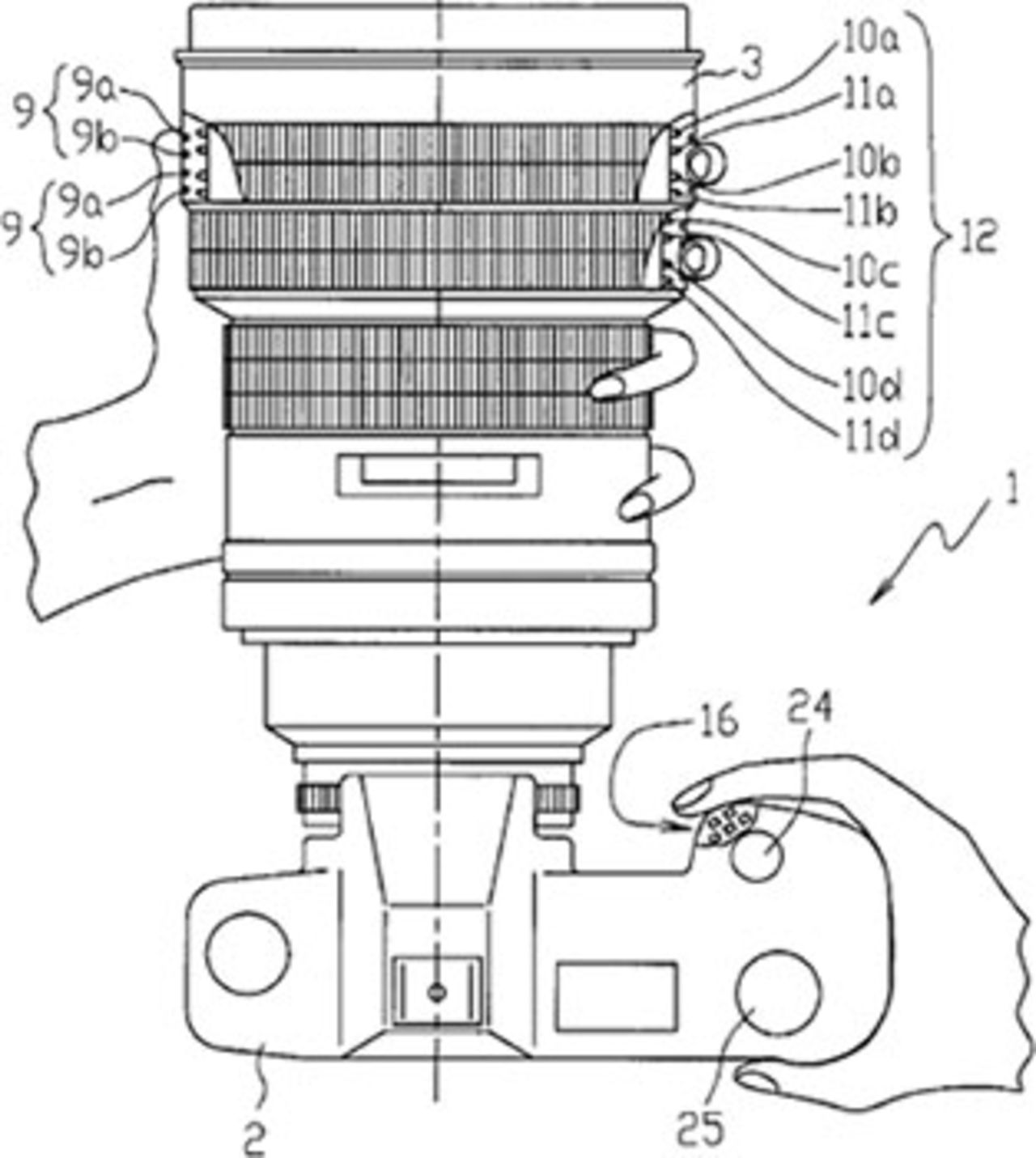
Patent Kameran som känner vad du känner Och sedan tar beslut åt dig Kameran som känner vad du känner Detta må vara ett av de sjukaste kamerapatenten på länge, en kamera som reagerar på din puls med mera. Det är Nikon som fått för sig att det är en bra idé att låta en kamera känna av ditt blodtryck, kroppsvärme och annat galet för att låta kameran ta beslut åt dig.Exempelvis kanske den känner att du är lite nervös och ger dig därför snabbare slutartid för att undvika skak. Om du plåtar sport eller liknande så kanske kameran kan känna av att kroppen reagerar på något och därför ta en bild snabbare än vad dina reflexer kan.Själv har jag hellre den här funktionen i min mobil som då skulle stänga av Facebook, Twitter med mera om den kände att man var onykter.Chansen (eller ska vi säga risken?) att detta patent blir en riktig produkt är nog inte så stor. petapixel.com Foto, Övrigt, patent, galenskap, nikon
36.8° 0 Gordon Andersson Gordon Andersson
tis. 19 jul 2011, 14:21
+ Per månad 39 kr Betala löpande per månad. Ingen bindningstid. Starta prenumeration Per år 299 kr Enklast och billigast, bara 25 kronor i månaden. Betala löpande per år. Ingen bindningstid. Prova 14 dagar gratis innan du bestämmer dig. Starta gratis provperiod Engångsköp 349 kr Slipp återkommande betalningar, betala ett år i taget. Betala med kort eller Swish. Köp utan prenumeration