Teknik Motor Samhälle Spel Popkultur Fritid Tjock Tester Dagens fråga Tipsa! Skaffa Feber+ Mitt konto
Hetaste
Senaste
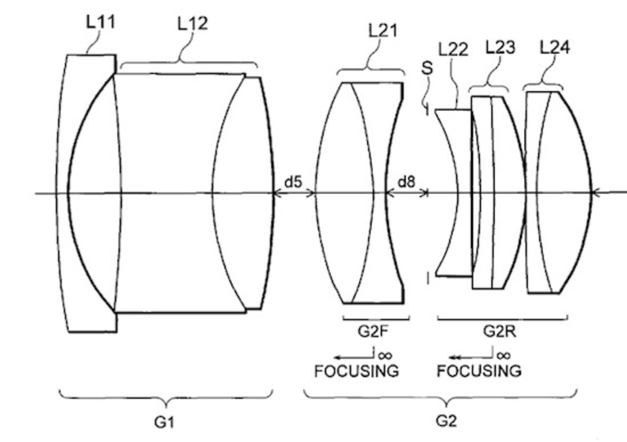
Nikon får patent på 35mm f/1.4 Uppföljare på det kassa 35mm f/2.0 på väg? Nikon får patent på 35mm f/1.4 Till alla nikonanvändare där ute, nu verkar det äntligen hända, ljusstarka fasta objektiv till oss också. Canon har länge haft en serie fasta gluggar med bra ljusstyrka men som nikonanvändare har man fått nöja sig med 50mm och 85mm f/1.4. Ville man för ett par månader sedan ha mer vidvinkliga objektiv fick man slopa ljusstyrkan och kom igen, vem vill ha ett 35mm f/2.0 eller 24mm f/2.8? För ett litet tag sedan lanserade dock Nikon (det alldeles för dyra) 24mm f/1.4 och nu har de även fått igenom en patentansökan om ett 35mm f/1.4.När vi får se de senare objektivet på marknaden vet vi tyvärr ingenting om, en patentansökan är inte ens en säkerhet att det verkligen händer (men det är väldigt troligt). Jag kommer dock vara glad för det lilla då detta är en punkt som många gånger fått mig att vilja byta märke. freepatentsonline.com Foto, Fotografer, nikon, patent, 35mm, 24mm, objektiv, canon Via Nikon Rumors
37.4° 0 Gordon Andersson Gordon Andersson
tis. 13 apr 2010, 10:00
+ Per månad 39 kr Betala löpande per månad. Ingen bindningstid. Starta prenumeration Per år 299 kr Enklast och billigast, bara 25 kronor i månaden. Betala löpande per år. Ingen bindningstid. Prova 14 dagar gratis innan du bestämmer dig. Starta gratis provperiod Engångsköp 349 kr Slipp återkommande betalningar, betala ett år i taget. Betala med kort eller Swish. Köp utan prenumeration