Teknik Motor Samhälle Spel Popkultur Fritid Tjock Tester Dagens fråga Tipsa! Skaffa Feber+ Mitt konto
Hetaste
Senaste
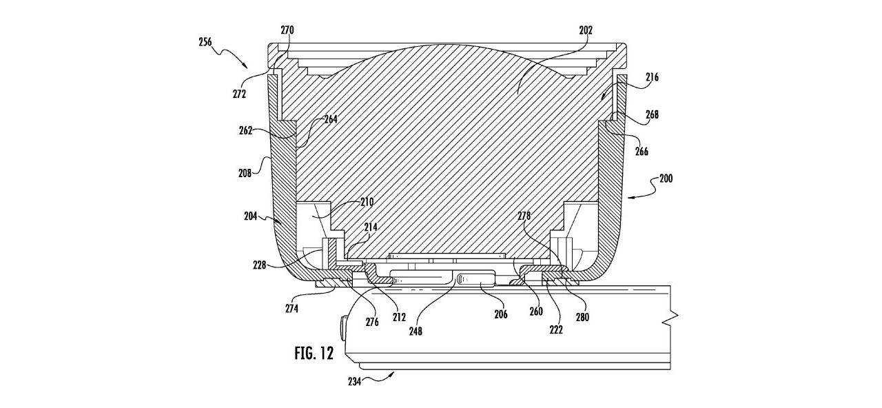
Objektivfattning i iPhone? Ännu ett patent som visar det Objektivfattning i iPhone? Patent-bilden vi ser här är det andra patentet vi ser från Apple som visar någon form av objektivfattning för iPhone. Det visar på att Apple lagt ned lite tid på detta så kanske är det något vi får se i framtiden. Skillnaden mellan det förra patentet och detta patent var att det förra i princip bara var en magnetisk ring kring kameran medan detta visar en mer avancerad bajonettfattning. Patentet visar även en teknik som gör att objektivet hoppar av vid hårda stötar så att man ej skadar telefonen och fattningen.Vad tror ni om detta, vill du kunna byta objektiv på din telefon? connect.dpreview.com Foto, Rykten, patent, iphone, rykte, objektiv, mobilkamera
39.8° 0 Gordon Andersson Gordon Andersson
ons. 2 apr 2014, 12:23
+ Per månad 39 kr Betala löpande per månad. Ingen bindningstid. Starta prenumeration Per år 299 kr Enklast och billigast, bara 25 kronor i månaden. Betala löpande per år. Ingen bindningstid. Prova 14 dagar gratis innan du bestämmer dig. Starta gratis provperiod Engångsköp 349 kr Slipp återkommande betalningar, betala ett år i taget. Betala med kort eller Swish. Köp utan prenumeration