Teknik Motor Samhälle Spel Popkultur Fritid Tjock Tester Dagens fråga Tipsa! Skaffa Feber+ Mitt konto
Hetaste
Senaste
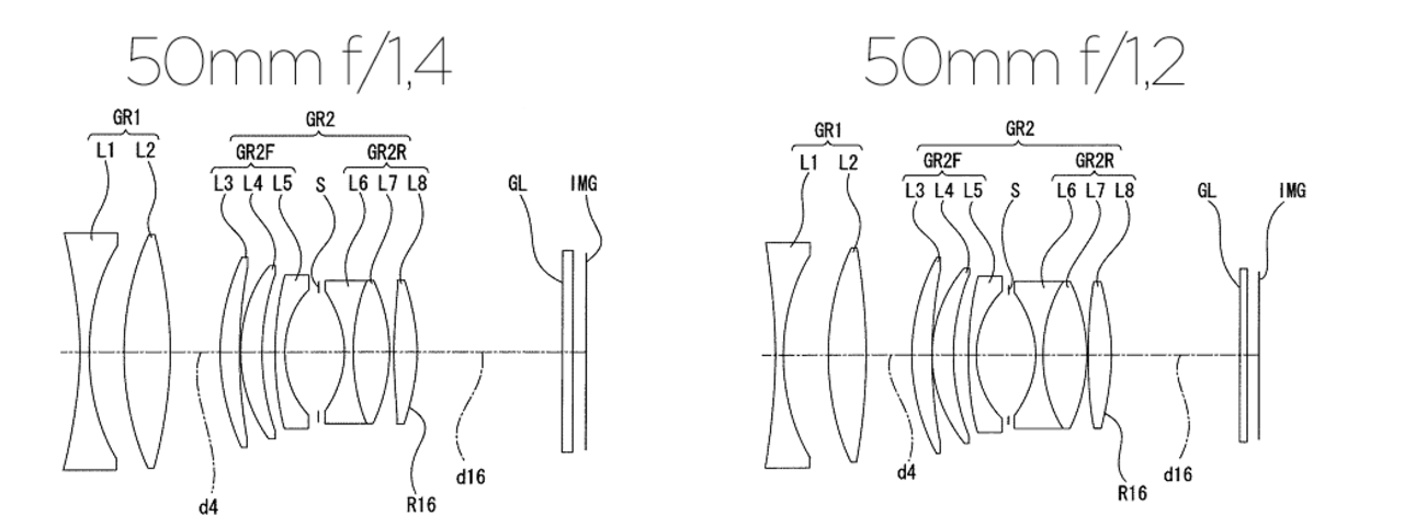
Sony kommer med ett 50mm f/1,2? Patent Sony kommer med ett 50mm f/1,2? De har åtminstone ansökt om patent på ett Oftast när jag lägger upp patent-artiklar så handlar det om Canon eller Nikon som håller på med någon mystisk teknik. Ibland så handlar de även om Olympus som historiskt sätt är ett väldigt innovativt kameramärke.Idag blir det dock för en gång skull Sony som är i rampljuset med två objektivpatent. Sony är väldigt nya på systemkameramarknaden men har från första början försökt att även rikta sig mot semi-proffs. Nu var det länge sedan de uppdaterade sin proffskamera men de verkar inte som om de lagt det segmentet på is riktigt än. Dessa patent visar nämligen bland annat upp ett 50mm f/1,2-objektiv.Det andra patentet visar ett 50mm f/1,4. photorumors.com Foto, Rykten, sony, patent, objektiv, 50mm, rykte
37.5° 0 Gordon Andersson Gordon Andersson
ons. 15 jun 2011, 10:25
+ Per månad 39 kr Betala löpande per månad. Ingen bindningstid. Starta prenumeration Per år 299 kr Enklast och billigast, bara 25 kronor i månaden. Betala löpande per år. Ingen bindningstid. Prova 14 dagar gratis innan du bestämmer dig. Starta gratis provperiod Engångsköp 349 kr Slipp återkommande betalningar, betala ett år i taget. Betala med kort eller Swish. Köp utan prenumeration