Teknik Motor Samhälle Spel Popkultur Fritid Tjock Tester Dagens fråga Tipsa! Skaffa Feber+ Mitt konto
Hetaste
Senaste
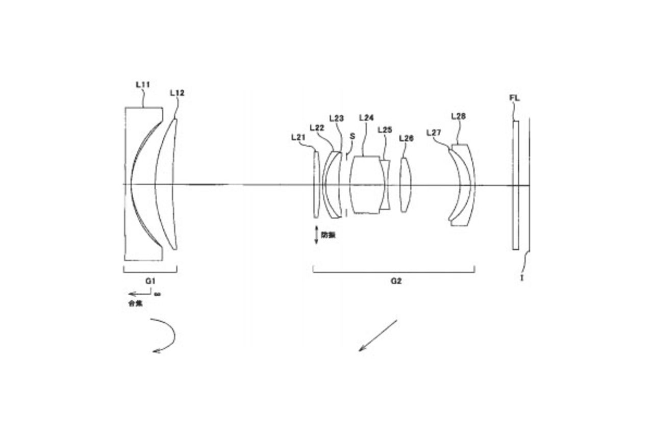
Spegellös fullformatare från Nikon på gång? Nytt patent visar ett objektiv för en sådan kamera Spegellös fullformatare från Nikon på gång? Här är ett lite udda patent från Nikon som nyligen dykt upp på nätet då det blev godkänt men som Nikon ansökte om i maj förra året. Patentet föreställer ett objektiv för fullformatskameror och med en brännvidd på 28-80mm och en ljusstyrka på f/3.5-5.6 så är det inget speciellt.Vad som gör det hela speciellt är att det är anpassat för en spegellös kamera. Det är nämligen så att Nikon i dagsläget inte har någon spegellös kamera med sensor i fullformat så frågan är om det är något som vi kan få se dyka upp under nästa år? nikonrumors.com Foto, Nikon, patent, sensor, spegellös, rykte
40.0° 0 Gordon Andersson Gordon Andersson
tis. 16 dec 2014, 16:15
+ Per månad 39 kr Betala löpande per månad. Ingen bindningstid. Starta prenumeration Per år 299 kr Enklast och billigast, bara 25 kronor i månaden. Betala löpande per år. Ingen bindningstid. Prova 14 dagar gratis innan du bestämmer dig. Starta gratis provperiod Engångsköp 349 kr Slipp återkommande betalningar, betala ett år i taget. Betala med kort eller Swish. Köp utan prenumeration