Teknik Motor Samhälle Spel Popkultur Fritid Tjock Tester Dagens fråga Tipsa! Skaffa Feber+ Mitt konto
Hetaste
Senaste
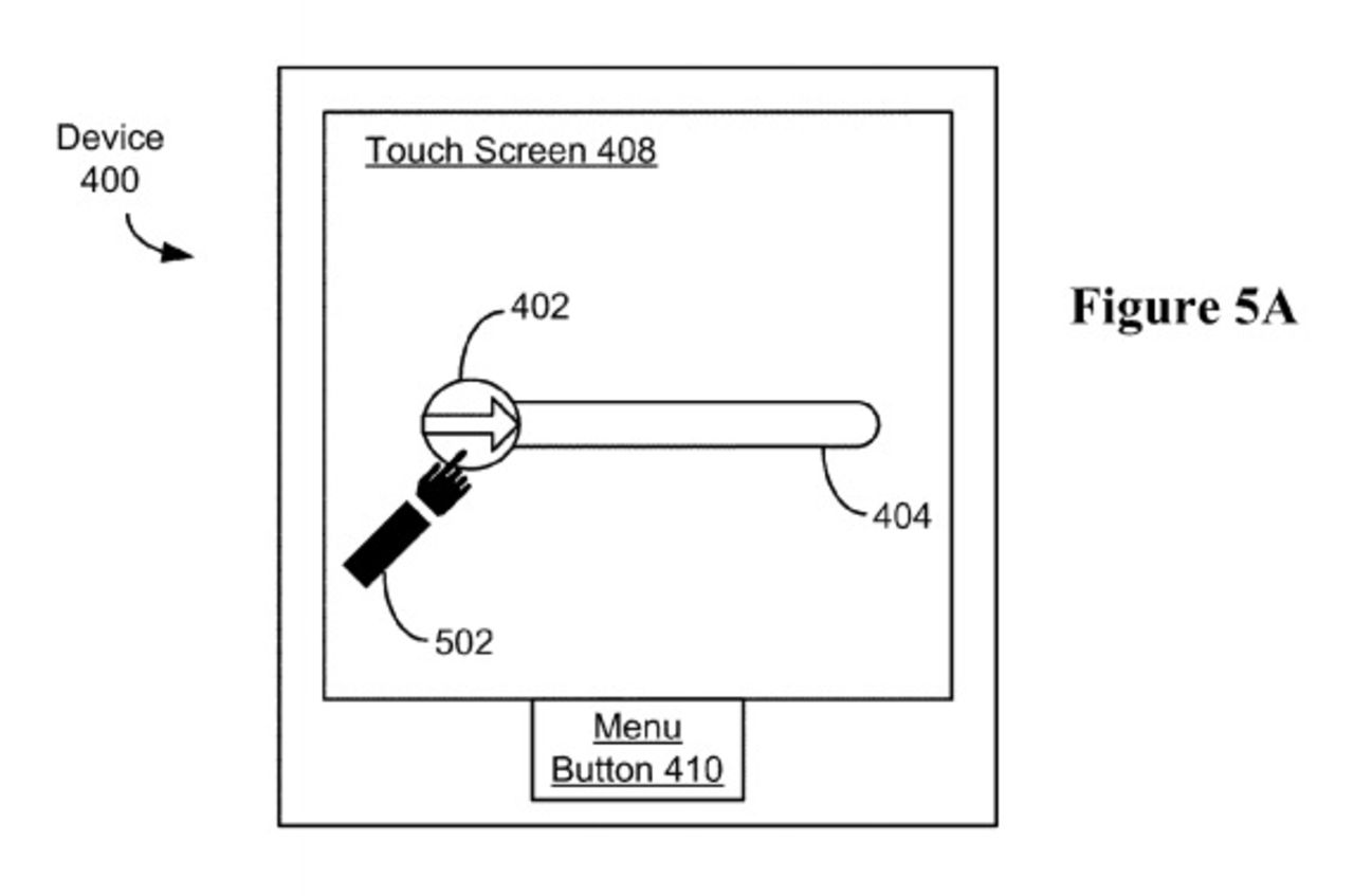
Apple beviljas utökat slide-to-unlock-patent Ligger Android-tillverkare än mer i farozonen nu? Apple beviljas utökat slide-to-unlock-patent Apples välkända slide-to-unlock-patent, det vill säga hur man låser upp en iOS-apparat, beviljades 2010 men redan 2011 fick Apple en uppdaterad version av patentet godkänt och nu har man fått igenom en tredje uppdatering av patentet. De flesta länder tillåter inte att man uppdaterar patent i efterhand men i USA är det helt enligt reglerna.I den tredje upplagan av slide-to-unlock-patentet krävs nu inte längre att man drar fingret från punkt A till punkt B för att låsa upp telefonen utan den nya versionen beskriver ett bredare patent där man kan dra fingret från var som helst på skärmen till en ospecificerad plats på skärmen för att låsa upp telefonen.Om detta kan leda till juridiska tvister med en del Android-tillverkare, som hittills har gjort sitt bästa för att komma runt Apples ursprungs-patent, är i dagsläget svårt att svara på. Eventuellt har Apple gjort den här uppdateringen för att skydda sig själva från framtida stämningar men det är kanske inte helt otroligt att Apple kan använda det mot andra tillverkare vid senare tillfälle. theverge.com iOS, Övrigt, apple, patent, ios, juridik
24.4° 0 Wille Wilhelmsson Wille Wilhelmsson
tors. 11 okt 2012, 12:31
+ Per månad 39 kr Betala löpande per månad. Ingen bindningstid. Starta prenumeration Per år 299 kr Enklast och billigast, bara 25 kronor i månaden. Betala löpande per år. Ingen bindningstid. Prova 14 dagar gratis innan du bestämmer dig. Starta gratis provperiod Engångsköp 349 kr Slipp återkommande betalningar, betala ett år i taget. Betala med kort eller Swish. Köp utan prenumeration