Teknik Motor Samhälle Spel Popkultur Fritid Tjock Tester Dagens fråga Tipsa! Skaffa Feber+ Mitt konto
Hetaste
Senaste
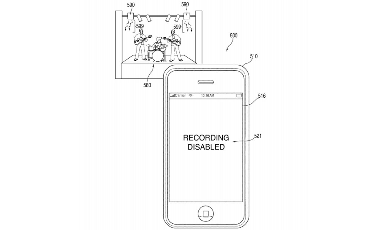
Apple tar patent på kamerablockeringsteknik Så man inte längre kan filma Hamilton-musikalen Apple tar patent på kamerablockeringsteknik Apple har lagt patent på en funktion som gör att man via infraröda sändare inaktiverar kameran på iPhone i områden där man inte vill att folk skall använda den. Detta skulle till exempel kunna användas vid konserter, teaterframträdande eller biografer där man då skulle kunna få för sig att filma upphovsrättsskyddat material eller störa skådespelare/artister på scener.Som så ofta med patent vet man ju aldrig om det blir av eller ej men blir det något så känns det ju som det skulle generera ett antal arga kunder. Förutom det så finns det ju alltid risk att detta sedan kommer missbrukas av regimer som inte vill att man dokumenterar eventuella hemskheter. telegraph.co.uk iOS, Övrigt, iPhone, Apple, Patent
1.1° 0 Frode Wikesjö Frode Wikesjö
tors. 30 jun 2016, 14:15
+ Per månad 39 kr Betala löpande per månad. Ingen bindningstid. Starta prenumeration Per år 299 kr Enklast och billigast, bara 25 kronor i månaden. Betala löpande per år. Ingen bindningstid. Prova 14 dagar gratis innan du bestämmer dig. Starta gratis provperiod Engångsköp 349 kr Slipp återkommande betalningar, betala ett år i taget. Betala med kort eller Swish. Köp utan prenumeration