Teknik Motor Samhälle Spel Popkultur Fritid Tjock Tester Dagens fråga Tipsa! Skaffa Feber+ Mitt konto
Hetaste
Senaste
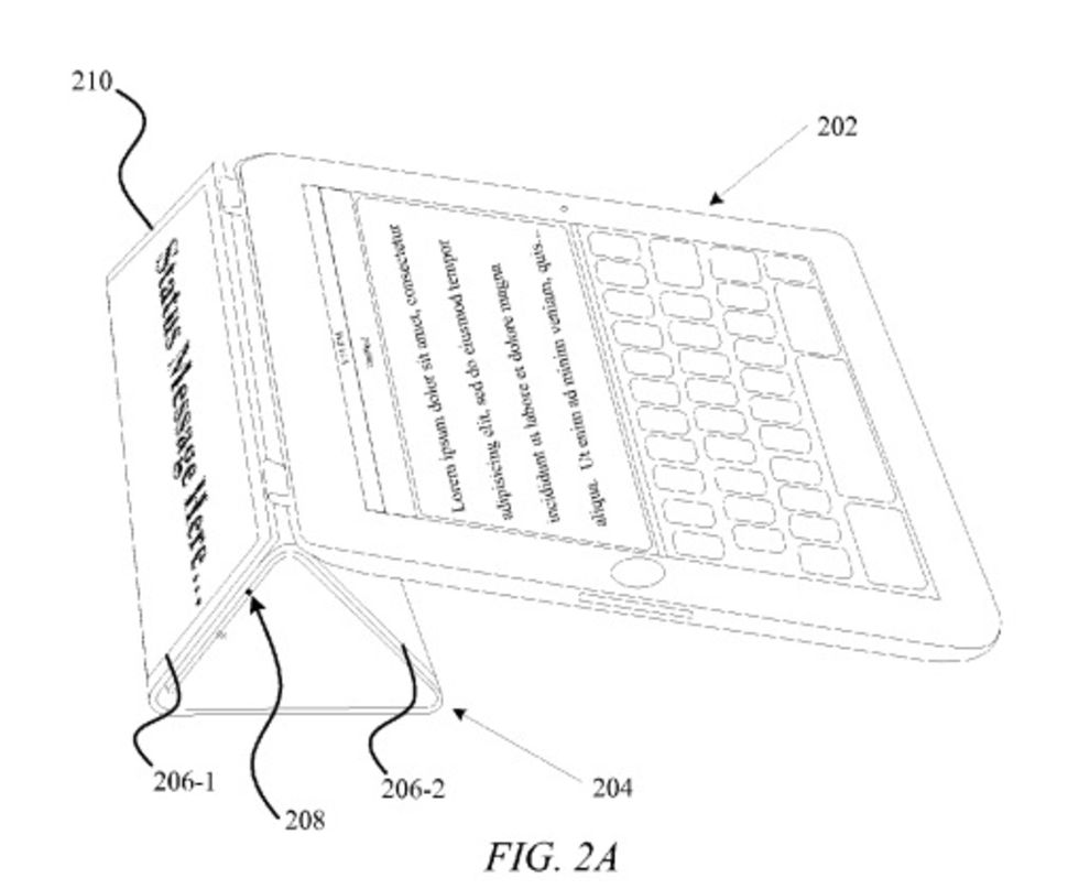
Apple vill ha patent på skärm i iPads Smart Cover För att rita på, använda som tangenbord eller helt enkelt som skärm Apple vill ha patent på skärm i iPads Smart Cover United States Patent and Trademark Office (USPTO) har offentliggjort en patentansökan från Apple som beskriver ett patent där man implementerar en pekskärm i iPadens fodral Smart Cover.Skärmen skulle drivas med el från en kontakt på iPaden (se bild nedan) och skärmen skulle till exempel kunna användas för att visa upp extra ikoner eller som en mediaspelar-kontroll. En del av de inlämnade skisserna visar även att den extra skärmen skulle kunna användas som en ritplatta eller ett tangentbord.Från patentansökan till färdig produkt brukar det oftast vara en ganska så lång tidsperiod men väl genomfört så känns det här spontant som en produkt jag gärna hade kompletterat min egen iPad med. engadget.com iPad, Tillbehör, apple, patent, ipad, smart cover, second screen Bild till bildspel Bild till bildspel Bild till bildspel Bild till bildspel Bild till artikel Bild till artikel Bild till artikel Bild till artikel
34.8° 0 Wille Wilhelmsson Wille Wilhelmsson
tors. 2 aug 2012, 14:45
+ Per månad 39 kr Betala löpande per månad. Ingen bindningstid. Starta prenumeration Per år 299 kr Enklast och billigast, bara 25 kronor i månaden. Betala löpande per år. Ingen bindningstid. Prova 14 dagar gratis innan du bestämmer dig. Starta gratis provperiod Engångsköp 349 kr Slipp återkommande betalningar, betala ett år i taget. Betala med kort eller Swish. Köp utan prenumeration