Teknik Motor Samhälle Spel Popkultur Fritid Tjock Tester Dagens fråga Tipsa! Skaffa Feber+ Mitt konto
Hetaste
Senaste
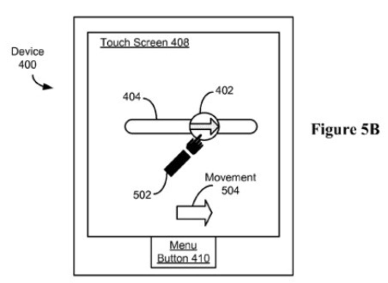
Apple får nytt viktigt patent Patent på hur man låser upp telefonen Apple får nytt viktigt patent Apple har precis knipit åt sig ett viktigt patent i patentkriget mot Android och alla dess tillverkare. Det blev nämligen nyligen klart att Apple numera har patent på sitt sätt att låsa upp skärmen samt liknande lösningar. De har enligt patenttexten patent på att låsa upp en telefon med pekskärm genom att dra fingret från en punkt till en annan förutbestämd punkt.Detta innebär problem för många, bland annat Sony Ericsson och Motorola använder sig nämligen med sådana lösningar. Att patentet är ganska löjligt kan man tycka men nu är det ett faktum och det lär bli en hel del rabalder efter detta.Här är patenttexten för er som vill veta exakt vad det rör sig om:"A device with a touch-sensitive display may be unlocked via gestures performed on the touch-sensitive display. The device is unlocked if contact with the display corresponds to a predefined gesture for unlocking the device. The device displays one or more unlock images with respect to which the predefined gesture is to be performed in order to unlock the device. The performance of the predefined gesture with respect to the unlock image may include moving the unlock image to a predefined location and/or moving the unlock image along a predefined path. The device may also display visual cues of the predefined gesture on the touch screen to remind a user of the gesture." theregister.co.uk iPhone, Övrigt, Patent, krig, galenskap, it's on like donkey kong
32.7° 0 Gordon Andersson Gordon Andersson
ons. 26 okt 2011, 15:28
+ Per månad 39 kr Betala löpande per månad. Ingen bindningstid. Starta prenumeration Per år 299 kr Enklast och billigast, bara 25 kronor i månaden. Betala löpande per år. Ingen bindningstid. Prova 14 dagar gratis innan du bestämmer dig. Starta gratis provperiod Engångsköp 349 kr Slipp återkommande betalningar, betala ett år i taget. Betala med kort eller Swish. Köp utan prenumeration