Teknik Motor Samhälle Spel Popkultur Fritid Tjock Tester Dagens fråga Tipsa! Skaffa Feber+ Mitt konto
Hetaste
Senaste
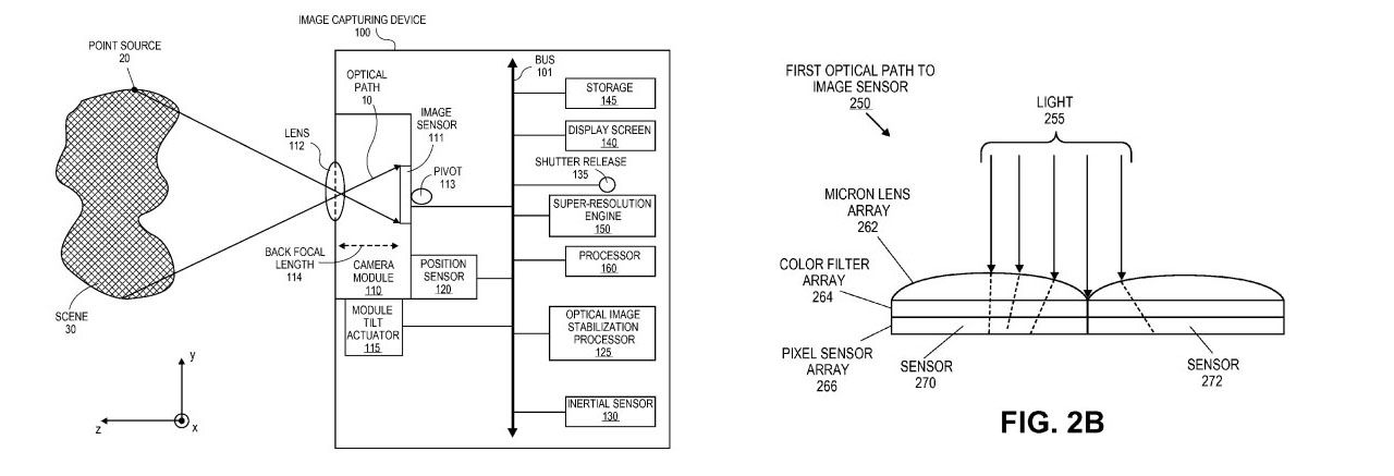
Apple-patent visar intressant kamerateknik Använder bildstabiliseringen för att öka upplösningen Apple-patent visar intressant kamerateknik Apple har ansökt om ett patent som kan vara intressant för den som gillar att ta högupplösta bilder med sin kamera. Patentet visar en teknik hur de kan använda den optiska bildstabiliseringen för att ta foton med högre upplösning än vad sensorn egentligen klarar av.Detta fungerar genom att kameran tar en bild, förskjuter linsen lite, tar en till och gör så ett par gånger för att sedan lägga ihop dessa bilder till en. Sen är frågan, hur bra kommer det att fungera? connect.dpreview.com iPhone, Hårdvara, apple, patent, bildstabilisering, mobilkamera
40.7° 0 Gordon Andersson Gordon Andersson
fre. 9 maj 2014, 10:37
+ Per månad 39 kr Betala löpande per månad. Ingen bindningstid. Starta prenumeration Per år 299 kr Enklast och billigast, bara 25 kronor i månaden. Betala löpande per år. Ingen bindningstid. Prova 14 dagar gratis innan du bestämmer dig. Starta gratis provperiod Engångsköp 349 kr Slipp återkommande betalningar, betala ett år i taget. Betala med kort eller Swish. Köp utan prenumeration