Teknik Motor Samhälle Spel Popkultur Fritid Tjock Tester Dagens fråga Tipsa! Skaffa Feber+
Hetaste
Senaste
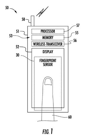
Rykte iPhone 5C på gång? C står för "colour"? iPhone 5C på gång? Det har sedan ett tag tillbaka florerat rykten om att Apple kommer att släppa en billigare version av iPhone som eventuellt ska komma i andra färger än bara svart eller vitt. Det ryktet får nu än mer vatten på sin kvarn efter det att bilden ovan dök upp på en fransk teknik-sajt.Enligt bedömare så ska bilden kunna föreställa ett gäng med förpackningar till en kommande iPhone-modell som går under namnet iPhone 5C. Själva C:et i namnet på den nya modellen sägs eventuellt kunna stå för det engelska ordet för färg, "colour". macrumors.com iPhone, Hårdvara, apple, rykte, iphone, iphone 5c, iphone 5 colour Fingeravtrycksläsare inbyggt i skärmen på nya iPhone? Nytt Apple-patent visar hur det skulle kunna gå Tumnagel 45.4° 0 Är detta nya iPhone? Eller ja, baksidan av nya iPhone i alla fall Tumnagel 30.8° 0 Fler läckta bilder på iPhone 5S Yey, större batteri Tumnagel 34.3° 0 30.0° 0 Wille Wilhelmsson Wille Wilhelmsson
mån. 29 jul 2013, 11:42
+ Per månad 39 kr Betala löpande per månad. Ingen bindningstid. Starta prenumeration Per år 299 kr Enklast och billigast, bara 25 kronor i månaden. Betala löpande per år. Ingen bindningstid. Prova 14 dagar gratis innan du bestämmer dig. Starta gratis provperiod Engångsköp 349 kr Slipp återkommande betalningar, betala ett år i taget. Betala med kort eller Swish. Köp utan prenumeration