Teknik Motor Samhälle Spel Popkultur Fritid Tjock Tester Dagens fråga Tipsa! Skaffa Feber+ Mitt konto
Hetaste
Senaste
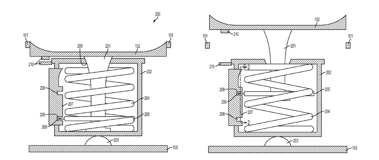
Joystick-patent från Apple Hemknappen blir en joystick Joystick-patent från Apple Detta kan vara ett av de roligare men även mest otroliga Apple-patent vi sett på senare tid. I detta patent kan vi se att i alla fall någon på Apple har funderat på hur man skulle kunna bygga telefonen lite annorlunda för att göra den till en bättre spelmaskin. Den lösning som Apple tagit patent på är en teknik för att låta hemknappen ploppa ut och bli en joystick vid behov och det är ju inte helt dumt om det mot förmodan skulle fungera utan att försämra knappen.Patentet ansöktes i juli 2013 och även om det nu har godkänts så har jag svårt att tro att vi får se detta i en kommande telefon. Men även om vi inte får se detta så ger det i alla fall en inblick i vad Apple funderar över. appft.uspto.gov iPhone, Hårdvara, patent, apple, iphone Bild till artikel
49.4° 0 Gordon Andersson Gordon Andersson
tors. 15 jan 2015, 22:00
+ Per månad 39 kr Betala löpande per månad. Ingen bindningstid. Starta prenumeration Per år 299 kr Enklast och billigast, bara 25 kronor i månaden. Betala löpande per år. Ingen bindningstid. Prova 14 dagar gratis innan du bestämmer dig. Starta gratis provperiod Engångsköp 349 kr Slipp återkommande betalningar, betala ett år i taget. Betala med kort eller Swish. Köp utan prenumeration