Teknik Motor Samhälle Spel Popkultur Fritid Tjock Tester Dagens fråga Tipsa! Skaffa Feber+
Hetaste
Senaste
onsdag 30 juli fortsättning Öppna i ny flik Visa artikeltext Tumnagel Marques testar att överge sin MacBook För att hårdköra iPadOS 26 Om lite mer än en månad släpper Apple skarpa versionen av iPadOS 26 med funktioner som fönsterhantering likt macOS. Många ser förstås fram emot den uppdateringen, men det går redan nu att installera betan av uppdateringen på kompatibla iPads. Precis det har Marques Brownlee gjort, samtidigt som han ersatte sin dator med en iPad för allt annat än videoredigering. Hur det gick går att se i videon ovan. 0
35.6°
ons. 30 jul 2025, 19:40
Tumnagel Nya tortillachips smakar som batterier Nytt från Santa Maria Kryddföretaget Santa Maria har lanserat tortillachips som man säger ska smaka som 9V-batterier. De nya tortillachipsen säljs under varumärket "Rewind" och man hoppas de ska tilltala dem, bland annat jag själv, som gillade att slicka på 9V-batterier som barn. Mattias Larsson, en kock som tagit fram smaken till chipsen säger: "We used a blend of citric acid and sodium bicarbonate to create the tongue-tingling effect, and balanced it out with mineral salts, which give the chips a metallic tang. The result is surprisingly tasty and it’s definitely a flavour that sparks curiosity." Rewinds tortillachips ska lanseras i Nederländerna och andra europeiska länder. Om de är på gång till Sverige är oklart. Förutom batterismaken kommer Rewinds tortillachips säljas i smaker som paprika, krämig ost, bbq & honung samt sriracha. 0
13kg
ons. 30 jul 2025, 19:20
Tumnagel Elgatos nya webbkamera har utbytbara linsfilter Kan även spela in i 4K/60 Elgatos nya webbkamera Facecam 4K sänker priset för att kunna spela in i 4K-upplösning med 60 bilder per sekund. Kameran, som kostar cirka 2390 kronor, är rejält mycket billigare än den befintliga Pro-modellen som ligger på 3999 kronor. Det mest spännande är dock kanske att den har stöd för vanliga 49 mm-linsfilter, vilket gör det möjligt för användare att enkelt fästa exempelvis polariseringsfilter för att minska reflektioner från glasögon. Kameran använder en Sony Starvis 2-sensor och kan spela in i upp till 4K/60 fps, eller 4K/30 fps med HDR-stöd. Den har dock något sämre ljuskänslighet än den dyrare Pro-modellen. Med Elgatos mjukvara Camera Hub kan användaren justera alla inställningar manuellt och spara dem direkt i kamerans inbyggda minne. Webbkameran är även kompatibel med spelkonsolen Nintendo Switch 2. 0
38.1°
ons. 30 jul 2025, 19:00
Tumnagel Nu finns en Smurf-version av Surface Laptop Smurface Edition Microsoft har överraskat oss med en specialversion av sin bärbara dator med det passande namnet Smurface Edition. Datorn är på insidan identisk med den budgetmodell av Surface Laptop som släpptes i maj, men har fått ett lock dekorerat med bilder på Smurfarna och en blå Windows-logotyp. Det hela sker i samband med premiären av en ny animerad Smurf-film. Priset på den amerikanska marknaden ligger på 999 dollar. 0
36.3°
ons. 30 jul 2025, 18:40
Tumnagel Mario Paint kommer till Nintendo Switch Online Med musstöd Nintendo släpper nu Mario Paint till Nintendo Switch Online, något som innebär att de som har abonnemang på tjänsten kan rita och måla i det klassiska ritspelet som ursprungligen släpptes till Super NES 1992. För att spela Mario Paint på Nintendos Switch-kontroller krävs det att man har en mus. På Switch 2 kan man använda den inbyggda musfunktionaliteten i Joy-Con 2, medan man med den första generationens Switch kan koppla in en extern mus via dockningsstationen. Förutom att rita grejer så inkluderas även ett minispel i Mario Paint och det finns även möjlighet att komponera enklare musikstycken. Ni kan kolla in mer om Mario Paint till Nintendo Switch i trailern här ovanför. 0
38.6°
ons. 30 jul 2025, 18:20
Tumnagel Matthew McConaughey kör genom eldhav i ny film En till trailer för The Lost Bus Nu har Apple släppt en till lite längre trailer för den kommande filmen The Lost Bus, där vi ser Matthew McConaughey och America Ferrera i huvudrollerna. Filmen är inspirerad av händelser under en av USA:s dödligaste skogsbränder. McConaughey spelar en skolbusschaufför som kör vilse under bränderna och tillsammans med en lärare, spelad av Ferrera, gör de sitt bästa för att rädda livet på sig själva och de 22 skolbarn som finns ombord på bussen. The Lost Bus har biopremiär den 19 september och kommer även att släppas på Apple TV+ den 3 oktober. 0
38.5°
ons. 30 jul 2025, 18:00
Tumnagel Google erbjuder videopresentationer i NotebookLM Skapat av AI då så klart Google har nyligen uppdaterat sin anteckningsapp NotebookLM som gör det möjligt att skapa berättade bildspel med hjälp av lite AI. Funktionen, kallad Video Overviews, är dock endast tillgänglig på engelska men stöd för fler språk sägs komma inom kort. Med Video Overviews kan man som användare få en visuell och ljudmässig sammanfattning av sina sparade dokument. AI:n skapar sedan bilder, diagram, citat och siffror för att illustrera olika punkter. Tanken är att det ska bli enklare att förstå data, processer och abstrakta koncept. Funktionen erbjuder även kontroller för att spola framåt eller bakåt samt justera hastigheten på presentationen. Om det här blir något som man faktiskt kan tänka sig att använda, istället för att bara göra allt manuellt i en PowerPoint, återstår att se. 0
37.6°
ons. 30 jul 2025, 17:40
Tumnagel Nu finns Doom med copy/paste Låter spelaren klippa ut och klistra in fiender IdSoftwares klassiska spel Doom kan vara ett av världens mest moddade spel och här kan ni kolla in en modd där det går att kopiera, klippa ut och klistra in fienderna i spelet. Modden är utvecklad av Greg Sadetsky från Greg Technology och rullar på Chocolate Doom, en portning av originalkoden till Doom. För de som skulle vilja testa på att spela Doom-modden med copy/paste skriver Sadetsky: you need to get chocolate doom compiling/running on your computer - and then you can use the following file which is a replacement for g_game.c - https://gist.github.com/gregsadetsky/63781bca8f0edf8ab6c16e7ea5e04582 0
38.2°
ons. 30 jul 2025, 17:20
Tumnagel Apple släpper video med Danny Boyle Om hur iPhone användes under inspelningen av 28 Years Later Nu har 28 Years Later-regissören Danny Boyle i en video från Apple berättat att den stora fördelen med att använda iPhones var möjligheten att kunna arbeta snabbt och smidigt på avlägsna platser och lämna ett litet fotavtryck efter sig, eftersom man ville att landskapet i filmen skulle se helt orört ut av människor i 28 år. Produktionsteamet använde bland annat en specialanpassad rigg med upp till 20 iPhones för att fånga vissa scener. 0
34.2°
ons. 30 jul 2025, 17:00
Tumnagel Nya bilder på Volvo XC70 Bilen som vi inte får i Sverige Volvo XC70 är ju ett klassiskt Volvo-namn som många svenskar har varmt om hjärtat. Den nya versionen kommer dock inte hit, inte ännu i alla fall. Istället är det Kina som är fokus för modellen. Det handlar om en eldriven bil med en bensinmotor som används som räckviddsförlängare. Motorn är på 1,5 liter, men motorn driver alltså inte bilen utan laddar bara batteriet. Två batterier kommer man att kunna välja mellan, ett LFP och ett NCM. Vi får anta att det senare har fler kWh och längre räckvidd. Om man har laddat bilen fullt ska man kunna komma 20 mil på bara el, men detta är enligt den generösare kinesiska standarden så räkna med kortare räckvidd än så. Bilen har mycket gemensamt med Lynk & Co 08 och den har 20 mils räckvidd även enligt WLTP, så vi får helt enkelt återkomma kring detta. Totalt ska bilen ha en räckvidd på över 120 mil. Måtten är 4815 mm lång, 1890 mm bred, 1650 mm hög och hjulbasen är 2895 mm. Sex färger kommer, varav en är den beiga som heter Sandy Desert och en är den blå som heter Denim Blue. 0
34.9°
ons. 30 jul 2025, 16:40
Tumnagel Här har vi en ny trailer för Zootropolis 2 Nick och Judy får gå i parterapi Snart är det dags för uppföljaren till Disney-filmen Zootropolis från 2016. Filmen har nu fått en ny trailer som ger oss en lite bättre inblick i vad som väntar. I Zootropolis 2 har Nick och Judy precis löst det största fallet i Zootropolis historia, men trots det får de nu gå i parterapi. Anledningen till terapin är att de fortfarande behöver jobba bättre som team, och de får hjälp av en quokka vid namn Dr. Fuzzby (Quinta Brunson). Zootropolis 2 har svensk biopremiär den 26 november. 0
40.9°
ons. 30 jul 2025, 16:30
Tumnagel Ayaneo släpper handhållen spelkonsol med dubbla skärmar Pocket DS ser ut att vara perfekt för Nintendo DS-spel Ayaneo, det kinesiska företaget som de senaste åren släppt en lång rad handhållna spelkonsoler, har presenterat en ny sådan som man försett med dubbla skärmar. Ayaneo Pocket DS kör Android och är försedd med en 7 tum stor OLED-skärm i 16:9-format, som har en upplösning på 1920x1080 pixlar, en uppdateringsfrekvens på 165Hz samt en ljusstyrka på upp till 800 nits, samt en 5 tum stor LCD-skärm i 4:3-format med en upplösning på 1024×768 pixlar och en ljusstyrka på upp till 500 nits. Det hela rullar på en Snapdragon G3x Gen 2-processor, men det finns än så länge inga uppgifter om hur mycket RAM- och lagringsminne enheten har. Batteriet är på 8000 mAh, men driftstiden är även den oklar. Det går att köra två olika appar och/eller spel samtidigt på Ayaneo Pocket DS över och nedre skärm. Ayaneo nämner det inte själva, men konsolen skulle antagligen även vara idealisk för att köra emulerade spel till Nintendos klassiska DS- och 3DS-konsoler. Ayaneo har börjat ta emot förhandsbeställningar för Ayaneo Pocket DS, men när den släpps och vad den kommer att kosta är än så länge oklart. 0
38.8°
ons. 30 jul 2025, 16:20
Tumnagel Tysk film om andra världskriget ser lovande ut Fem män och en panzerkampfwagen Gillar man krigsfilmer med lite härlig klaustrofobisk stridsvagnskänsla under andra världskriget så kanske filmen Der Tiger kan vara intressant. Filmen, som har premiär den 18 september, utspelar sig på Östfronten 1943, där en liten grupp tyska soldater i en VI Tiger skickas på ett hemligt uppdrag djupt inne på fiendens territorium. Ett inte helt ofarligt uppdrag visar det sig vara, men det blir också en inre resa för soldaterna, som måste konfrontera sina rädslor och krigets psykologiska påfrestningar. Så lite Apocalypse Now:igt låter det ju, och det är ju alltid lovande. Filmen är inspirerad av verkliga händelser. 0
46.8°
ons. 30 jul 2025, 16:00
Tumnagel Volkswagen och Audi höjer dragvikten Med 600 kilo Bilar som bygger på Volkswagens MEB-plattform är vanliga i Sverige. Förutom VWs egna ID-bilar finns det en rad modeller från Skoda, Audi, Cupra och Ford på plattformen. En trist sak med plattformen är att dragvikten har varit så låg. Tvåhjulsdrivna modeller har fått dra 1000 kg och fyrhjulsdrivna 1200 kg. Nu kommer detta att ökas rejält, för de fyrhjulsdrivna varianterna, som från modellår 2026 kommer att få dra 1800 kg. Volkswagen har bekräftat att detta gäller deras fyrhjulsdrivna GTX-varianter och det har även Audi gjort, i deras fall blir det då deras fyrhjulsdrivna Quattro-varianter. Detta borde även gälla för kommande Skoda, Cupra och Ford, men dessa märken har ännu inte bekräftat det. 0
44.2°
ons. 30 jul 2025, 15:40
Tumnagel Atari köper majoritetsandel i svenska Thunderful Games Aktieägarna ska dock godkänna det först Atari har bestämt sig för att köpa 82 procent av den svenska indieutvecklaren och spelutgivaren Thunderful Games, för ett värde av cirka 50 miljoner kronor. Thunderful är väl mest känt för sina SteamWorld-spel, Islanders och Lost in Random. Köpet kräver dock ett godkännande från aktieägarna i en omröstning som sker den 28 augusti, men det har redan nu stöd från Thunderfuls styrelse och de två största aktieägarna, Owe Bergsten samt Brjann Sigurgeirsson, som tillsammans äger 29,9 procent av företaget. Köpet genomförs genom nyemission av aktier, vilket kommer att minska de nuvarande ägarnas andelar och rösträtt. När köpet är klappat och klart planeras en omstrukturering av företagets studios, så det återstår väl att se vad som händer då. Thunderful grundades 2019 genom en sammanslagning av indieutvecklarna Image & Form och Zoink, samt den svenska distributören Bergsala. 0
37.7°
ons. 30 jul 2025, 15:20
Tumnagel Apple råkar göra reklam för Galaxy Z Flip 7 Det var ju omtänksamt Vissa av oss har nog varit med om att det gått lite för fort vid uppladdningen av ett inlägg på sociala medier. Antagligen har det dock inte blivit en riktigt lika stor miss som för Apple, som laddade upp en reklamfilm från sin största konkurrent. På Apples kinesiska supportkonto på X laddades det nämligen upp en video på Samsungs Galaxy Z Flip 7, som förstås snabbt togs ner. Vad är det värsta du har laddat upp oavsiktligt? 0
40.6°
ons. 30 jul 2025, 15:00
Tumnagel Brabus 1000 har 1000 hästar När Mercedes-AMG GT 63 S E Performance inte räcker Om du är sugen på en Merca GT men har tyckt att de versioner som har sålts hittills varit lite för veka, då levererar Brabus nu kanske något som duger. Brabus 1000 baseras som sagt på Mercedes-AMG GT 63 S E Performance, men man har bland annat lagt till dubbla turbos. V8:an är nu på 4,5 liter och levererar 796 hästar och 1250 Nm, som dock är nedskruvat till 1050 Nm för att synka med eldriften. Batteri och elmotor är kvar från Merca-versionen. Elmotorn finns på bakaxeln och levererar 204 hästar och är tvåväxlad. Tillsammans levererar de 1000 hästar och exakt ett vrid på 1820 Nm, men det är elektroniskt begränsat till 1620 Nm för att det inte ska explodera. 0-100 km/h ska gå på 2,6 sekunder. Maxhastigheten ligger på 320 km/h. 0
39.5°
ons. 30 jul 2025, 14:30
Tumnagel Apple öppnar tillverkningsakademi i Detroit Ska utbilda personal på amerikanska företag Apple meddelade under gårdagen att man nästa månad kommer öppna upp något som man kallar för "Apple Manufacturing Academy" i Detroit. Apples tillverkningsakademi kommer att drivas tillsammans med Michigan State University och tanken är att man ska utbilda personal på små och mellanstora företag i hur man tillverkar avancerade teknikprodukter. Det hela kommer att genomföras med olika workshops som leds av experter från Apple. Apples operative chef Sabih Khan säger om tillverkningsakademin: "We’re thrilled to welcome companies from across the country to the Apple Manufacturing Academy starting next month. Apple works with suppliers in all 50 states because we know advanced manufacturing is vital to American innovation and leadership. With this new programming, we’re thrilled to help even more businesses implement smart manufacturing so they can unlock amazing opportunities for their companies and our country." Tidigare i år uppgav Apple att man planerar att investera 500 miljarder dollar de kommande fyra åren på olika initiativ i USA och tillverkningsakademin i Detroit är en del av detta. 0
35.5°
ons. 30 jul 2025, 14:00
Tumnagel Sharges nya strömadapter har Braun-inspirerad design Har inbyggt batteri och kabel För den som gillar designen på gamla Braun-prylar eller Teenage Engineering har Sharge, som är kända för sina unikt designade laddare, lanserat en ny laddare som kombinerar en väggladdare, en powerbank och en inbyggd utdragbar laddningskabel. Produkten är en uppdaterad version av deras tidigare väggladdare och har nu ett inbyggt batteri på 10.000 mAh. Den 70 cm långa USB-C-kabeln kan också enkelt dras ut och rullas in. Mångsidigheten kommer dock med en stor kompromiss: effekten har sänkts från den förra laddarens 65 W till 30 W. Det räcker fortfarande för de flesta enheter, men det kan bli tufft att exempelvis ladda vissa datorer. Priset ligger på 50 dollar. Det verkar inte finnas någon europeisk version i dagsläget. 0
41.8°
ons. 30 jul 2025, 13:30
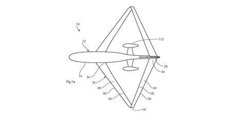
Tumnagel Christian von Koenigsegg tar patent på flygplansmodell Ska biltillverkaren börja göra flygplan? Christian von Koenigsegg, grundaren av det svenska superbilsföretaget Koenigsegg, verkar ha haft lite tid över och använt den till att designa en flygplansmodell. Det är CarBuzz som har hittat patent hos den internationella upphovsrättsorganisationen WIPO ("World Intellectual Property Organization") där ett patent från von Koenigsegg beskriver ett flygplan med sluten vingkonfiguration ("closed-wing aircraft"). Tanken bakom designen är att den skulle ge mindre luftmotstånd då vingspetsar saknas, något som skulle kunna förbättra flygplanets aerodynamik och minska bränsleförbrukningen. Huruvida von Koenigsegg planerar att faktiskt tillverka flygplanet han designat finns det än så länge inga uppgifter om. Ni hittar bilder från von Koenigseggs flygplanspatent ovan och nedan. 0
43.8°
ons. 30 jul 2025, 13:00
Tumnagel Nu blir det lättare att lägga till objekt i bilder med Photoshop Adobe rullar ut nya AI-verktyg Adobe har rullat ut flera nya och förbättrade AI-verktyg för Photoshop, som bland annat inkluderar en ny funktion kallad Harmonize som automatiskt kan anpassa färg, ljus och skuggor på ett inklippt objekt så att det smälter in i sin nya omgivning. Ett annat nytt verktyg är Generative Upscale, som kan höja en bilds upplösning upp till åtta megapixlar utan att förlora skärpa, vilket är användbart för utskrifter eller för att förbättra gamla, lågupplösta filer. Det befintliga raderingsverktyget, Remove tool, har också uppdaterats med den senaste versionen av Adobes AI-modell Firefly, vilket gör att det nu kan ta bort oönskade objekt mer exakt och med ett renare resultat. 0
38.1°
ons. 30 jul 2025, 12:30
Tumnagel Världens första robotbutik har öppnat i kinesiska Shenzhen För de som vill köpa robotar eller reservdelar I den kinesiska techstaden Shenzhen öppnade tidigare den här veckan vad som sägs vara världens första robotbutik. Butiken kallas för "6S Robot Store" och drivs av Shenzhen Future Times Robotics tillsammans med hjälp från ett 20-tal ledande kinesiska robotföretag, bland annat Unitree Robotics. I robotbutiken går det att köpa eller hyra olika typer av robotar, bland annat humanoida robotar, robothundar och industrirobotar samt reservdelar till dessa. Det kommer även gå att konsultera experter på skräddarsydda robotlösningar och det ska också finnas ett "verifikationscenter" där robotutvecklare ska kunna testa sina robotar i olika miljöer. Butiken är öppen för både privatpersoner och företag som är intresserade av att köpa robotar. Ovan finns ett inslag från kinesiska CGTN där man berättar lite mer om 6S Robot Store och visar upp en lång rad kinesiska robotar. 0
35.4°
ons. 30 jul 2025, 12:00
Tumnagel Seenda släpper mus med volymkontroll Kanske kan vara smidigt Seenda, ett företag som utvecklar datortillbehör, släpper nu en mus med inbyggd volymkontroll, något som kanske kan vara smidigt för dem som ofta höjer och sänker volymen på datorn. Seenda MOU-302 är en vertikal mus som, förutom volymkontrollen, är försedd med ett scrollhjul och fem funktionsknappar (se bild nedan). Den går att koppla till upp till tre olika enheter via USB-C, Bluetooth eller en trådlös 2.4GHz-dongel som går att förvara på musens undersida när den inte används. Det inbyggda batteriet på 500 mAh ska räcka för trådlös användning i upp till 2 månader. Med musens inbyggda DPI-knapp går det att växla mellan 1000, 1600 och 2400 DPI:s känslighet. Seenda MOU-302 har stöd för Windows, macOS, Android samt iOS och kostar just nu 26 dollar. 0
34.7°
ons. 30 jul 2025, 11:30
Tumnagel YouTube börjar gissa din ålder Med hjälp av AI YouTube ska nu börja använda sig av AI för att gissa användarnas ålder, istället för att bara lita på vad de skriver in när de registrerar sig. Det här är ett försök att skydda yngre tittare från att se sådant de kanske inte bör se och därmed ge en mer åldersanpassad upplevelse. Det hela fungerar så att YouTube kommer att använda maskininlärning för att analysera olika saker, som vilka videor du söker på, vad du tittar på och hur länge du har haft ditt konto. Utifrån detta försöker systemet avgöra om du är under eller över 18 år. Om YouTube tror att du är under 18 kommer de att slå av personliga annonser, aktivera funktioner som påminner dig om att ta pauser och sätta upp filter för att begränsa vissa typer av innehåll. Vill du visa att du är över 18 kan du själv välja att verifiera detta med hjälp av ett ID eller kreditkort. 0
22.4°
ons. 30 jul 2025, 11:00
Tumnagel Toyota storsatsar i Europa Ska börja bygga elbilar här Toyota trappar upp sin elbilsstrategi i Europa och kommer för första gången att börja tillverka elbilar lokalt på kontinenten. Produktionen är planerad att starta i början av 2028 vid företagets fabrik i Tjeckien. Till en början ska kapaciteten ligga på cirka 100.000 bilar per år. Hittills har Toyotas elbilsförsäljning i Europa gått riktigt trögt. Under första halvan av 2025 var man endast det 20:e största elbilsmärket. För att öka försäljningen lanserar Toyota även flera nya elbilsmodeller. Bland dessa finns den kompakta suven Toyota Urban Cruiser med en räckvidd på upp till 426 km, den något större suven Toyota C-HR+ med en räckvidd på upp till 600 km, samt en ny kombivariant av deras befintliga elbil, bZ4X Touring. Vilka modeller som kommer att byggas i den tjeckiska fabriken är i nuläget oklart. 0
54.5°
ons. 30 jul 2025, 10:30
Tumnagel Nästa månads PlayStation Plus-spel Lies of P och lite My Hero Academia Augusti månad närmar sig och det innebär bland annat att det snart dyker upp lite nya spel på Playstation Plus Essential. Från och med den 5 augusti får PlayStation Plus Essential-prenumeranter tillgång till Lies of P, Day Z och My Hero One’s Justice 2. 0
38.1°
ons. 30 jul 2025, 10:00
Tumnagel Uppgifter om tecken på liv på exoplaneten K2-18b ifrågasätts Men det verkar finnas vatten där Tidigare i år gick ett forskarlag ut med uppgifter om att det troligen skulle kunna finnas liv på K2-18b, en exoplanet som ligger cirka 124 ljusår från jorden. Efter att andra forskare tittat lite närmare på data om planeten ser dessa förhoppningar nu ut att grusas något, rapporterar New Scientist. Forskarna som ursprungligen lanserade teorin om att det fanns tecken på liv på K2-18b baserade detta på att man ansåg sig ha sett tecken på att atmosfären runt planeten verkar innehålla kemiska spår av minst en av två molekyler som är förknippade med liv: dimetylsulfid (DMS) och dimetyldisulfid (DMDS). Andra forskare som gått igenom datan som samlats in från rymdteleskopet James Webb uppger dock nu att det inte går att säkerställa att molekylerna i fråga faktiskt finns i planetens atmosfär. Det här innebär att det än så länge inte går att säga med säkerhet om det faktiskt finns tecken på liv på planeten. Forskarna verkar dock överens om att det finns rikligt med vatten på K2-18b. Huruvida detta bara finns som vattenånga i atmosfären, som oceaner på planetens yta eller inuti planeten har man än så länge inte kunnat fastställa. 0
38.1°
ons. 30 jul 2025, 09:30
Tumnagel OpenAI introducerar studieläge i ChatGPT För de som faktiskt vill lära sig grejer OpenAI lanserar nu en funktion till sin chatbott ChatGPT som är tänkt att användas av dem som föredrar att lära sig saker istället för att bara få snabba svar på komplexa frågor. Med OpenAI:s studieläge ("Study Mode") kan ChatGPT analysera komplexa frågor och stegvis visa hur den kommer fram till svaret på dessa. Tanken bakom studieläget är att användaren ska förstå och lära sig hur man kan lösa olika typer av frågeställningar. ChatGPT:s studieläge är primärt utvecklat för studenter och kommer senare att läggas in i ChatGPT Edu, skolversionen av chatbotten. Det går dock redan nu att testa studieläget i ChatGPT:s Free-, Plus-, Pro- och Team-abonnemang. Här nedanför hittas en introduktionsfilm till studieläget. 0
45.0°
ons. 30 jul 2025, 09:00
Tumnagel Apple släpper iOS 18.6 Sista uppdateringen innan iOS 26? Apple började under gårdagen att rulla ut iOS 18.6 och iPadOS 18.6, vilket är den sjätte uppdateringen till de nuvarande operativsystemen. Uppdateringen innehåller flera buggfixar och säkerhetsuppdateringar, och löser specifikt ett problem i Bilder-appen som kunde förhindra användare från att dela filmer från "minnen"-funktionen. För användare i EU inkluderar uppdateringen även ett nytt gränssnitt när de installerar alternativa appbutiker eller laddar ner appar direkt från en utvecklares webbplats. Apple har också släppt uppdateringar för macOS, tvOS och watchOS. 0
38.1°
ons. 30 jul 2025, 08:30
Tumnagel Eternity är en dramakomedi om efterlivet Och de val man kan tvingas göra där A24 har släppt en trailer för den kommande dramakomedin Eternity där Miles Teller, Elizabeth Olsen och Callum Turner spelar huvudrollerna. Filmen handlar om när det äkta paret Larry (Teller) och Joan (Olsen) dör och i efterlivet landar i en mellanzon som kallas "The Junction" dit man kommer innan det är dags att gå vidare till "Evigheten". I The Junction befinner sig även Luke (Turner), Joans stora kärlek som dött årtionden tidigare. Det gör att Joan ställs inför det svåra valet om hon vill tillbringa evigheten i efterlivet tillsammans med Larry eller Luke. Eternity har världspremiär på Toronto International Film Festival (TIFF) i september 2025 och går upp på amerikanska biografer någon gång i november. Om filmen även har svensk premiär i november finns det än så länge inga uppgifter om. 0
38.5°
ons. 30 jul 2025, 08:00
Nästa sida
+ Per månad 39 kr Betala löpande per månad. Ingen bindningstid. Starta prenumeration Per år 299 kr Enklast och billigast, bara 25 kronor i månaden. Betala löpande per år. Ingen bindningstid. Prova 14 dagar gratis innan du bestämmer dig. Starta gratis provperiod Engångsköp 349 kr Slipp återkommande betalningar, betala ett år i taget. Betala med kort eller Swish. Köp utan prenumeration