Teknik Motor Samhälle Spel Popkultur Fritid Tjock Tester Dagens fråga Tipsa! Skaffa Feber+
Hetaste
Senaste
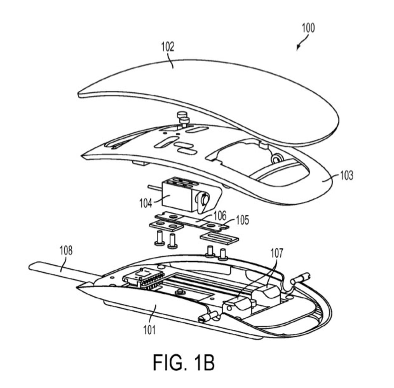
Apple-patent visar mus som vibrerar SFW Apple-patent visar mus som vibrerar Här har vi ett Apple-patent som nyligen blivit godkänt och därför även möjligt för allmänheten att beskåda. Patentet visar en mus som kan känna av hur hårt man trycker samt vibrera för att ge användaren signaler om vad muspekaren gör. Exempelvis så skulle denna mus kunna vibrera när man för muspekaren över en ikon eller när man håller ned musknappen för att på så sätt berätta för användaren vad som pågår. gizmodo.com Mac, Hårdvara, apple, patent, mus, vibrator
44.8° 0 Gordon Andersson Gordon Andersson
tors. 14 aug 2014, 17:15
+ Per månad 39 kr Betala löpande per månad. Ingen bindningstid. Starta prenumeration Per år 299 kr Enklast och billigast, bara 25 kronor i månaden. Betala löpande per år. Ingen bindningstid. Prova 14 dagar gratis innan du bestämmer dig. Starta gratis provperiod Engångsköp 349 kr Slipp återkommande betalningar, betala ett år i taget. Betala med kort eller Swish. Köp utan prenumeration