Teknik Motor Samhälle Spel Popkultur Fritid Tjock Tester Dagens fråga Tipsa! Skaffa Feber+
Hetaste
Senaste
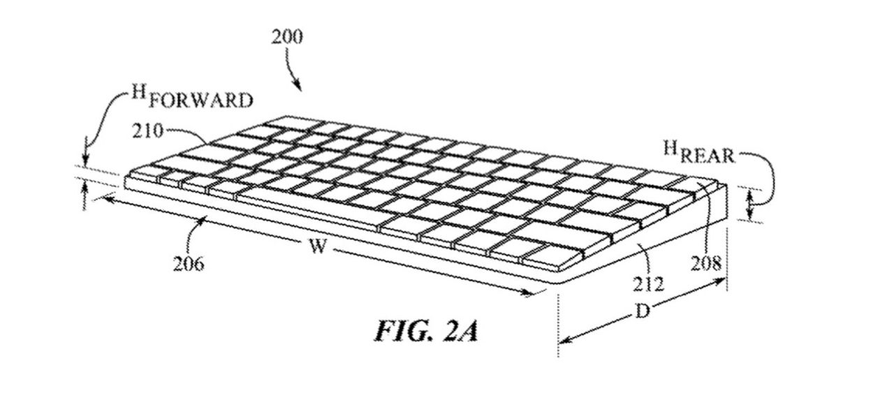
Apple söker patent på tangentbord med inbyggd dator Slipp ha en Mac mini på skrivbordet Apple söker patent på tangentbord med inbyggd dator Foto: Apple Att ha själva datorn och tangentbordet i samma chassi är långt ifrån en ny idé, men det är inte precis något vi ser varje dag nu för tiden. Det kanske det blir ändring på då Apple nyligen ska ha sökt patent på "en dator i inmatningsenheten". I patentet beskrivs det ett lite tjockare chassi i Magic Keyboard-stil med "alla komponenter från en högpresterande dator" integrerade under tangenterna. Tangentbordet, eller datorn, skulle då kopplas in via en kabel till en display för både ström och data.
appft.uspto.gov Mac, Rykten, apple, patent, design, tangentbord Via macrumors.com Bild till bildspel Bild till bildspel Bild till artikel Foto: US Patent & Trademark office Bild till artikel Foto: United States Patent Application
49.8° 0 Hugo Engström Hugo Engström
fre. 25 feb 2022, 19:00
+ Per månad 39 kr Betala löpande per månad. Ingen bindningstid. Starta prenumeration Per år 299 kr Enklast och billigast, bara 25 kronor i månaden. Betala löpande per år. Ingen bindningstid. Prova 14 dagar gratis innan du bestämmer dig. Starta gratis provperiod Engångsköp 349 kr Slipp återkommande betalningar, betala ett år i taget. Betala med kort eller Swish. Köp utan prenumeration