Teknik Motor Samhälle Spel Popkultur Fritid Tjock Tester Dagens fråga Tipsa! Skaffa Feber+ Mitt konto
Hetaste
Senaste
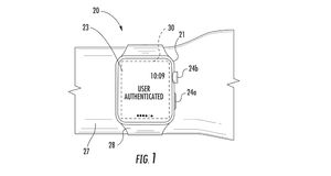
Snart kanske Apple Watch kan identifiera dig Med hjälp av vener i handleden Snart kanske Apple Watch kan identifiera dig Apple har fått patent på en teknik som skulle kunna användas för att en Apple Watch ska kunna säkerställa att klockan faktiskt bärs av sin rättmätiga ägare. Tekniken skulle även kunna användas för säkerställa identiteten om en Apple Watch-användare ska logga in på tjänster, öppna lås eller annat som har stöd för biometrisk inloggning via Apples smarta klocka.Apples nya patent beskriver en ljussensor på Apple Watch undersida som kan scanna de blodvener som går i användarens handled och på det sätter skapa en unik identifierare för användaren. Detta skulle även kunna kombineras med mönster i porer, hårsäckar och annat identifierbart på och i användarens handled enligt patentet.Som vanligt när det gäller patent så behöver det här inte betyda att Apple planerar att implementera en "Wrist ID"-funktion i Apple Watch. Apple fick redan 2019 patent på ett klockarmband som skulle kunna identifiera användaren men det har inte dykt upp de modeller som Apple släppt sedan dess. Ni kan läsa mer om det patentet och lite andra Apple Watch-patent i de inlänkade artiklarna nedan. uspto.report Mac, Apple Watch, apple, patent, identifikation Via thenextweb.com Apple tar patent på klockarmband som kan identifiera dig Ska Apple Watch bli lite en smartare smartklocka? Tumnagel 39.3° 0 Apple tar patent på klockarmband som justerar sig själv Låter ju som det bästa sedan skivat bröd Tumnagel 42.4° 0 Kommer Apple Watch att få en kamera? Nytt patent från Apple antyder det Tumnagel 34.8° 0 Kommer det en Apple Watch med stöd för punktskrift? Apple verkar experimentera med något sådant Tumnagel 40.0° 0 40.7° 0 Wille Wilhelmsson Wille Wilhelmsson
mån. 11 jan 2021, 13:40
+ Per månad 39 kr Betala löpande per månad. Ingen bindningstid. Starta prenumeration Per år 299 kr Enklast och billigast, bara 25 kronor i månaden. Betala löpande per år. Ingen bindningstid. Prova 14 dagar gratis innan du bestämmer dig. Starta gratis provperiod Engångsköp 349 kr Slipp återkommande betalningar, betala ett år i taget. Betala med kort eller Swish. Köp utan prenumeration