Teknik Motor Samhälle Spel Popkultur Fritid Tjock Tester Dagens fråga Tipsa! Skaffa Feber+
Hetaste
Senaste
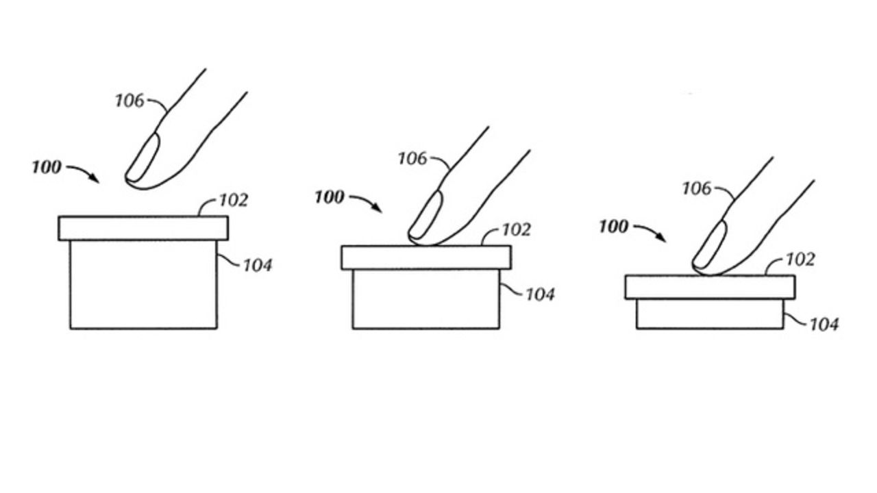
Tryckkänslig iPhoneskärm inom snar framtid? Nytt patent visar att de funderar på saken Tryckkänslig iPhoneskärm inom snar framtid? Det har under ett bra tags tid så har det pratats om att Apple undersöker teknik för att göra deras pekskärmar tryckkänsliga så att de kan känna av hur hårt du trycker. Nu senast var det Bloomberg som skrev om det och idag så kommer nya belägg för att det kanske är en teknik vi får se i framtiden.Nu har det dykt upp ett nytt patent som visar en pekskärm med flera olika lägen när man trycker på den. Personligen skulle jag gilla en skärm med lika många nivåer och samma precision som en Wacom-platta, något flera av Apples konkurrenter redan försökt med men som ännu inte riktigt är helt bra.Om vi dock tror på detta och vad Bloomberg skriver så får vi vänta tills åtminstone 2015 för att se en sådan här produkt från Apple. gizmodo.com Mac, Rykten, patent, bloomberg, apple, wacom, rykte
44.3° 0 Gordon Andersson Gordon Andersson
tis. 12 nov 2013, 16:22
+ Per månad 39 kr Betala löpande per månad. Ingen bindningstid. Starta prenumeration Per år 299 kr Enklast och billigast, bara 25 kronor i månaden. Betala löpande per år. Ingen bindningstid. Prova 14 dagar gratis innan du bestämmer dig. Starta gratis provperiod Engångsköp 349 kr Slipp återkommande betalningar, betala ett år i taget. Betala med kort eller Swish. Köp utan prenumeration