Teknik Motor Samhälle Spel Popkultur Fritid Tjock Tester Dagens fråga Tipsa! Skaffa Feber+
Hetaste
Senaste
Alla Heta Kalla Öppna i ny flik tisdag 25 oktober 2016 fortsättning Apple tappar under senaste kvartalet, speciellt i Kina Men tappet är inte alls lika kraftigt som förra kvartalet Förra kvartalet blev historiskt för Apple eftersom det var det första på mycket, mycket länge som visade negativa siffror jämfört med motsvarande kvartal föregående år. Speciellt stort var tappet i Kina där man minskade omsättningen med 33 procent, men alla andra marknader förutom Japan tappade också. Det kvartal som precis har presenterats ser inte heller speciellt roligt ut men det ser ut som att man är ute ur den värsta nedgången, i Japan och Europa ökar man något. Ett undantag är fortfarande Kina som rasar med 30%, även om Apple tror på att nästa kvartal kommer att bli ett rekordkvartal även i Kina tack vare iPhone 7. Det är värt att notera att iPhone 7 såldes under det här kvartalet, men bara under en kort tid. Om försäljningen av iPhone 7 har gått bra kommer det att göra riktigt avtryck först under nästa kvartal. Man har fortfarande inte kommit ikapp och folk väntar fortfarande på telefoner de har beställt. Försäljningen av iPhones är helt ok, man sålde 45,5 miljoner jämfört med 48 miljoner förra året. Eftersom många väntade på iPhone 7 kan dessa siffror ses som rätt bra till och med. Mac-försäljningen har tagit fart igen och nådde nästan fem miljoner sålda enheter, trots att typ alla väntar på de maskiner som kommer att presenteras på torsdag. Försäljningen av iPad fortsätter att sjunka och man är snart under nio miljoner sålda per kvartal. Trots att antalet sålda enheter sjunker var intäkten konstant tack vare iPad Pro-serien. Om Kina är den tråkiga delen för Apple är delen "services" den roliga. Services stod under kvartalet för 6,3 miljarder dollar i intäkt. Det ska jämföras med "övriga produkter" som bland annat är Apple Watch och Apple TV som drog in 2,4 miljarder dollar. Trots tråkiga siffror på vissa områden så fortsätter man dra in stora pengar. Man sålde totalt för 46,9 miljarder dollar (ner från 51,5 miljarder dollar) och gjorde en vinst på 9 miljarder dollar (ner från 11,1 miljarder dollar). Tumnagel
42.7°
0
måndag 24 oktober 2016 Apple Watch Nike+ släpps på fredag En lite sportigare Apple Watch Idag meddelade Apple att Apple Watch Nike+ kommer att släppas i flera länder nu på fredag 28 oktober. Det handlar alltså om en Apple Watch Series 2 som har blivit försedd med ett lite sportigare utseende och även levereras med träningsappen Nike+ Run Club. Här i Sverige kommer Apple Watch Nike+ att kosta 4.195 kronor för den lilla modellen med en boett på 38 millimeter och 4.495 kronor för modellen som har en boett på 42 millimeter. Tumnagel
52.6°
0
torsdag 20 oktober 2016 Macphun presenterar nytt heltäckande redigeringsprogram Luminar är ett alternativ för Mac-användare Företaget Macphun har tidigare släppt olika redigeringsappar som fokuserat på specifika redigeringsverktyg. Bland annat står de bakom Aurora för HDR-redigering och Snapheal som fokuserar på kloning. Nu släpper de ett nytt program som den här gången fokuserar på en helhetslösning inom redigering. Luminar är ett program som dels erbjuder flera redigeringsmöjligheter men vars utseende även går att anpassa utifrån användarens kunskaper. Med andra ord kan användare välja vilka verktyg de vill se och det är tydligt att programmet är utformat för att konkurrera med redigeringsprogram som Photoshop och Lightroom från Adobe. Programmet har bland annat stöd för redigering av RAW-filer, filter, lager, kloning, presets, texturer, brusreducering, maskering och användning av olika penslar. Programmet kommer endast att släppas för Mac där förbeställningar inleds 2 november. Användare som tidigare använder Macphuns program kan köpa det för 50 dollar medan övriga får betala 60 dollar. Tumnagel
38.4°
0
Apple håller låda 27 oktober Nu är det spikat Under gårdagen började det ryktas om att Apple ska hålla låda 27 oktober och nu är detta bekräftat. Apple har skickat ut inbjudan till eventet med ett stycke äpple, texten "hello again" samt att eventet kommer hållas på Apple Campus i Cupertino 27 oktober. Eventet kommer dra igång 19:00 på torsdagskvällen och du kommer som vanligt kunna titta på liveström. Tumnagel
50.1°
0
onsdag 19 oktober 2016 Rykte Framtida Apple-datorer kan få tangentbord med elektroniskt bläck Så man kan göra lite vad man vill med dem The Wall Street Journal (WSJ) rapporterar att Apple planerar att slänga en elektroniskt bläck i sina tangentbord på nästnästa års MacBook-modeller. Enligt WSJ så samarbetar Apple med det australiensiska bolaget Sonder som kommer lansera ett skrivbord tangentbord med elektroniskt bläck senare i år (klipp nedan). Med det tangentbordet kan man själv välja vilket språk eller figurer man vill ha på sina tangentbordsknappar. Som så ofta med sådana här rykten handlar det om anonyma källor som påstås ha kunskap om det hela men något mer konkret än så finns ej. Det har dock rapporterats att Apple varit sugna på att köpa Sonder så helt omöjligt skulle det ju inte vara. Varken Apple eller Sonder har kommenterat dessa rykten ännu. Tumnagel
46.2°
0
Apple väntas visa upp nya Macbooks 27 oktober Dagen efter Microsofts hårdvaruevent 26 oktober kommer Microsoft hålla låda och presentera nya enheter i Surface-serien. Men enligt källor till Recode verkar hårdvarufesten inte ta slut efter Microsofts event, utan Apple kommer se till att festen fortsätter till dagen efter. Under Apples event 27 oktober lär vi få se nya Macbook Pro-datorer med uppdaterad hårdvara och det ryktas om flådiga OLED-remsor och Touch ID-stöd och mindre flådiga saker som endast USB-C-kontakt. Apple har ännu inte bekräftat datumet för sitt hårdvaruevent, men företaget kommer troligtvis göra det inom kort. Tumnagel
48.2°
0
tisdag 18 oktober 2016 Varför registrerar Apple så mycket patent på Jamaica? Här får ni svaret på det Att Apple och de flesta andra av världens stora teknikföretag gillar att patentera diverse grejer är inget nytt men att många av dessa patentansökningar, i Apples fall, sker på Jamaica kanske är mindre känt. Anledningen till detta är att Jamaica inte publicerar patentansökningar och godkända patent på nätet vilket gör det mycket besvärligare för den som vill ta del av dessa att komma åt dem. För att kunna söka efter ett patent på Jamaica måste man skicka in en begäran om detta samt ha en adress på Jamaica skriver Joon Ian Wong och Christopher Groskopf i en artikel på Quartz: "The Jamaica Intellectual Property Office allows visitors to search filings in person at its office in Kingston. People can also ask the office to search filings for them, but a Jamaican address is required to receive the results, and the process takes three weeks. A lawyer in Jamaica, however, can be appointed to perform the search, the office told Quartz. It said it has no current plans to put its filings database online." Det här betyder med andra ord att Apple, och andra företag, kan ansöka om, och få patent godkända, för kommande produkter på Jamaica innan man ansöker om att få patent i USA. Då USA:s patentverk lägger ut information om godkända patent på nätet kan ett företags konkurrenter, journalister och andra komma över information om patenten förhållandevis enkelt om man jämför med processen som man måste gå igenom på Jamaica. Apple och Jamaica är långt ifrån ensamma om det här förfarandet. Andra företag som registrerat patent i länder där det är svårare att kolla upp dem är Google, Microsoft och Amazon som bland annat har registrerat patent i Sydafrika, Tonga samt Trinidad & Tobago. Tumnagel
34.5°
0
Rykte Inget USB 3 i MacBook Pro Jaha, varför inte bara ta bort allt nu när vi ändå är igång? UPPDATERING: ReCode rapporterar att Apple kommer presentera dessa nya Mac-modeller på ett event den 27 oktober. --------------------------- Den japanska sidan Macotakara, som var först med att rapportera om att Apple skulle skippa hörlursuttaget i iPhone 7, rapporterar nu att Apple inte kommer ha några USB 3- eller Magsafe-portar på sina nya MacBook Pro-modeller. Sidan skriver att Apple kommer presentera två nya MacBook Pro-modeller denna månad, en på 15,4 tum och en på 13,3 tum. Dessa modeller kommer dock endast kommer köra USB C samt Thunderbolt 3. Apple senaste MacBook kör ju samma princip och om man vill stoppa en USB-port i den behöver man köpa en adapter. Men om ryktet ovan stämmer får man ju hoppas att det finns lite fler portar på Pro-modellen så man i alla fall kan ha fler grejer inkopplade samtidigt direkt i datorn. Förutom detta så nämner sidan även att Apple kommer sluta tillverka 11-tummodellen av MacBook Air. Detta skulle ju inte vara helt oväntat då den mer eller mindre känns redundant nu när MacBooken på 12 tum finns. Tumnagel
4.2°
0
måndag 17 oktober 2016 Rykte Apple skrotar planerna på en egen bil Men ska satsa på att ta fram teknik till självkörande bilar I somras ryktades det om att Apples, ej officiellt existerande, bilprojekt Project Titan hade skiftat fokus och nu skriver nyhetsbyrån Bloomberg att Apple för tillfället har övergett planerna på att utveckla en helt egen bil. Istället ska Apple nu fokusera på att ta fram system som kan användas i andra tillverkares självkörande bilar uppger Bloombergs källor. Det kan givetvis sluta med att Apple i framtiden beslutar sig för att utveckla en egen bil. Enligt Bloombergs källor har de som arbetar med att ta fram ett system för självkörande bilar fått tills i slutet av nästa år på sig att visa upp hur ett sådant skulle kunna bli lönsamt och en inkomstkälla för Apple. I samband med skifte av fokus för Project Titan ska ett hundratal Apple-anställda som arbetade med Titan fått nya arbetsuppgifter, blivit uppsagda eller slutat på eget bevåg. Tumnagel
45.1°
0
torsdag 13 oktober 2016 Apple ska öppna två forskningscenter i Kina Ett i Beijing och ett i Shenzhen Kina är som bekant en viktig marknad för många av världens multinationella företag och det vill Apple visa landet genom att bygga två utvecklings- och forskningscenter där. För ett tag sedan meddelade Apple att man planerar att bygga sin första sådana anläggning i Kinas huvudstad Beijing och nu skriver Venture Beat att man kommer att bygga en andra anläggning i Kinas "Silicon Valley" Shenzhen. I Shenzhen har många kinesiska teknikföretag sin hemvist och där ligger även Foxconn City där många av Apples produkter tillverkas. Josh Rosenstock, talesperson för Apple säger till VentureBeat: "We are excited to be opening a new Research and Development center here next year so our engineering team can work even more closely and collaboratively with our manufacturing partners. The Shenzhen center, along with the Beijing center, is also aimed at strengthening relationships with local partners and universities as we work to support talent development across the country." Tumnagel
38.8°
0
tisdag 11 oktober 2016 Forskare lyckas filma Mac-användare i smyg Och släpper verktyg så man slipper bli det Våra vänner borta på IDG rapporterar att det numera finns illvillig kod för Mac som kan använda datorns kamera utan att man vet om det. Denna kod aktiveras när program som Skype, Facetime eller andra program som använder kameran slår på kameran. Så den kan inte filma en medan man ovetande pillar näsan i sin lusekofta men kan spela in när man till exempel pratar med någon via Facetime. Än så länge har denna illvilliga kod endast använts i försök av säkerhetsforskare och något exempel på att detta används ute i den vida världen finns ännu ej. Men för att folk ska kunna hålla koll på detta framöver så har säkerhetsforskaren Patrick Wardle utvecklat ett verktyg som heter Oversight som man kan använda om man vill se vilka program som vill använda kameran. Tumnagel
41.8°
0
Apple Watch får inte bäras när brittiska regeringen har möte Man är rädd för att avlyssnas via smartklockan I Storbritannien har premiärminister Theresa May nu förbjudit sina ministrar att använda Apple Watch när regeringen har möte. Detta har man gjort av rädsla för att smartklockan ska kunna hackas och genom det avlyssna vad som diskuteras på regeringsmötena. Det verkar primärt vara ryska intressen man är oroliga ska avlyssna deras möten och en källa säger till brittiska The Telegraph: "The Russians are trying to hack everything." Mobiltelefoner har varit förbjudna att ha med sig till regeringsmötena sedan 2013. Också detta beror på att man är rädd för även att dessa ska kunna hackas och användas för att avlyssna mötena. Tumnagel
53.5°
0
Note 7-fiaskot ser ut att ha gynnat Apples aktiekurs Nästan ett år sedan den stod så här högt Apples aktie steg med nästan 2 procent på den amerikanska NASDAQ-börsen under gårdagen. Analytiker bedömde att detta är tack vare att Samsung igår sades ha stoppat produktionen av den olycksförföljda Android-modellen Galaxy Note 7. Det innebär att Apples aktie har gått upp med 30 procent sedan i maj då analytiker var oroliga för att Apple inte skulle sälja så mycket iPhones i framtiden. Nu tror dock analytikerna att iPhones kommer att sälja strålande då Samsungs Galaxy Note 7 måste anses ha varit en av iPhones största konkurrenter. Samsungs aktie sjönk med 1,5 procent under gårdagen och lär antagligen fortsätta backa idag då företaget i natt svensk tid meddelade att man tillsvidare helt slutar att sälja Note 7. Uppdaterat Samsungs aktie backade med över 6 procent under dagens handel på den sydkoreanska börsen. Tumnagel
37.3°
0
lördag 8 oktober 2016 Domstol fastställer att Samsung måste betala 120 miljoner dollar till Apple För Apples "slide-to-unlock"-patent En federal domstol i USA beslutade igår att Samsung måste betala 119,6 miljoner dollar i skadestånd för att man anses ha gjort patentintrång i Apples nu klassiska "slide-to-unlock"-patent. Tidigare hade en domstol upphävt det ursprungliga domslutet där Samsung ansågs vara skadeståndsskyldiga. Detta överklagade dock Apple och har nu alltså återigen fått rätt mot Samsung. Domstolen skriver i sitt domslut: "We conclude that the jury verdict on each issue is supported by substantial evidence in the record. We thus reinstate the district court’s award of costs which the panel had vacated." Förutom det så dömdes Apple att betala skadestånd på 158.400 dollar till Samsung då man ansåg att Apple 2014 hade gjort intrång på ett av Samsungs patent gällande bild- och videogallerier. Apple fick sitt så kallade "slide-to-unlock"-patent godkänt i USA 2010 och 2011 stämde man Samsung för att de använde en liknande funktion för att låsa upp sina Android-telefoner. Ironiskt nog så försvann "slide-to-unlock" helt från iPhones i och med att iOS 10 nyligen lanserades. Tumnagel
6.4°
0
onsdag 5 oktober 2016 Hejdå Apple TV generation 3 Nu är det ATV 4 som gäller om man vill ha en Apple TV 9to5Mac rapporterar att Apple TV generation 3 nu är bortplockad ur Apples sortiment och klicka man på länkar som relaterar till ATV3 skickas man istället vidare till produktsidan för Apple TV generation 4 som Apple släppte förra året. ATV3 har som bekant inte stöd för tvOS, SIRI, appar och annat som introducerades i samband med ATV4. I ett mail från Apple till 9to5Mac skriver Apple: Effective immediately, Apple TV (3rd generation), MD/199LL/A, has reached end of life and is now discontinued. The Apple Supply team is going to fulfill all shippable backlog. Apple TV släpptes 2012 och fick sin senaste uppdatering i maj. Då handlade det meste om lite olika säkerhetsuppdateringar. Det är oklart om Apple planerar att släppa ytterligare uppdateringar till ATV3 men jag antar att så inte kommer att bli fallet. Tumnagel
40.7°
0
tisdag 4 oktober 2016 Doftljus med lukt av när man packar upp en Mac Om du älskar lukten av uppackad dator Tillbehörstillverkaren TwelveSouth har tagit fram doftljuset "New Mac Soy Candle" som man säger ska lukta som när man packar upp en ny Mac-dator från Apple. Ljuset är handtillverkat i 100% soja-vax och har en brinntid på mellan 45 till 55 timmar uppger TwelveSouth på sin hemsida. Ljuset är just nu restnoterat men man kan skriva upp sig och få meddelande när det kommer in i butik igen. 24 dollar styck kostar ljusen. Tumnagel
47.0°
0
Nu laddas macOS Sierra ner automatiskt till mac-datorer Apple vill att alla ska köra senaste operativsystemet Från och med igår har Apple börjat ladda ner det senaste operativsystemet till deras datorer, macOS Sierra, automatiskt till en del användare som ännu inte uppdaterat till Sierra. De som får operativsystemet automatiskt nedladdat är de som har valt att godkänna automatiska nedladdningar till datorn, har en Mac som är kompatibel med Sierra samt har tillräckligt med plats för hårddisken för att Sierra ska kunna lagras på datorn. Skulle man ha fått Sierra nedladdat men väljer att inte installera det så kommer det att raderas automatiskt från datorn om lagringsutrymmet börjar ta slut. Tumnagel
52.9°
0
söndag 2 oktober 2016 Apple måste betala 302,4 miljoner dollar till patenttroll Förlorade patentmål gällande FaceTime Apple tvingas nu betala 302,4 miljoner dollar i skadestånd till VirnetX Holding Corp. efter att en domstol i Texas dömt till Virnets fördel i ett patentmål. Det handlar om ett patent som Virnet, ett företag som många anser är ett så kallas patenttroll, har registrerat och som man ansåg att Apple använder i sin videochat-app FaceTime. Tvisten mellan Apple och Virnet har pågått sedan 2010 och ursprungligen dömdes Apple att betala 625 miljoner dollar i skadestånd till Virnet. Denna dom upphävdes dock tidigare i år och rättegången togs därefter om. Virnet har även stämt Apple i ett annat patentfall där man hävdar att Apple använder deras i patent i sina säkerhetsprogram och deras meddelande-app iMessage. Tumnagel
3.4°
0
fredag 30 september 2016 Månadens video på Apples nya huvudkontor Bygget med moderskeppet fortskrider Nu var det ett tag sedan vi tittade till hur bygget av Apples kommande huvudkontor, det så kallade "Moderskeppet" kommer att se ut. Här är ett nytt videoklipp där man har filmat exteriören på Apple Campus 2 med en drönare. Tidsplanen verkar fortfarande hålla och bygget kommer antagligen att stå klart i slutet av året. Under nästa år beräknar Apple att deras personal ska kunna arbeta där. Tumnagel
35.0°
0
Idiot går loss med bouleklot i en Apple Store #applerage Här är några videoklipp från i morse som filmats på en Apple Store i Dijon, Frankrike, där vi får se en snubbe som helt verkar ha tappat det. Mannen i fråga går runt i butiken och krossar skärmar på iPhones, iPod Touches och en MacBook Air med sitt medhavda boule-klot. Enligt The Next Web så ska han ha pratat om sina konsumenträttigheter och att han av någon anledning är missnöjd med Apples support. Det hela slutade givetvis med att mannen omhändertogs av säkerhetspersonal för att sedan lämnas över till polisen. I videosnurran nedan hittar ni två klipp till från händelsen. Tumnagel
34.9°
0
tisdag 27 september 2016 Rykte Apple sägs arbeta på en sleep tracker till Apple Watch Ska knytas ännu närmare HealthKit Enligt nyhetsbyrån Bloombergs arbetar Apple på att göra sitt HealtKit till ett verktyg för att diagnosticera användarnas hälsa istället för att bara logga informationen. Bland annat sägs Apple arbeta på appar som kan övervaka användares sömn och hjärtrytm till Apple Watch. Baserat på information från dessa appar skulle HealthKit i framtiden kunna hjälpa användarna och sjukvården att diagnosticera hälsan hos användarna. Apple har även köpt företaget Gliimpse Inc. som samlar sjukvårdsinformation från olika databaser på ett gemensamt ställe. Att även detta skulle komma att kopplas samman med HealthKit är antagligen ingen vild gissning då en av Apple Healths chefsutvecklare tidigare arbetade på Gliimpse skriver Bloombergs. Tumnagel
41.7°
0
Drakes album först med en miljard spelningar på Apple Music "Views" är populär på Apples streamingtjänst Artisten Drake har meddelat på Instagram att hans album "Views" är det första album på Apple Music som streamats över en miljard gånger. För denna bedriften fick Drake bland annat en plakett från Apple som signerats av företagets VD Tim Cook. Den kan ni kolla in på instagrambilden ovan och nedan hittas en bild iTunes-chefen Eddy Cue, Tim Cook, Drake och Apple Musics innehållschef Larry Jackson som togs vid samma tillfälle. Drakes album släpptes exklusivt på Apple Music och de första fem dagarna gick det inte att lyssna på Views på någon annan streamingtjänst. ???? Thank you to everyone. OVO Sound to the ?? @applemusic A photo posted by champagnepapi (@champagnepapi) on Sep 26, 2016 at 12:29am PDT Tumnagel
22.6°
0
fredag 23 september 2016 En reklamfilm för Apple AirBag Mer skoj från Conan O'Brien Nyligen blev det känt att Apple lämnat in patentansökan om en ny produkt vid namn Bag och Conan Ox27Brien och gänget har släppt en video där vi får se vad den nya påsen kommer ha för funktioner. Tumnagel
55.5°
0
torsdag 22 september 2016 Rykte Apple sugna på att köpa motorcykelföretaget Lit Motors Ännu ett fordonsrykte om Apple Tidigare idag skrev vi om ett rykte som gjorde gällande att Apple förde samtal om att köpa hela eller delar av den brittiska biltillverkaren McLaren. Enligt New York Times skulle det dock inte vara det enda fordonsföretaget Apple har visat intresse av att köpa upp. Enligt NY Times källor är Apple även sugna på att köpa det San Francisco-baserade startup-företaget Lit Motors som tillverkar självbalanserade motorcyklar. Apple ska sedan tidigare ha anställt flera personer med bakgrund på Lit Motors skriver NY Times. Tumnagel
37.6°
0
Rykte Apple funderar på att köpa biltillverkaren McLaren Ska Apple börja bygga superbilar? Enligt källor Financial Times har varit i kontakt med så funderar Apple på att köpa den brittiska biltillverkaren McLaren Technology Group. Skulle inte ett uppköp vara möjligt så skulle Apple även kunna tänka sig att göra en större investering i McLaren enligt FT:s källa. Enligt FT så ligger prislappen för att köpa hela McLaren på mellan motsvarande 15 till 17 miljarder kronor, något som väl kan räknas som växelpengar för Apple. Apple har inte kommenterat det här ryktet medan en talesperson för McLaren säger till New York Times att man inte för några diskussioner med Apple angående ett uppköp. Tumnagel
19.0°
0
tisdag 20 september 2016 MacOS Sierra är här! Prata med datorn Apple meddelade nyss att MacOS Sierra nu finns tillgänglig som kostnadsfri uppdatering i Mac App Store. I och med denna uppdatering kommer Siri äntligen komma till Mac om man nu skulle få för sig att vilja snacka med datorn. Andra funktioner så som Universella urklipp, Skrivbord och dokument i iCloud, Autoupplåsning och Apple Pay på webben kan man också hitta i Sierra. Siri på Mac kan bland annat hjälpa till att skicka meddelanden och mejl, hitta dokument, söka efter information, söka igenom ens bildbibliotek samt ändra systeminställningar. Som användare kan man dra och släppa Siri-resultat i ett dokument eller fästa dem i vyn Idag och titta på dem senare. De universella urklippen gör att man kan kopiera innehåll från en app på en Apple-enhet och klistra in det i en annan app på en annan Apple-enhet vilket ju kan vara rätt så praktiskt om man använder flera Apple-enheter. En annan grej som verkar rätt så praktiskt om man använder flera Apple-enheter är Skrivbord och dokument i iCloud. Med den kan Mac-användare komma åt filer som ligger på datorns skrivbord från sin iPhone eller iPad. Autoupplåsning gör att man kan logga in automatiskt på sin Mac om man har på sig en autentiserad Apple Watch och med Apple Pay kan man enkelt betala för sina varor om man köper något från sidor som stödjer detta. Uppdateringen kommer även ge programmet Bilder ett par nya funktioner så som funktionen Minnen, som automatiskt skapar samlingar med dina bästa bilder och videor. Bilder kommer även få det nya redigeringsverktyget Klarhet som kan hjälpa till att lysa upp mörka områden, tonar ner högdagrar eller ger bättre kontrast och detaljrikedom i bilderna. Hur användbara dessa funktioner kommer vara i verkligheten återstår att se. Detta är självklart endast ett några av nymodigheter som Sierra bjuder på vill man se en detaljerad lista så kan man hitta en sådan via länken nedan. MacOS Sierra finns som kostnadsfri uppdatering från och med i dag på Mac App Store. Operativsystemet kan användas på alla Mac-modeller som introducerats sedan slutet av 2009. Tumnagel
50.9°
0
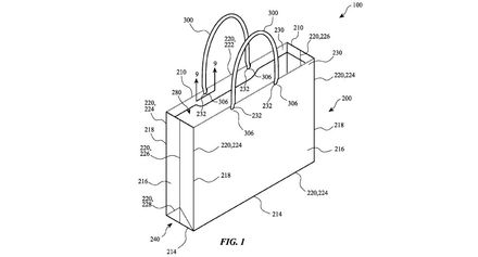
Apple patenterar papperspåse iBag? Apple har fått en designpatentansökan (designskydd/mönsterskydd i Sverige) som beskriver en papperspåse godkänt av det amerikanska patentverket USPTO. Det är en väldigt utförlig ansökan som innehåller närmare 20 skisser och en lång rad punkter på påsen som Apple nu fått patent på. Gizmodo har läst igenom Apples patentansökan för "Bag" och bland annat hittat följande guldkorn: "Bags are often used for containing items. For example, retail bags may be used to contain items purchased at a retail store." "The bag may be formed of a container and a handle." "Those skilled in the art will readily appreciate that the detailed description given herein with respect to these figures is for explanatory purposes only and should not be construed as limiting." "The phraseology or terminology used herein is for the purpose of description and not limitation, such that the terminology or phraseology of the present specification is to be interpreted by the skilled artisan." Att "Bag" dyker upp i Apple Stores världen över i framtiden är väl ingen helt vild gissning från våran sida. Tumnagel
40.4°
0
måndag 19 september 2016 James Corden medverkar i reklam för Apple Music Pitchar ett gäng idéer James Corden, känd från Late Late Show with James Corden och numera Apple-ägda Car Pool Karaoke, medverkar i en ny reklam för Apples musiktjänst Apple Music där han pitchar ett gäng idéer för att lyfta fram att Apple Music bland annat har 40 miljoner låtar. Tumnagel
34.8°
0
Apple II får en uppdatering ProDOS 2.4 är här Förra veckan så släpptes den första uppdateringen för Apple II på mer än 20 år. ProDOS-uppdateringen, gjord av John Brooks, skall både ta mindre plats samt vara snabbare än föregående ProDOS-version. Det innehåller även några nya program så som den menybaserade launchern Bitsy Bye som endast är 1KB stort/litet. Vill man så kan man testa ProDOS 2.4 i en webbaserad emulator här men vill man istället ladda ner det och installera det själv så kan man hitta denna uppdatering via länken nedan. Tumnagel
42.3°
0
fredag 16 september 2016 Porr och nazism i Meddelanden i iOS 10 Hoppsan I den nya Bing-baserade GIF-sökfunktionen i Meddelanden i iOS 10 kan det dyka upp renodlad porr när man söker efter generella termer. Förutom porren så rapporter The Verge att även nazi-giffar och andra stötande resultat har dykt upp bland sökresultaten. Apple har försökt lösa dessa problem genom att blockera ord som kan ge stötande resultat men det är ju inte direkt någon optimal väg att gå då i princip allt man söker efter på internet kan ge stötande resultat. Tumnagel
40.8°
0
torsdag 15 september 2016 Apple släpper Swift Playgrounds Verktyg för att lära barn att programmera Nu har Apple släppt Swift Playgrounds officiellt och det handlar om ett verktyg som är tänkt att lära barn programmera i Apples programmeringsspråk Swift. Verktyget presenterades under årets WWDC och har funnits i betaversion ett tag men går från och med nu att ladda ner från App Store. I Swift Playgrounds får man lära sig de grunderna i programmering, funktioner, objekttyper, kommandon och annat som har med programmering att göra. Swift Playgrounds hittas gratis i App Store på länken nedan och appen är kompatibel med iPad Air, iPad Pro samt iPad Mini 2:or som kör iOS 10. Tumnagel
46.8°
0
Fejkreklam för AirPods visar det största problemet med lurarna Conan O'Brien skojar till det Conan Ox27Brien och gänget har gjort en fejkreklam för Apples nya AirPods som visar ett av de största problemen som kunder kommer få uppleva när de köper 1800-kronorslurarna. Tumnagel
54.6°
0
onsdag 14 september 2016 WatchOS 3 släppt Här är lite av nyheterna i Apples OS för smarta klockor Förutom att släppa iOS 10 och macOS Sierra så släppte Apple idag även den senaste versionen av watchOS, deras operativsystem till Apple Watch. Man har numera en docka, som man når genom att klicka på sidoknappen. Där har man snabbt access till de senaste apparna och slipper gå tillbaka till hemskärmen för att byta. Mycket välkommet! Tre nya appar kommer från Apple; Hitta vänner, SOS och Påminnelser. SOS har all information om dig (om du vill) som blodgrupp etcetera. Appar ska även starta väldigt mycket snabbare, upp till sju gånger snabbare faktiskt. Mycket välkommet. Man har även gjort lite nya watch faces där främst aktivitetsstatusen blivit viktigare. Att byta watch face gör man med ett enkelt svep. På tal om aktivitetsstatusen, man kan numera dela dessa med sina vänner så att man ser hur aktiva, eller lata, de är. Man har även anpassat aktivitetsfunktionerna så att de fungerar för de som sitter i rullstol. En ny funktion är Breathe som gör att man blir mer avstressad. Om man vill svara på meddelanden kan man numera göra det genom att skriva svaret med bokstäver, detta fungerar dock bara med engelska och kinesiska. Tumnagel
38.5°
0
Slack släpper ny version till macOS Testa betan av samarbetappen nu Samarbetsverktyget Slack som används inom många företag och organisationer har nu släppts i en ny betaversion till macOS. Det har tidigare funnits en Slack-app till macOS men den har egentligen bara varit en så kallad wrapper av webbversionen. Den nya betaversionen är fullständigt omgjord och det man direkt märker är att den är enormt mycket snabbare. Förutom det så har man gjort lite gränssnittsförändringar men är man van vid att använda Slack via webben så känner man nog igen sig. Slack till macOS i betaversion hittas på länken nedan. Tumnagel
37.6°
0
Tim Cook tror mer på AR än på VR Betyder det att Apple bygger ett headset för augmented reality? Under en intervju med amerikanska ABC avslöjade Apples VD Tim Cook att han tror att augmented reality kommer att bli en större succé än virtual reality i framtiden. Detta baserar Cook på att AR-användare är mer delaktiga i världen runt omkring den medan VR-användaren befinner sig i en helt sluten värld inuti VR-upplevelsen. Detta betyder med andra ord att Cook tror mer på lösningar som Microsofts HoloLens och Magic Leaps kommande AR-system än till exempel VR-lösningar som HTC Vive, Oculus Rift, Google Cardboard och Samsung Gear VR. I början av året ryktades det som att Apple höll på att rekrytera personal till en framtida VR-lösning men i ljuset av Cooks uttalande till ABC kanske det istället handlar om att Apple tar fram en lösning för AR. Tumnagel
45.2°
0
The Verge recenserar Apple Watch Series 2 Full fokus på fitness The Verge har testat Apples nya Watch Series 2 och i videon ovan kan ni se vad gänget tycker om den nya smarta klockan. Sammanfattningsvis får klockan tummen upp tack vare nya, snabbare processorn, det större batteriet, GPS och vattentåligheten, men nackdelen är att endast iPhone-användare kan använda klockan och att klockan fortfarande har lite mjukvarubekymmer. Tumnagel
39.2°
0
Mac Pro inte uppdaterad på 1000 dagar Eh? Ok, Mac Pro må inte vara Apple kärnverksamhet längre. Men nu har det faktiskt gått hela 1000 dagar sedan man senast släppte en ny version av Mac Pro. Eller, det är 1000 dagar sedan man släppte Mac Pro för den har aldrig fått sig en uppdatering. Vi får helt enkelt hoppas att Mac Pro får sig en uppdatering senare i, precis som vi hoppas att MacBook Pro också ska få. Tumnagel
11.3°
0
måndag 12 september 2016 Även Sverige vill kontrollera om Apple kan beskattas i Sverige Bör en del av bötespengarna tillfalla Sverige? Efter det att Apple för två veckor sedan dömdes att betala ett rekordskadestånd på 13 miljarder euro plus ränta för uteblivna skatteinbetalningar på Irland börjar nu andra EU-länder intressera sig för att eventuellt ta del av de pengarna skriver IDG. Ett av dessa länder är Sverige och IDG skriver att Sverige har begärt mer information från EU-kommissionen om kvarskatts-beslutet. Andra länder som uppges vara intresserade av att se om de kan få ta del av de 13 miljarder euro som Apple ska betala i kvarskatt är Frankrike, Italien, Spanien och Österrike. Tumnagel
68.7°
0
torsdag 8 september 2016 Apple Music har nu 17 miljoner betalande användare Lite mindre än hälften av vad Spotify har Under gårdagens iPhone 7-presentation så rabblade företaget VD Tim Cook även lite siffror. Cook berättade bland annat att Apple Music nu har 17 miljoner betalande användare. Det har nu gått cirka 14 månader sedan Apple lanserade Apple Music vilket innebär att man i genomsnitt fått över en miljon nya användare i månaden. Som jämförelse så tog det Spotify nästan 9 år att nå 15 miljoner betalande användare. Givetvis såg streamingmarknaden för musik betydligt mycket mer annorlunda ut då jämfört med hur den ser ut idag. Spotify är med sina över 39 miljoner betalande användare fortsatt avsevärt mycket större än Apple Music än så länge. Tumnagel
13.9°
0
Då kommer iOS 10 och macOS Sierra Inte lång väntan kvar nu! Jag blev en gnutta besviken att Apple inte släppte iOS 10 och macOS Sierra igår men det är inte speciellt lång väntan kvar på de nya operativsystemen. macOS Sierra kommer att finnas tillgängligt 20 september. Bland nyheterna hittar vi framförallt Siri. iOS 10 kommer en vecka tidigare, 13 september. Här är nyheterna betydligt fler, bland annat en helt ny meddelande-app, nya notisfunktioner etcetera. watchOS 3 däremot, det får vi vänta på. Här finns inget exakt datum utan endast "kommer i höst". Tumnagel
43.5°
0
onsdag 7 september 2016 Apple presenterar AirPods Trådlösa hörlurar till iPhone Apple skippade som bekant 3,5mm-ingången på iPhone 7 och man har antagligen stora förhoppningar på att iPhone 7-användare ska införskaffa de trådlösa hörlurarna AirPods som man presenterade under kvällen. AirPods ser ut som ett par traditionella EarPods där man helt enkelt tagit bort sladden och satt på ett litet rör. AirPods har sensorer som känner av om de befinner sig i örat och om så inte skulle vara fallet så spelas ingen musik upp. Genom att dubbelknacka på hörlurarna drar man igång Siri. Det går att använda båda lurarna för att lyssna på musik i stereo eller så kan man välja att bara använda den ena om man till exempel bara vill tala i telefon med någon. Hörlurarna har fem timmars batteritid men med det tillhörande fodralet och dess inbyggda batteri utökas detta till 24 timmar. AirPods släpps i oktober och kommer att kosta 1795 kronor. Tumnagel
24.1°
0
Pokemón Go kommer till Apple Watch Håll koll på Pokémons direkt på armen Under dagens Apple-presentation så visade Apple en hel del appar till Apple Watch och man avslöjade bland annat att Pokemón Go snart kommer till Apple Watch. Man demonstrerade hur det skulle fungera och man kommer bland annat att kunna svepa på Pokéstops direkt på klockan, se när ägg kläcks samt ha koll på hur långt man går och mycket kalorier man bränner. Man får även reda på om det finns Pokémons i närheten men de kommer inte att gå att fånga direkt i klockan. Skulle man vilja göra det får man ta fram sin iPhone. Pokémon Go till Apple Watch kommer att släppas innan årets slut utlovade Niantic och Pokémon Company under sin presentation. Tumnagel
33.9°
0
Apple Store nere Inför kvällens presentation Sin vana trogen har Apple nu stängt ner Apple Store inför kvällens presentation som börjar om cirka fyra timmar. Vad som förväntas presenteras på kvällens presentation kan ni läsa mer om i den inlänkade artikeln nedan. Med stor sannolikhet blir det en iPhone 7 och den lär antagligen gå att förhandsbeställa i Apple Store när presentationen är slut. Tumnagel
40.5°
0
fredag 2 september 2016 Köp jackan Steve Jobs bar när han pekade finger åt IBM Det och mycket annat Jobs-relaterat går på auktion Auktionshuset Julienx27s Live auktionerar just nu ut en del av Apple-grundaren Steve Jobs gamla grejer och man kan bland annat lägga bud på jackan som Jobs hade på sig när han 1983 pekade finger åt IBM-loggan. Förutom jackan handlar det om ett 30-tal prylar som varit i Jobs ägo. Allt ifrån kläder till Jobs Seiko-klocka och PR-material för hans företag NeXT. Jackan ovan är det dyraste objektet som auktioneras ut och budet för den ligger för tillfället på 4.000 dollar men det går att hitta till exempel skjortor som Jobs har burit för 100 dollar än så länge. Auktionen pågår i 21 dagar till. Tumnagel
23.7°
0
torsdag 1 september 2016 Monsters stämning mot Beats underkänns Blir nu istället stämda av Beats I början av förra året stämde hörlurs- och sladd-tillverkaren Monster sin tidigare samarbetspartner Beats då man ansåg att Beat hade stulit Monsters hörlursteknik. Nu har en domare i USA dock underkänt Monsters stämning då man inte ansåg att det fanns något juridiskt underlag för att gå vidare med Monsters stämning mot Beats. Den planerade rättegången i september kommer dock att bli av men då kommer den bara handla om att Beats vill ha ersättning för sina juridiska kostnader av Monster. Det gick med andra ord inte alls Monsters väg den här gången heller. Monster är kända för att stämma företag lite hej vilt och har tidigare bland annat stämt minigolf-företaget Monster Mini Golf och bilföretaget Monster Transmission för varumärkesintrång. Tumnagel
38.4°
0
onsdag 31 augusti 2016 Transmission infekterat av skadlig programvara ännu en gång Populär bittorrent-klient till OS X installerade bakdörrar till datorn Den populära bittorrent-klienten Transmission har för andra gången på ett halvår spridit infekterad programvara till de som installerat den på datorer som kör OS X. Förra gången, se inlänkad artikel nedan, handlade det om så kallat ransomware som installerades och den här gången installerade den skadliga programvaran kod på datorn som gav obehöriga tillgång till datorn via så kallade bakdörrar. Enligt ESET så har de skadliga koden kunnat implementeras i Transmission på samma sätt båda gångerna vilket är lite oroväckande. Den skadliga koden är nu borttagen från Transmission men ESET rekommenderar alla som installerat Transmission 2.92 mellan 28-29 augusti att kontrollera så att den skadliga koden inte installerats på deras datorer. Känner du att du är en av dem så hoppa vidare på länken nedan där det finns instruktioner som visar hur du kan kontrollera om din dator är smittad. Tumnagel
22.6°
0
tisdag 30 augusti 2016 Tim Cook skriver öppet brev till Europa På grund av skattesmällen Apple drabbats av Idag beslutade EU-kommissionen att Apple ska upptaxeras med upp till 13 miljarder euro plus ränta då man ansåg att företaget hade betalat för lite skatt i Irland mellan åren 2003 till 2014. Apple hade antagligen förväntat sig det beskedet för nästan omgående efter EU-kommissionen publicerade sitt beslut lade Apples VD Tim Cook ut ett öppet brev till "the Apple Community in Europe" på Apples webbplats. I brevet skriver han bland annat att Apple genom sina investeringar i Irland har skapat tusentals jobb i landet. Vidare skriver han att Apple har följt alla lagar gällande skatter på Irland och att man inte bett om att bli särbehandlade av landet när det kommer till beskattning. Ni kan läsa hela Tim Cooks brev på länken nedan eller under "Läs mer". Tumnagel
19.8°
0
HacBook Elite är en laptop som kör MacOS Blir din för 329 dollar Skulle man vara sugen på en laptop som kör MacOS men inte riktigt har budgeten för att köpa en från Apple så finns nu den här varianten att köpa. Den är från några som kallar sig för HacBook och de erbjuder en dator som man kallar för HacBook Elite till ett betydligt mycket billigare pris än till exempel en vanlig Macbook. Datorn är byggd på ett skal från HP. För 329 dollar får man en laptop med ungefär samma specifikationer som den billigaste MacBooken, bortsett från en retinaskärm. Det mesta inuti skalet ska gå att uppgradera och då blir givetvis HacBooken dyrare. Sannolikheten att HacBook kommer att kunna sälja sina datorer under någon längre tid är antagligen liten då Apple inte tillåter att MacOS körs på annan hårdvara än Apples egen. Tumnagel
40.1°
0
Rykte Får vi nya Macbooks snart? Bloomberg verkar tro det I går fick vi reda på att Apple kommer hålla låda den 7 september där man med all sannolikhet kommer visa upp sina nya iPhones och nya Apple Watch-modeller. Fokuset kommer sannolikt att ligga på dessa mobila enheter så någon ny traditionell datorhårdvara lär vi inte se här. Men Bloomberg rapporterar att Apple, inte helt oväntat, jobbar på nya Mac-datorer som de sannolikt kommer visa upp senare under hösten. Macbook Pro sägs få ett mer Macbook-liknande tangentbord, större pekplatta och något som, enligt Bloomberg, internt kallas för "Dynamic Function Row". Tidigare rykten har antytt att detta är en OLED-remsa som är placerad ovanför tangentbordet och som då kan visa olika knappar beroende på vilket program som är aktivt. Macbook Air sägs också få en uppgradering med bättre prestanda samt samma USB-C-lösning som Macbook har. Förutom det så säger man att även iMac kommer få uppdaterad hårdvara. Man rapporterar även att Apple förväntas visa upp en fristående 5K-skärm som man bygger i samarbete med LG. Man säger också att Apple kommer uppdatera iPad så den får bättre skärmteknik som gör att man kan zooma och skrolla snabbare. Man nämner även att uppdatera mjukvaran så Apple Pencil kommer fungera med fler iOS-program. Nya Mac-hårdvaran förväntas dyka upp senare i år och iPad-uppdateringen förväntas släppas under nästa år. Tumnagel
39.4°
0
Uppdaterat Apple åker på rejäl skattesmäll i EU Kommer att få betala rekordböter Idag kommer EU-kommissionen att publicera sitt beslut angående huruvida Apple fått illegal hjälp från Irland att undankomma skatte i EU. Men enligt Financial Times är det redan nu klart att Apple kommer att fällas och dömas till rekordböter. Exakt hur mycket Apple kommer att få betala i retroaktiv skatt är inte klart än så länge men tidigare uppgifter har talat om att det handlar om mellan 8 och 19 miljarder dollar. Skulle Apple till slut bli tvungna att betala detta skulle företaget bli tvungna att helt revidera om sina bokföringssiffror enligt Financial Times. Både Apple och Irland förväntas överklaga EU-kommissionens beslut. Uppdaterat EU-kommissionen har nu släppt sitt beslut publikt och av det framgår att Apple ska betala upp till 13 miljarder euro plus ränta då EU anser att Apple betalat för lite skatt i Irland mellan åren 2003 till 2014. Apple är givetvis inte helt nöjda med detta och säger i ett uttalande: "The European Commission has launched an effort to rewrite Apple’s history in Europe, ignore Ireland’s tax laws and upend the international tax system in the process. The Commission’s case is not about how much Apple pays in taxes, it’s about which government collects the money. It will have a profound and harmful effect on investment and job creation in Europe. Apple follows the law and pays all of the taxes we owe wherever we operate. We will appeal and we are confident the decision will be overturned." Tumnagel
70.9°
0
måndag 29 augusti 2016 Apple håller låda den 7 september Hörlursuttag eller inte hörlursuttag, det är frågan Apple skickade i dag ut inbjudan till pressen för ett event som de kommer hålla i San Francisco den 7 september. Exakt vad de kommer visa är oklart men sannolikt handlar det om iPhone 7 och iPhone 7 Plus. På detta jippo så kommer Apple sannolikt även visas upp nya Apple Watch-modeller. Eventet kommer strömmas direkt via nätet så alla som vill kan se det direkt klockan 19:00 svensk tid. Tumnagel
54.2°
0
onsdag 10 augusti 2016 Rykte Nya MacBook kommer inte visas under septembereventet Vi får vänta ännu längre på OLED-remsan Det har ryktats om att Apples nya MacBook Pro som sägs vara utrustade med en OLED-remsa ovanför tangentbordet ska visas upp under Apples event i september. Enligt Bloomberg så kommer Apple suga på MacBook-karamellen ett tag till och visa upp den nya laptopen senare och kommer förhoppningsvis göra det innan årets slut. Kommande MacBook Pro sägs vara tunnare än tidigare versioner och vara utrustad med en större pekplatta samt att en OLED-remsa ersätter funktionsknapparna på tangentbordet. MacBook-fans har väntat rätt länge på den nya MacBook Pro-datorn. Tidigare har det gått runt 268 dagar mellan de nya MacBook-versionerna, men nu har det gått över 440 dagar sedan den senaste MacBook Pro med Retina-skärm visades upp. Hur som helst. Under Apples septemberevent ryktas det att företaget kommer visa upp nya iPhone 7 samt nya Apple Watch-modeller. Tumnagel
26.0°
0
måndag 8 augusti 2016 Senaste titten på Apple Campus Moderskeppet börjar ta form Nu har den senaste videon från Apple Campus-byggets släppts där vi får se att arbetet med Apples nya kontor börjar ta form på alla olika fronter. Apple Campus väntas stå klart kring årsskiftet 2016-2017. Tumnagel
36.7°
0
Rykte Två nya Apple Watch på gång i år En lite kraftigare och en lite billigare MacRumors rapporterar om ett rykte kring nästa revision av Apple Watch. Rapporten nämner att Apple har två olika modeller av den smarta klockan planerade för släpp i år och ännu en modell som skall släppas under nästa år. Den ena sägs gå under namnet Apple Watch 2 och den kommer se ut som den nuvarande modellen men ha en del nya komponenter under huven. Några av komponenterna som nämns är GPS, en barometer, tunnare skärm och en ny processor från TSMC. Den sägs även kunna hantera vatten bättre vilket ju är trevligt. Enligt rapporten så kräver alla dessa nya komponenter ett större batteri vilket gör att storleken på klockan förblir ungefär den samma. Den andra Apple Watch som rapporten menar kommer släppas i år är en med mer eller mindre samma komponenter och funktioner som den nuvarande Apple Watch-modellen. Komponenterna kommer dock vara uppdaterade varianter och priset för enheten kommer bli lägre. Förutom det så nämner rapporten att en tredje modell kan komma att släppas redan under nästa år som kommer innehålla en LTE-radio. Detta innebär ju att man kommer kunna använda klockan utan att den behöver vara kopplad till en telefon. Ni som väntar på en ny klockdesign kommer vara tvungna att vänta ett par år till. Rapporten nämner nämligen att en Apple Watch med ny design inte kommer släppas förrän under 2018. Under nästa månad förväntas Apple hålla ett event där man kommer visa nästa iPhone och kanske får vi då även se dessa nya Apple Watch-enheter. Tumnagel
62.0°
0
fredag 5 augusti 2016 Apple startar buggjägarprogram Hitta bugg, få 200 000 dollar Flertalet techföretag har så kallade buggjägarprogram där folk som hittar buggar kan meddela detta till företagen och få pengar för det. Apple har aldrig tidigare haft ett sådant program, men det verkar ha ändrats nu. Under konferensen Black Hat i Las Vegas meddelade Ivan Krstic, Apples chef för Security Engineering and Architecture, att företaget nu delar ut prispengar på upp till 200 000 dollar till folk som hittar buggar i Apples olika produkter. Detta är en av de högsta summorna som techföretag erbjuder för buggletare, men för att komma upp till 200 000 dollar behöver du hitta rätt omfattande säkerhetshål i boot-mjukvaran som kan ställa till bekymmer. Apple delar även ut prispengar till folk som hittar mindre säkerhetshål som kan ge olovliga användare tillgång till andra användares iCloud. Tumnagel
47.0°
0
torsdag 4 augusti 2016 Apple har nu betalat ut 50 miljarder dollar till utvecklare Ny milstolpe Apple-bossen Tim Cook meddelade i går att Apple har betalat ut mer än 50 miljarder dollar till utvecklare via Apples App Store. För ungefär sex månader sedan nådde man milstolpen 40 miljarder dollar men tack vare rekordmånga betalningar under juli månad (Pokémon GO?) lyckades man nå 50 miljarder dollar-milstopen på endast sex månader. Tumnagel
47.8°
0
onsdag 3 augusti 2016 Logitech släpper Create till iPad Pro 9.7 Med Smart Connect Logitech har släppt ett nytt tangentbordsfodral till iPad Pro vid namn Create. Den största fördelen är att tangentbordet utnyttjar Apples nya Smart Connect som gör att du bara behöver placera plattan på kopplingspunkten för att börja använda enheten. Smart Connect gör även att du inte behöver ladda tangentbordet då ström dras från surfplattan. Tangentbordet har även andra smidiga funktioner som bakgrundsbelysning och har en hållare för pennan till iPad Pro. Logitech Create finns ute i butik redan nu och det rekommenderade priset ligger på 1499 kronor. Create finns tillgängligt i färgerna blått och svart. Tumnagel
37.9°
0
tisdag 2 augusti 2016 Apple kanske slipper betala 625 miljoner dollar till patenttroll Rättegången ska nu tas om och delas upp I början av året förlorade Apple en tvist mot patenttrollsföretaget VirnetX gällande patent som rätten ansåg att Apple använde i FaceTime och VPN-lösningar. Det innebar att Apple skulle betala 625 miljoner dollar till VirnetX men nu ser det ut som om Apple kommer att få en andra chans. En federal domare har nu nämligen ogiltigförklarat den tidigare rättegången och kräver att den tas om samt delas upp. Anledningen till att den tidigare rättegången blev ogiltigförklarat beror dels på en teknikalitet då VirnetX:s advokater tagit upp saker vid ett tillfälle de inte borde gjort det, dels på grund av att det handlar om två olika produkter/lösningar som Apple stämts för. Domaren var orolig att det skulle kunna skapa förvirring i juryn som skulle döma i fallet. Den federale domaren har nu bestämt att det ska bli två separata rättegångar, en gällande patenten som FaceTime eventuellt har gjort intrång på, dels en där man tar upp VPN-lösningarna. Den första av dessa börjar 26 september. VirnetX aktie föll 44,6 procent på börsen efter domarens beslut. Tumnagel
52.3°
0
Apple vill gärna att vi ska tro att iPad Pro är en dator Släpper en ny reklamfilm Apple har släppt en ny reklamfilm för sin tablet iPad Pro som man kallar för "Whatx27s a computer". Ordet "tablet" nämns inte en enda gång i filmen men däremot nämns "computer" desto oftare och det verkar som om Apple gärna vill att vi ska betrakta iPad Pro som en fullfjädrad dator. Jag gillar min iPad Pro även om jag inte använder den särskilt ofta men jag skulle givetvis i dagsläget aldrig kunna ersätta min Macbook Air med iPad Pro. Den dagen iOS får stöd för mus och det även blir enklare att installera program från andra källor än App Store så kanske det skulle funka. Men idag? Nej. Tumnagel
62.0°
0
fredag 29 juli 2016 Rykte Apples bilprojekt skiftar fokus Ska nu satsa på att ta fram mjukvara för självkörande bilar Apple har anställt ännu en tungviktare inom bil/teknik-industrin som antas börja arbeta med deras än så länge ej bekräftade bilprojekt "Project Titan". Det handlar om Bob Dodge, grundare av företaget QNX och även en av de som låg bakom BlackBerrys operativsystem efter BlackBerry köpt upp QNX. Dock intressantare i det här fallet är att Dodge även har utvecklat information- och underhållningssystem som idag sitter i många bilar från Volkswagen, Daimler och Ford. Det har tidigare uppgetts om att Project Titan var Apples satsning på att ta fram en helt egen elbil. Nu uppger dock nyhetsbyrån Bloomberg att projektet har skiftat fokus från detta för att istället satsa på att fram programvara till självkörande bilar. Apple har aldrig någonsin kommenterat något om Project Titan eller ett eventuellt bilprojekt över huvudtaget officiellt men det verkar helt klart som om ett sådant just nu pågår hos Apple. Det sägs bland annat att Apple-chefen Bob Mansfield som har arbetat på Apple sedan 1999 nu leder Project Titan och rapporterar direkt till Apples VD Tim Cook. Tumnagel
38.1°
0
Nästa sida + Per månad 39 kr Betala löpande per månad. Ingen bindningstid. Starta prenumeration Per år 299 kr Enklast och billigast, bara 25 kronor i månaden. Betala löpande per år. Ingen bindningstid. Prova 14 dagar gratis innan du bestämmer dig. Starta gratis provperiod Engångsköp 349 kr Slipp återkommande betalningar, betala ett år i taget. Betala med kort eller Swish. Köp utan prenumeration