Teknik Motor Samhälle Spel Popkultur Fritid Tjock Tester Dagens fråga Tipsa! Skaffa Feber+
Hetaste
Senaste
Alla Heta Kalla Öppna i ny flik fredag 25 juli 2014 fortsättning Folk kommenterar Apples iTime Watch Som inte är en iWatch På den amerikanska pratshowen Jimmy Kimmel Live har man ibland ett segment där man lurar folk på stan och får dem att prata om saker som de inte har koll på. Nyligen var det dags igen och denna gång så visade man upp Apples nya smarta klocka, en klocka som egentligen var en billig Casio, och frågade vad de tyckte om den. Tumnagel
47.7°
0
torsdag 24 juli 2014 Idag drar Apple igång betatestandet av OS X Yosemite En miljon användare får betatesta Idag så drar Apple igång betatestandet av OS X Yosemite så om du anmält dig för det kanske du får ett mail under dagen som säger att du kan ladda hem operativsystemet. Dock så kommer de ”endast” att låta en miljon användare testa den nya versionen så det är inte säkert att du får vara en av dem även om du skrivit upp dig på deras sajt (vilken du hittar här). Troligen så släpps Yosemite någon gång i höst, just nu verkar oktober vara den hetaste gissningen. Tumnagel
45.7°
0
onsdag 23 juli 2014 iOS 8 och OS X Yosemite släpps ej samtidigt? Trots den täta integrationen När Apple presenterade nästa generation av sitt operativsystem för Mac, OS X, så var en av de stora sakerna en betydligt tätare integration med iOS. Detta skulle kunna få en att tro att Apple skulle släppa den nya versionen av iOS samtidigt så att man kan ta del av detta direkt men nu verkar det inte vara så. Enligt nya uppgifter till 9to5Mac så kommer iOS 8 att släppas i september samtidigt som den nya telefonen men OS X Yosemite kommer inte att släppas förrän månaden efter. Tumnagel
35.8°
0
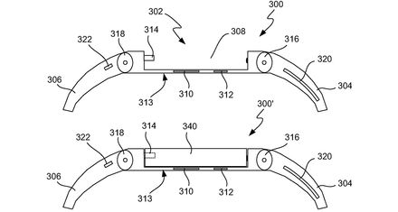
Smart armband från Apple? Kommer Apples smartwatch vara tvådelad? Ett av Apples senaste patent som blivit beviljat och därför dykt på nätet är detta patent på en smart klocka. Vi förväntar oss att Apple kommer att släppa en klocka senare i år men om detta patent har med den riktiga produkten att göra återstår att se. Om det dock finns en korrelation mellan den verkliga produkten och detta patent så kanske vi kommer att få se en produkt som består av två delar. Patentet visar nämligen en klocka där även armbandet har inbyggd elektronik och ser ut att vara utbytbart. Bland annat så står det i patentet att armbandet kan vara utrustat med trådlöst nätverk, gps och sensorer för att känna av armens rörelser. Vad tror ni om olika armband för olika funktioner? Detta skulle kunna vara ett sätt för Apple att släppa en klocka i olika prisklasser. Tumnagel
40.0°
0
Apple köper upp många företag Och betalar ut mycket pengar till apputvecklare Förutom att släppa lite försäljningssiffror igår så delade Apple med sig av lite andra siffror som kan vara intressanta. De meddelade bland annat att de under de senaste 9 månaderna (hittills i deras räkenskapsår) har köpt 29 stycken olika företag varav fem stycken har varit under det senaste kvartalet. Bland annat så har Apple köpt ett företag som håller på med lågenergi LED-displayer, ett företag som utvecklar kameraappar och ett företag som tagit fram en testplattform för apputvecklare. Utöver dessa så har de även köpt en hög företag som håller på med olika kart-tjänster och smarta funktioner som utnyttjar sociala medier. De meddelar även att de betalat ut hela 20 miljarder dollar till apputvecklare i intäkter från App Store vilket är en ökning på 10 miljarder på bara det senaste året. Tumnagel
43.9°
0
Lite siffror från Apple Sålde 35 miljoner iPhones förra kvartalet Apple presenterade igår kväll sin kvartalsrapport för kvartal nummer 3 och vad gäller intäkter så nådde de precis vad de förutspått, 37,4 miljarder dollar. Av dessa pengar så är 7,7 miljarder ren vinst och båda siffrorna är aningen högre än samma kvartal förra året (35,3 respektive 6,9 miljarder dollar). De släppte även siffror på hur många enheter de lyckats sälja inom deras fyra huvudområden och högst upp på listan hittar vi iPhone som de lyckats sälja 35,2 miljoner av de senaste tre månaderna. De har även lyckats sälja 13,2 miljoner iPads, 4,4 miljoner Macar samt 2,9 miljoner iPods. Detta utan någon större lansering det kvartalet. Tumnagel
44.1°
0
tisdag 22 juli 2014 Apple släpper reklamfilm för MacBook Air Visar massor av klistermärken folk smyckar ut sina datorer med Här har vi Apples senaste reklamfilm som visar upp hur olika människor personifierar sina datorer med klistermärken. Har du något klistermärke på din MacBook? I så fall, vad? Tumnagel
46.1°
0
måndag 21 juli 2014 Tvåstegsverifiering till Sverige På tiden Apple expanderade i dag sin tvåstegsverifieringslösning till ytterligare 48 länder. Bland dessa länder kan man hitta Sverige vilket ju innebär att även folk som är bosatta här och vill ha ett extra lager säkerhet nu kan få det. Tvåstegsverifieringen gäller även iCloud-sidan och webbapparna där. Tumnagel
42.0°
0
onsdag 16 juli 2014 IBM och Apple i stort samarbete Steve vänder sig i graven? Apple och IBM meddelade igår kväll att de kommer att påbörja ett samarbete riktat mot företagsanvändare. Samarbetet kommer bland annat innebära att de bägge företagen kommer att ta fram lättanvända appar till företag som ska vara kompatibla med Apples iPad och iPhone. Satsningen på företag som Apple inledde i samband med lanseringen av iOS 7 ser med andra ord ut att bli fruktsam för Apple. Apples och IBM:s lösning kommer att gå under beteckningen "IBM MobileFirst for iOS" och kommer enligt Apple att inkludera följande: * a new class of more than 100 industry-specific enterprise solutions including native apps, developed exclusively from the ground up, for iPhone and iPad; * unique IBM cloud services optimized for iOS, including device management, security, analytics and mobile integration; * new AppleCare® service and support offering tailored to the needs of the enterprise; and * new packaged offerings from IBM for device activation, supply and management. Det här samarbetet markerar väl även något slags slut på den era då Apple ansåg att IBM var "the man" medan man själva var ett hippt och kreativt företag från Kalifornien. I den 30 år gamla reklamfilmen från när Apple introducerade Macintosh-datorn fick IBM bland annat ikläda sig rollen som "Big Brother" från George Orwells dystopiska 1984-scenario. När filmen förhandsvisades första gången1983 presenterade Steve Jobs den så här: "It is now 1984. It appears IBM wants it all. Apple is perceived to be the only hope to offer IBM a run for its money. Dealers initially welcoming IBM with open arms now fear an IBM dominated and controlled future. They are increasingly turning back to Apple as the only force that can ensure their future freedom. IBM wants it all and is aiming its guns on its last obstacle to industry control: Apple. Will Big Blue dominate the entire computer industry? The entire information age? Was George Orwell right about 1984?" Tumnagel
39.0°
0
lördag 12 juli 2014 Apple startar blogg för Swift-användare Bra där Under WWDC i år så berättade Apple om sitt nya programspråk för app-utvecklare, Swift. Med Swift vill de göra jobbet enklare för programmerare att skapa appar för iOs och OS X, och responsen de har fått hittills har varit mycket positivt. Nu har Apple lanserat en blogg tillägnad till Swift, där kommer man att dela med sig tips och tricks för att på bästa sätt kunna utnyttja programspråket. På bloggen kan man nu också hitta Xcode 6-betan för nedladdning till alla programmerare. Förutom Xcode 6 så erbjuder betan dokument och andra typer av resurser, för mer information så följ länken nedanför. Tumnagel
43.0°
0
tisdag 8 juli 2014 Apple på San Francisco Pride Parade "We believe that inclusion inspires innovation," Här får man se hur det såg ut när Apple skickade ut sina anställda på Pride-paraden i San Francisco den 29 juni. Tusentals Apple-anställda marscherade i paraden för att visa Apples orubbliga engagemang för jämställdhet och mångfald. Tumnagel
50.9°
0
torsdag 3 juli 2014 Intressant koncept för iWatch Inofficiellt så klart Klipp där någon har klippt och klistrat ihop ett iWatch-koncept baserat på några av ryktena som kretsar kring klockan. Som sagt är detta klipp ett högst inofficiellt klipp som säkert innehåller en hel del önsketänkande. Tumnagel
33.5°
0
onsdag 2 juli 2014 Nu kan du låsa fast din Mac Pro Apple släpper adapter En underlig sak med Mac Pro är att den inte har plats för ett Kensingtonlås vilket gör att man inte kan låsa fast den vid skrivbordet. Eftersom det är en rätt dyr pjäs är detta inte alltid så bra. Nu har i alla fall Apple släppt en liten adapter som man sätter på datorn så att man kan låsa fast den. 479 spänn kostar adaptern och då behöver du även ett lås. Ouch. Tumnagel
25.5°
0
tisdag 1 juli 2014 Tvåstegsverifiering till iCloud Dock inte här Apple har börjat rulla ut tvåstegsverifiering för iCloud-sidan och webbapparna där. Detta innebär att man inte kan använda dessa appar om man inte skriver in en kod som skickats till ens enhet. Dock kommer man, logiskt nog, fortfarande kunna använda "Find My iPhone" iCloud-sidan utan tvåstegsverifiering. Tyvärr får vi i Sverige inte ta del av dessa nymodigheter så, move along! Tumnagel
37.0°
0
lördag 28 juni 2014 Apple lägger ned Aperture Photo-appen tar över Under WWDC fick vi se Apples nya fotoapp, Photo. Nu har Apple gått ut med att den nya applikationen inte bara ska ersätta iphoto utan även Aperture, de kommer då att lägga ned programmet. De är dock noga med att få sagt att Logic Pro och Final Cut Pro kommer att vara kvar, så ni som använder dessa program behöver inte oroa er. Här är informationen som lämnats av Apple: “With the introduction of the new Photos app and iCloud Photo Library, enabling you to safely store all of your photos in iCloud and access them from anywhere, there will be no new development of Aperture. When Photos for OS X ships next year, users will be able to migrate their existing Aperture libraries to Photos for OS X.” Tumnagel
32.9°
0
torsdag 26 juni 2014 Apple släpper ny iPod Touch Lite billigare, lite bättre Apple uppdaterar lite tyst nu sitt iPod-sortiment genom att ta bort den billigaste iPod Touch-modellen och byta ut den till en ännu billigare modell. Den nya modellen har fortfarande 16 GB minne och är inte sämre på något sätt utan istället så har den blivit uppgraderad med en femmegapixelskamera samt alltså fått en lägre prislapp. Den nya modellen kommer dessutom att komma i alla de färger som tidigare endast de som köpt de dyrare modellerna haft att välja på. Svenskt pris vet vi dock inte än då det står ”För tillfället otillgänglig” på denna modell i den svenska butiken just nu. Det amerikanska priset är dock sänkt från 229 dollar till 199 dollar. Tumnagel
38.9°
0
tisdag 24 juni 2014 Ny MacBook Air med 12-tumsskärm från Apple? Fler skärmstorlekar åt folket Digitimes är en sajt man borde ha hört talas om om man håller koll på rykten om framtida Apple-produkter. De påstår ofta saker och ibland så har de även rätt, men långt ifrån alltid. Det senaste ryktet från deras sida är att Apple kommer att släppa en ny MacBook Air-modell med en helt ny skärmstorlek. Datorn sägs få en 12-tumsskärm vilket känns lite mysko då Apple redan har en 11,6 och 13-tumsmodell. Enligt Digitimes så kommer datorn att börja massproduceras under det tredje kvartalet för en lansering till slutet av året. De säger att datorn kommer att vara väldigt lik de andra MacBook Air-modellerna och egentligen bara vara en utökning för fler valmöjligheter. Ryktet säger även att den ska få retina-skärm. Tror ni Apple kommer att lansera en till storlek för MacBook Air och i så fall varför? Tumnagel
28.9°
0
torsdag 19 juni 2014 Nya iMac benchmarkad Och jämförd med storebror Igår så lanserade alltså Apple en ny iMac och om man tar en titt på processorn och jämför den med den lite dyrare modellen känns det som ett rejält nedköp (1,4 GHz vs. 2,7 GHz). Nu har det dykt upp lite benchmark-tester och så mycket sämre verkar det inte vara. Om man jämför de tester som gjorts när datorerna bara kör på en processorkärna så får den nya datorn ett Geekbench 3-betyg på 2820 medan datorn med 2,7 GHz-processor får 2882. När man dock nbörjar köra lite mer krävande saker som använder alla kärnor blir det större skillnad då processorn i den nya datorn endast har två kärnor medan 2,7 GHz-processorn har fyra. Då är siffrorna istället 5435 för den nya modellen och 9204 för den 2 000 kronor dyrare modellen. Tumnagel
28.8°
0
Du kan inte byta minne i nya iMac Minnet är fastlött på moderkortet Igår så presenterade Apple en ny iMac vilket blev den billigaste modellen hittills. För att få ned priset så hade den modellen sämre processor och GPU samt mindre hårddiskutrymme och man kunde heller ej uppgradera minnet från fabrik. Nu har datorn öppnats upp och undersökts på insidan och tyvärr så verkar det vara så att man ej kan uppgradera minnet i efterhand heller, detta då minnet är fastlött på moderkortet. Tumnagel
-5.1°
0
onsdag 18 juni 2014 Var kommer Apples kommandotangentikon ifrån? Sverige så klart! Susan Kare har jobbat med ikondesign för företag som Facebook och Microsoft. Men det hon kanske är mest känd för är sin tid som grafisk formgivare för Apple där hon skapade ett flertal ikoniska ikoner som nu är starkt associerade med datorn. När Steve Jobs tycket att det var dags att byta ut ikonen på kommandotangenten så började Susan leta i sina referensböcker och hittade till slut det svenska märket för sevärdheter. Detta är ingen nyhet direket men i klippet ovan (ungefär åtta minuter in) kan man höra varför Susan till slut valde att använda denna symbol för Apples datorer. Tumnagel
53.3°
0
Apple släpper ny iMac-modell Billigaste iMacen hittills Apple har precis presenterat en ny iMac med 21,5 tum stor skärm. Detta gör att det nu finns tre stycken iMac-modeller med 21,5-tumsskärm och den nya modellen är den billigaste av dessa. Den nya modellen har fått en dubbelkärning i5-processor på 1,4 GHz medan nästa steg uppåt och den tidigare billigaste modellen har en fyrkärning processor på 2,7 GHz. Processorn ska dock gå att köra på turbo-mode och då är klockhastigheten 2,7 GHz. Utöver det så har den nya modellen 8 GB RAM, 500 GB Hårddisk och Intel HD Graphics 5000. Detta får du för 10 295 kronor istället för 12 295 kronor som nästa steg uppåt kostar och som tidigare alltså var den billigaste iMac-modellen. Tumnagel
47.3°
0
tisdag 17 juni 2014 Apple ger sig i iBooks-målet Betalar det skadestånd som krävs av dem Vi har skrivit ett par gånger om att Apple har anmälts för att deras prissättning i iBooks Store inte varit helt enligt konkurrenslagarna. Efter att alla bokförlag som även de anklagades gjorde upp direkt så kämpade Apple vidare då de ansåg att deras affärsmodell var bra och korrekt. Den 14 juli så skulle det vara dags för det hela att gå upp i domstol men nu så kommer det inte att bli av. Apple har nu nämligen valt att betala ett skadestånd istället för att ta det hela till domstol, något som gör Apple 840 miljoner dollar fattigare. Tumnagel
41.2°
0
måndag 16 juni 2014 Så fungerar Handoff i OS X 10.10 och iOS 8 Verkar grymt smidigt En av de stora sakerna med iOS 8 och OS X 10.10 är att de ska jobba bättre tillsammans. En av funktionerna för att lösa detta är Handoff som kort går ut på att man sömlöst ska kunna fortsätta med det man håller på med på ena prylen på den andra prylen. I den här videon får vi se lite exempel och det verkar riktigt trevligt! Tumnagel
49.1°
0
onsdag 11 juni 2014 Apple ska anställa 1 000 reklamare Vill göra mer reklam inhouse Den amerikanska branschtidningen Ad Age säger att Apple är i full gång med att bygga upp en inhousereklambyrå som ska arbeta med att ta fram reklamkampanjer för Apples framtida produkter. Enligt Ad Age ska man redan har rekryterar en del reklamfolk som ska ha arbetat på renommerade reklambyråer och tanken är att man någon gång i framtiden ska samla upp till 1.000 personer på Apples interna reklamavdelning. Man kommer dock inte att sluta samarbete med externa reklambyråer som till exempel TBWA, reklambyrån som tagit fram många av Apples mest kända reklamkampanjer. Dock kan det bli så att TBWA, och andra externa reklambyråer, kan komma att få tävla med Apples interna byrå om uppdragen framöver. Tumnagel
40.3°
0
tisdag 10 juni 2014 En titt på OS X Yosemite Nästa version av Macs operativsystem Apple har släppt en video där man presenterar den kommande versionen av OS X lite närmare. Det handlar som bekant om version 10.10 som i folkmun kommer att gå under namnet "Yosemite". Det var under förra veckans WWDC-konferens som Apple presenterade Yosemite och det handlar om en delvis helt ny design som är lite plattare än den som återfinns i nuvarande version av OS X. Utvecklare kan redan nu ladda hem OS X Yosemite medan vi andra får vänta tills någon gång i höst. Tumnagel
42.6°
0
måndag 9 juni 2014 Jämförelse mellan ikonerna i OS X 10.9 och 10.10 Bättre eller sämre? En av de stora nyheterna med OS X 10.10 är så klart att nästan hela systemet har fått en ny look. En stor del är så klart ikonerna och klickar du dig vidare på länken nedan får ni se en jämförelse mellan nytt och gammalt. Har det blivit bättre eller sämre tycker ni? Jag gillar en hel del av ikonerna men Finder-ikonen kommer att ta ett tag att vänja sig med... Tumnagel
64.9°
0
onsdag 4 juni 2014 Liten app fixar din Mac Rensar cache och annat smått Ibland kan det hända att ens Mac börjar boota upp lite långsammare, kanske krångla lite eller bara verka använda väldigt mycket av hårddisken utan att du förstår vad som tar sådan plats. Känner du igen detta så kanske appen Yasu kan vara något? Det är en liten app som fixar lite småsaker för att få Macen att fungera lite bättre genom att rensa cache med mera. Du kan även schemalägga programmet att göra detta med jämna mellanrum. Jag ska ta en test mest för att jag tycker OS X cachar på tok för mycket saker. Tumnagel
41.8°
0
Var först med OS X Yosemite Registrera dig för Apples beta-program En ny sak som Apple presenterade här om dagen på WWDC var att man från och med denna uppdatering av OS X kommer att dra igång ett beta-program för alla som vill vara med och testa operativsystemet innan det släpps. Är du en av de som vill köra OS X Yosemite innan det är riktigt klart och släppt för alla så kan du på länken nedan registrera dig för Apples beta-program och ladda hem betan av operativsystemet så fort den släpps. Tumnagel
41.8°
0
tisdag 3 juni 2014 WWDC 2014 på 10 minuter Om du vill komprimera det hela lite Skulle du vilja kolla in gårdagens WWDC-presentation från Apple men känner att du inte riktigt har två timmar över så har The Verge klippt ihop och kortat ner hela tillställningen till tio minuter i filmen ovan. Jag skulle vilja påstå att det räcker rätt så bra för att få någorlunda full koll på vad som hände och vad som presenterades igår kväll. Har du riktigt bråttom så kan du även kolla in det hela på en minut i klippet nedan. (Tack till @pelles) Tumnagel
40.8°
0
Swift - nytt programmeringsspråk från Apple För att koda appar till iOS Under gårdagens WWDC-presentation från Apple så presenterade man under iOS-segmentet ett helt nytt programmeringsspråk för att ta fram appar till iOS som man kallar för Swift. Enligt Apples så ska Swift vara förhållandevis mycket snabbare än Objective C och grymt mycket snabbare än Python. Apples Craig Federighi höll i presentationen och han öppnade Swift-presentationen med: "We’ve used Objective-C for 20 years, and we love it. But we wondered what we could do without the baggage of C." Språket ska även vara bakåtkompatibelt med tidigare utvecklade appar i Cocoa samt Cocoa Touch vilket gör att man inte ska behöva skriva om sina nuvarande appar i Swift för att de ska vara kompatibla med kommande iOS-versioner. Utvecklare har möjlighet att börja koda och ladda upp appar skrivna i Swift redan idag och det finns en gratis eBok om Swift-utveckling att ladda ner från App Store här. Nedan är en skärmdump från utvecklingsmiljön o Swift. Tumnagel
46.8°
0
måndag 2 juni 2014 Spana in Apples presentation från WWDC 2014 Favorit i repris? Tidigare i dag så höll Apple sin stora utvecklarkonferens WWDC 2014 i Moscone Center i San Francisco. Missade man den presentationen och vill se den i sin helhet så kan man numera göra det via länken nedan. Presentationen bjöd på en hel del mjukvarunyheter för både iOS och Mac OS X men även på Apples plattform för ett smartare hem, HomeKit, samt ett nytt programmeringsspråk som heter Swift. Tumnagel
39.0°
0
Tätare koppling mellan iOS och OS X Svara i telefonen direkt från datorn En av nyheterna från dagens keynote från WWDC var att man kommer att få en bättre koppling mellan telefonen och dator. Om man öppnar en länk i Safari på sin dator så kommer man automatiskt få en liten ikon på sin iPad som man kan klicka på för att fortsätta där man var på datorn. Det är dock bara en liten sak, de största nyheterna har med Macens koppling till telefonen att göra. Som det är just nu så har OS X en app vid namn meddelanden där alla iMessage samlas så att man kan ”sms:a” anda iPhones direkt från sin dator. Har man dock polare som inte använder iPhone så kommer deras sms inte att dyka upp tråkigt nog, tills nu dvs. Nu så komemr telefonen att skicka vidare dessa till din dator så att du kan ha en konversation även med icke iOS-enheter direkt från din dator. Häftigast är dock att samma teknik fungerar för telefonsamtal, om någon ringer din telefon så kan telefonen skicka vidare detta till din dator så att du kan svara och prata utan att ta upp din telefon. Tumnagel
69.1°
0
OS X Yosemite Nästa version av Macs operativsystem Apple presenterade precis nästa version av sitt operativsystem OS X på den pågående WWDC-konferensen i San Francisco och precis som det ryktats om tidigare så blir namnet OS X Yosemite. Den andra versionen av operativsystemet som fått sitt namn efter en plats i Kalifornien efter det att Apple helt dumpat att namnge versionerna efter kattdjur. Under presentationen av Yosemite så nämnde Apples Craig Federighi att man lagt ner mycket tid på att förbättra gränssnittet och precis som det spekulerats om tidigare blir det nya gränsnittet plattare och mer likt det som återfinns i den senaste iOS-versionen. Man visade även upp lite bilder på det nya gränssnittet och det är verkligen platt och det är väldigt svårt att hitta spår av några skuggningar eller 3D-effekter. När det kom till appar så är spotlight-appen helt ombyggd och den verkar vara ett mycket trevligt tillskott i Yosemite. Man har även ett notifieringscenter som i stort sett ser exakt likadant ut som det i iOS 7. Vidare har både Safari och Mail fått nya gränssnitt samt lite nya funktioner. En annan mycket välkommen nyhet är att Airdrop nu kommer att fungera mellan iOS och OS X vilket gör att man enkelt kan skicka filer mellan Mac och iOS-enheter. Det kommer även att finnas en koppling mellan en användares iPhone och Mac som gör att man kan ta emot och skicka SMS samt att använda datorn som telefon. Den kallas för Handoff och vi kommer att skriva en separat artikel om detta strax. OS X Yosemite kommer att vara tillgängligt för de 6.000 besökarna på WWDC idag medan vi andra kommer att få vänta tills någon gång i höst. En glad nyhet är att Yosemite kommer att bli gratis. Vi hoppas återkomma lite närmare med video på det nya gränssnittet och apparna lite senare. Tumnagel
52.6°
0
Apple WWDC 2014 Följ kvällen här Klockan 19:00 svensk tid drar Apple igång sin stora utvecklarkonferens WWDC 2014 i Moscone Center i San Francisco. Vill ni kolla in det live så hoppa vidare på länken (fungerar bara i vissa webbläsare, datorer, tablets samt telefoner) nedan eller kolla in eventet på er Apple TV under kanalen "Apple Events". Vi kommer under kvällens gång rapportera om nyheterna från WWDC här på Feber.se och här nedan kan ni chatta före, under och efter eventet. Ni hittar chatten under "Läs mer". 19:10 OS X Yosemite - Nästa version av Macs operativsystem 19:42 Apple presenterar iOS 8 - Ny version av operativsystemet till iPhone och iPad 19:49 Tätare koppling mellan iOS och OS X - Svara i telefonen direkt från datorn 20:09 Apple släpper HealthKit - Hälsoapp 20:17 Apple uppdaterar bild-appen - Och visar vad som kommer till OS X nästa år 20:37 Siri får stöd för Shazam - Inte Captain Marvel alltså 20:43 iOS 8 kan ha tangentbord från tredje part - Gott 22:42 Spana in Apples presentation från WWDC 2014 - Favorit i repris? Tumnagel
37.9°
0
Nu är det snart dags för WWDC14 Apples utvecklarkonferens kickar igång snart Klockan 19:00 kickar Apple igång WWDC14 på Moscone Center i San Francisco och där har man sagt att man ska presentera en hel del spännande saker, som vanligt oklart vad. Vill ni se det live så kan ni streama det via en Apple TV generation 2 samt 3 på kanalen "Apple Events", eller via webben på den här länken om ni kör Safari 4 på OS X 10.6 (Mac) eller senare samt Safari på iOS 4 (iPhone/iPad/iPod Touch) eller senare. Skulle ni inte ha möjlighet att kolla det live så kommer vi att försöka täcka in det så bra så möjligt och även köra någon slags chatt. Något särskilt du ser fram emot eller önskar att Apple presenterar under kvällen? Kommentarerna står till ert förfogande Tumnagel
43.3°
0
söndag 1 juni 2014 Rykte Namnet på Apples nya OS X ryktas vara Yosemite Den kända Nationalparken Nästa vecka är det dags för Apples stora världskonferens och det ryktas att Macs operativsystem kommer att få sig en rejäl uppdatering samt att det kommer att få sig ett Kalifornia-inspirerat namn, nämligen Yosemite. Fortsätter man i samma anda som man gjort hittills, som när man döpte OS X 10.9 till Mavericks (som är ett känt surfställe i den soliga staten) så tror man att nästa namn blir Yosemite efter att ha analyserat den nya banner som har synts i San Fransisco. I den andra bilden ovanför kan ni se vad som startat ryktena. Tumnagel
44.1°
0
fredag 30 maj 2014 Lär dig använda en mus Så här såg det ut 1984 En gång i tiden så var datormusen något helt nytt och då behövde man förstås lära ut hur man använder en mus för hur ska man utan en grundläggande kurs förstå hur man klickar på saker? I Videon ovan kan vi se den grundkurs som Apple hade när de skeppade ut Macintosh 128K 1984. I videon ser ni först lite allmänt om hur man kopplar in sin Mac men från två minuter in så kan ni se hur man lärde sig att använda en mus för 30 år sedan. Tumnagel
45.7°
0
torsdag 29 maj 2014 Bekräftat Apple köper Beats Audio för 3 miljarder dollar Jimmy Iovine och Dr.Dre börjar jobba åt Apple Efter ryktena står det nu klart att Apple köper Beats Music och Beats Electronics. Köpesumman landade på 2.6 miljarder dollar, och resterande 400 miljoner dollar är pengar som kommer att investeras över tiden. Detta innebär att Jimmy Iovine och Dr.Dre nu börjar jobba åt Apple. Tim Cook säger följande: "Music is such an important part of all of our lives and holds a special place within our hearts at Apple. That’s why we have kept investing in music and are bringing together these extraordinary teams so we can continue to create the most innovative music products and services in the world." Jimmy Iovine: "I’ve always known in my heart that Beats belonged with Apple. The idea when we started the company was inspired by Apple’s unmatched ability to marry culture and technology. Apple’s deep commitment to music fans, artists, songwriters and the music industry is something special." Apples pressmeddelande finns att läsa på länken nedan. Tumnagel
20.9°
0
onsdag 28 maj 2014 Apple direktsänder sin WWDC-keynote Där ser man Apple tillkännagav nyligen att man kommer direktsända sitt inledningstal för nästa veckas WWDC-konferens via en videoström. Så om man nu verkligen vill se alla mjukvarunyheter direkt när de görs så kan man klistra sig bakom datorn klockan 19:00 den 2:a juni. Lökigt nog så kan dock strömmen endast ses med OS X Safari, iOS Safari, QuickTime 7 för Windows eller en Apple TV. Tumnagel
51.2°
0
måndag 26 maj 2014 Skillnaden mellan Mac och PC Computerphile förklarar läget Här har vi ett relativt nytt klipp från Computerphile där Professor Tom Rodden pratar om vad skillnaderna mellan Mac och PC (Windows/Linux) är. Tumnagel
46.5°
0
torsdag 22 maj 2014 Apple förlänger sitt avtal med Liquidmetal Technologies Men när får vi se en produkt använda tekniken? Apple betalade år 2010 en hög med pengar till ett företag vid namn Liquidmetal Technologies för att de skulle få ensamrätt på att använda denna teknik. Hittills så har vi inte sett någon produkt från Apple som använder sig av flytande metall och i februari i år så gick deras avtal med Liquidmetal Technologies ut. Nu står det dock klart att Apple har valt att förlänga avtalet tills samma tid nästa år. Frågan är om Apple kommer att använda tekniken på en större skala inom kort eller om det bara är en satsning för framtiden. Just nu används tekniken för små knappar och andra småprylar. Tumnagel
40.2°
0
Få iOS-notifieringar på datorn Ganska praktiskt Ibland sitter man vid datorn och funderar om man har fått några viktiga notiser i telefonen men ofta är man helt enkelt för lat för att leta upp telefonen just då. Men nu kan man stilla denna nyfikenhet med Notifyr vilket är en app som ser till att iOS-notiser även dyker upp på datorn. Tyvärr kan man enbart läsa notiserna så om man vill svara på något meddelande eller liknande får man se till att leta upp telefonen. Tjänsten använder sig av Bluetooth Low Energy så det gäller att man har en någorlunda ny Mac samt iPhone 4S eller högre om man vill använda sig av detta. Appen kostar 29 kronor och kan hittas i App Store. Den tillhörande Mac-appen är dock gratis och kan hittas via länken nedan. Tumnagel
40.9°
0
måndag 19 maj 2014 Klassiska Apple-skyltar säljs på auktion Inte helt billigt tyvärr Är du sugen på lite gammal Apple-memorabilia kommer auktionshuset Bonhams att auktionera ut den klassiska Apple-skylten där Apple-loggan har sina välbekanta regnbågsfärger. Skylten ska tidigare ha suttit på väggen på Apples huvudkontor i Cupertino och man tror att slutpriset kommer att landa på 10.000 - 15.000 dollar. Tumnagel
33.5°
0
fredag 16 maj 2014 Apple uppdaterar iTunes till version 11.2 Förbättrar podcast-delen Apple uppdaterade precis iTunes till version 11.2 och det med ett par mindre nyheter. Bland annat så har de uppdaterat en del som handlar om podcasts och hur dessa presenteras i programmet. Vi får bland annat en ny tab som heter ”unplayed” samt att man kan spara ned favoritepisoder till datorn med mera. De har även fixat en bug som gjort att programmet ibland slutar svara när man uppdaterat Genius-funktionen. Helt enkelt en trevlig uppdatering för alla som gillar podcasts. Tumnagel
38.8°
0
tisdag 13 maj 2014 Nu finns Feedly som Mac-app Men bli inte så lycklig över det När Google la ner Reader gick man över till Feedly, så här i efterhand klagar jag inte över det men det gjorde att en del RSS-appar slutade fungera. Framförallt saknar jag Reeder på Mac så när jag fick höra att Feedly släppt Mac-app blev jag lycklig. Men appen är i princip bara en inramning av vanliga webbsidan. Den stora poängen med att ha RSS som en separat app är att det inte smutsar ner Chrome så mycket, men alla länkar från Feedly-appen öppnas i Chrome. Om du däremot inte tycker att det är ett problem och gillar Feedly tycker jag ändå att du ska prova - det är ju ändå gratis! Tumnagel
36.6°
0
fredag 9 maj 2014 Rykte Apple köper Beats? *uppdaterat* Största köpet någonsin för Apple Flera källor, bland dem Financial Times, Bloombergs samt Wall Street Journal, uppger idag att Apple inom kort antagligen kommer att köpa upp företaget Beats, ett företag som här i Sverige antagligen är mest känt för sina hörlurar. I köpet skulle både Beats hårdvarutillverkning, som idag består av hörlurar och högtalare, samt iTunes-konkurrenten, musiksstreaming-tjänsten, Beats Music ingå. Enligt Financial Times kommer Apple betala 3,2 miljarder dollar, motsvarande nästan 21 miljarder svenska kronor, för Beats vilket i så fall skulle göra det till det största uppköpet Apple någonsin har gjort. Beats startade 2008 av musikmogulen Jimmy Lovine och rapparen Dr Dre. Till en börjar så licenstillverkade Monster hörlurar åt Beats men efter hand startade man upp sin egen tillverkning av både hörlurar samt högtalare och i början av det här året kickade man igång sin musiktjänst Beats Music. Uppdaterat I en video på Facebook uppger R&B-artisten Tyrese Gibson att han och Dr Dre festar till det samma natt som det blev klart att Apple skulle köpa Beats. Det får dock påpekas att varken Apple eller Beats har bekräftat att affären är i hamn. Men visst verkar det så. Uppdaterat 2 Gibsons film verkar nu vara bortplockad från Facebook men inte helt oväntat finns den redan på YouTube och ni kan kolla in klippet nedan. Tumnagel
23.3°
0
söndag 4 maj 2014 Apple förvärvar LuxVue Snacket går om en iWatch Apple har förvärvat LuxVue, ett företag som utvecklar micro-LED bildskärmar. Förvärvningen har skapat uppmärksamhet, då Tim Cook i flera månader har hintat om en ny kategori av produkter som skall komma. Kan det vara så att detta är första steget mot en iWatch? Hur kommer det sig att man kopplar LuxVue med iWatch? Det är nämligen så att för flera månader sen hölls det en presentation, under Techcrunch Disrupt, där John Doerr sa att LuxVue skulle passa perfekt om man ville göra en klocka. Det här var hans exakta ord: ”Instead of having a bright white light and then filtering away the colors you donx27t want, at every pixel, it puts down two red, two green, two blue directly emissive LEDs. This will deliver nine times better brightness… with lower battery requirements. If somebody was gonna make a really great watch, you might want to use it there” Så vad tror ni, är detta äntligen en början på iWatch? Tumnagel
44.1°
0
fredag 2 maj 2014 OS X 10.10 blir den största uppdateringen sedan lansering Visas upp på WWDC nästa månad Mark Gurman är en av skribenterna på 9to5Mac och han brukar ha ganska bra koll på när det gäller att få fram information om vad som komma skall. Enligt honom så kommer nästa WWDC som går av stapeln den 2 juni fokusera på OS X istället för som de senaste åren iOS. Han menar även att OS X kommer att få se den största förändringen sedan operativsystemet lanserades. utseendemässigt så kommer det gå mer åt hur iOS ser ut idag vilket bland annat innebär renare gränssnitt med skarpare kanter istället för det lite mer ”mjukare” gränssnitt vi har idag. Lite andra saker vi kan förvänta oss på WWDC är information om iOS 8 samt kanske även ett nytt gränssnitt för Apple TV. Tumnagel
61.3°
0
tisdag 29 april 2014 MacBook Air uppdateras Och blir billigare Den senaste uppdateringen av Macbook Air skedde den 10 juni förra året men nu är det dags igen. Den uppdatering som nu sker är förstås snabbare processorer men de sänker även priset på samtliga modeller. Standardmodellerna för både 11 och 13-tummaren får nu en 1,4 GHz dubbelkärning Haswell i5-processor och om man vill så kan man uppgradera datorerna till en 1,8 GHz Haswell i7-processor. Priset för de fyra grundmodellerna är som sagt även sänkt och du kan se de nya priserna i bilden högst upp. De nya priserna är mellan 500 - 700 kronor billigare än vad föregående modeller kostade. Tumnagel
56.6°
0
måndag 28 april 2014 Så får du testa betor av OS X Behöver inte vara utvecklare längre Tidigare har man varit tvungen att vara utvecklare för att få testa betor av nya versioner av OS X, men nu har Apple släppt på detta så att vem som helst kan testa loss. Det hela är inte så krångligt, se bara till att ha en bra backup, men om du vill ha en guide för hur du gör är det bara att glo på videon ovan. Tumnagel
38.4°
0
onsdag 23 april 2014 iPhone upp, iPad ner, Mac typ lika, iPod no more Apple har presenterat kvartalets resultat Nu har en av jättarna i branschen - Apple - presenterat sitt resultat och det är lite blandat faktiskt. Både omsättningen och vinsten ökar, man sålde för 2 miljarder dollar mer och ökade vinsten med 700 miljoner dollar. Vinsten hamnade på 10.2 miljarder dollar - nästan 80 000 dollar i minuten. Sjukt. iPhoneförsäljningen går fortsatt bra även om ökningen inte längre är galen. Man ökade med 17% till 43.7 miljoner sålda telefoner men samtidigt så minskade iPadförsäljningen till 16.4 miljoner, en minskning med drygt 3 miljoner enheter mot förra året. Macförsäljningen går fortsatt bra, drygt 4 miljoner maskiner sålde man. iPod däremot dalar rejält, både mot förra kvartalet och förra året är minskningen över 50% vilket kanske inte är så konstigt. Apple gör fortfarande en helt galen vinst, men försäljningen av iPads går segt och iPhoneförsäljningen skulle nog behöva öka ytterligare lite. Tumnagel
39.3°
0
Betatesta OS X Beta für alle Apple har nu öppnat upp sitt betaprogram för OS X så alla som vill kan prova operativsystemets kommande funktioner innan de släpps på riktigt. Tidigare var man tvungen att ha ett utvecklarkonto som kostade 100 dollar om året för att gå tillgång till betan. Från och med OS X 10.9.3 kan man börja ge sig på betaversionerna, om man nu godkänner Apples villkor då så klart. Tumnagel
44.2°
0
tisdag 22 april 2014 Apple släpper miljösajt För att visa vad de gör för miljön Apple har tidigare fått motta en hel del kritik då Greenpeace och andra ansett att Apples produkter och deras produktionsanläggningar inte alltid varit helt snälla mot miljön. Detta är något som Apple har arbetat konstant med att förbättra de senaste åren och på senare tid har de rankats allt bättre i miljöhänseende jämfört med sina konkurrenter. Nu släpper Apple en liten kampanjsajt med en tillhörande video där man förklarar hur man har tänkt när det gäller sitt miljöarbete och att de vill lämna världen i bättre skick än vad den var när man först började med sina produkter. Man kallar videon för "Better" (ni kan se den nedan) och säger följande om den: "Better can’t be better if it doesn’t consider everything: our products, our values and an even stronger commitment to the environment for the future, to use greener materials, less packaging, to do everything we can to keep our products out of landfills. Changes that will benefit people as well as the planet…To us, ‘Better’ is a force of nature." Tumnagel
55.1°
0
söndag 20 april 2014 Strömma vilken film som helst till AppleTV Från din Mac Beamer är en lösning för Mac där man kan strömma massor av filmformat till sin AppleTV. Visst går det lite bättre att göra detta direkt i OS X 10.9 men lösningen är inte optimal eftersom man strömmar allt ljud från datorn till exempel. Nu har Beamer kommit i version 2 och man har gjort om gränssnittet, förbättrat stödet för undertexter och framförallt så har man numera spellistor. Enda nackdelen är att det kostar 125 spänn, men det är i alla fall gratis att prova. Tumnagel
50.2°
0
tisdag 15 april 2014 Apple-uniformer genom åren Vad har Apple Store-anställda haft på sig de senaste 8 åren? Sugen på att ta en titt på hur Apples uniformer för deras butiksanställda har sett ut de senaste åtta åren? I så fall så har du tur idag då Uni Watch har ett gästinlägg skrivet av en anonym Apple-anställd som lagt upp bilder på alla de olika tröjor de haft under årens lopp. Tumnagel
29.6°
0
fredag 11 april 2014 Rädda din MacBook-laddare Juiceboxx vill hjälpa till Apple är bra på att bygga saker av hög kvalitet, exempelvis deras MacBook Pro. Men de är lika bra på att bygga saker som går sönder om och om igen om man pratar om tillbehör som exempelvis alla deras sladdar av olika slag. Är du en av de personer vars MacBook-laddare ständigt går sönder då den fraktas hit och dit hela tiden? Då kanske du ska slänga in 30 dollar i detta kickstarterprojekt för att i november få en liten skyddspryl skickad till dig. Juiceboxx är en plastbit då monterar på din laddare för att låta sladden få bättre stöd när du ska snurra den kring laddaren. Detta gör att man slipper en skarp vinkel på kabeln och förhoppningsvis går den då ej sönder. Projektet har 19 dagar kvar och har några tusenlappar kvar för att bli verklighet. Tumnagel
35.3°
0
onsdag 9 april 2014 Styr din Apple TV med en vanlig fjärrkontroll Smart litet knep som ni kanske har missat Idag fick jag lära mig något nytt och det är dessutom kunskap som jag ska utnyttja så fort jag kommer hem. Jag tyckte det var en så smart sak så jag tänkte dela med mig av det hela med er om någon annan har missat detta. Om ni äger en Apple TV och är som de flesta av oss på redaktionen så händer det till och från att ni inte hittar den där pyttelilla fjärrkontrollen. visst kan man då dra upp sin telefon och styra sin Apple TV via den men det finns även ett annat sätt för den som gillar att inte ha så många fjärrkontroller. Genom att gå in i settings, sedan allmänt och fjärrkontroller så kan man där välja att programmera Apple TV:n att ta emot signaler från en annan fjärrkontroll, säg en multifjärr. Själv så har jag en fjärrkontroll till min förstärkare som även styr min TV och jag vet att jag har ett outnyttjat läge på den som nu kommer att programmerar för att styra Apple TV:n om man inte orkar leta på den lilla silverkontrollen. Vill du veta mer exakt hur du fixar detta så har Apple en enkel guide på sin hemsida som du hittar på länken här nedan. Tumnagel
54.0°
0
Böjbara kretskort till iWatch? Kan vi få se en kurvad klocka? Nu kommer lite fler rykten kring den omryktade Apple iWatch, det vill säga Apples smarta klocka. Enligt flera källor så är det september som gäller för lansering och då kan man även gissa att den lanserar tillsammans med nästa generations iPhone som brukar lanseras i just september. De senaste ryktena lyder att Apple fått tester på böjbara kretskort från ett par av sina vanliga leverantörer så vi kan nog förvänta oss att iWatch ej blir helt platt om detta stämmer. Ett annat rykte är att de fått test-exemplar av gummiband i olika färger, jag hoppas bara att de även fixar ett metallband. Tumnagel
45.7°
0
tisdag 8 april 2014 UV-sensor i iWatch? Låt klockan hålla koll på solen Vi har tidigare sett rykten som visar att nästa iPhone och iOS-version kanske kommer att få en app kallad Healthbook som ska hålla koll på all möjlig data om ditt leverne. Den stora frågan är hur appen ska få tillgång till all fakta och visst kan detta vara med hjälp av tredjepartsprylar men kanske kan det även finns en hel hög sensorer inbyggda i den kommande iWatch eller varför inte i nästa generation av hörlurar. Enligt det senaste ryktet så finns det en möjlighet att Apple kanske har gjort en deal med Silicon Labs som nyligen lanserade marknadens första digitala UV-sensor för att bygga in denna i just iWatch. Det skulle innebära att man kan hålla lite koll på hur farlig solen man vistas i är med hjälp av klockan. Tumnagel
39.3°
0
torsdag 3 april 2014 Dyr Thunderbolt-docka till MacBook För den som vill ha en lite smidigare arbetsstation Om du är som jag så åker din MacBook med fram och tillbaka till olika ställen men har även en (eller kanske två) fast punkt där du har en skärm, tangentbord, mus och annat som kan vara trevligt att ha då och då. När man kommer till sin fasta lilla arbetsstation så är det bara att koppla in sin dator och vips så har man en skönare arbetsyta än att arbeta direkt på den bärbara. Dock så krävs det ofta att man kopplar in ett helt gäng med kablar, kanske hela fem stycken och det kan ju vara lite för jobbigt så därför har vi en produkt som denna. Detta är Elgato Thunderbolt dock, en liten låda där du kopplar in alla dina prylar så att du endast behöver koppla in en kabel från denna docka till din dator. Ja, sen behövs förstås även en elkabel till datorn så två kablar blir det ändå, men du slipper koppla in en till tre fler kablar vilket är skönt. Sugen? 1 990 kronor och den är din! Tumnagel
36.8°
0
Nästa sida + Per månad 39 kr Betala löpande per månad. Ingen bindningstid. Starta prenumeration Per år 299 kr Enklast och billigast, bara 25 kronor i månaden. Betala löpande per år. Ingen bindningstid. Prova 14 dagar gratis innan du bestämmer dig. Starta gratis provperiod Engångsköp 349 kr Slipp återkommande betalningar, betala ett år i taget. Betala med kort eller Swish. Köp utan prenumeration