Teknik Motor Samhälle Spel Popkultur Fritid Tjock Tester Dagens fråga Tipsa! Skaffa Feber+ Mitt konto
Hetaste
Senaste
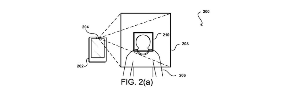
Amazon vill använda ansiktsigenkänning istället för lösenord Enligt ett nytt patent Amazon vill använda ansiktsigenkänning istället för lösenord I framtiden kanske du kan använda selfiekameran på din telefon för att handla via Amazon. Företaget har nämligen lämnat in en patentansökan där de beskriver hur ansiktsigenkänning ska kunna användas på mobiltelefoner och surfplattor som identifiering istället för lösenord. Fördelen med att använda ansiktsigenkänning är att det blir svårare för andra att komma åt och handla med ditt konto men det gäller också att tekniken fungerar ordentligt i de flesta ljusförhållandena, eller kan kombineras med lösenord, för att det inte istället ska skapa frustration för användarna. I patentet kan man också se att Amazon vill att användarna ska göra en speciell grimas eller ha ett speciellt ansiktsuttryck för att komma åt kontot så att ingen ska kunna använda en stillbild på en person för att få tillgång. Om Amazon kommer att göra verklighet av sin patentidé återstår att se. diyphotography.net Mobil, Tjänster, Amazon, ehandel, ansiktsigenkänning, lösenord Bild till bildspel Bild till bildspel Bild till artikel Bild till artikel
29.8° 0 Emmy Zettergren Emmy Zettergren
tors. 17 mar 2016, 21:15
+ Per månad 39 kr Betala löpande per månad. Ingen bindningstid. Starta prenumeration Per år 299 kr Enklast och billigast, bara 25 kronor i månaden. Betala löpande per år. Ingen bindningstid. Prova 14 dagar gratis innan du bestämmer dig. Starta gratis provperiod Engångsköp 349 kr Slipp återkommande betalningar, betala ett år i taget. Betala med kort eller Swish. Köp utan prenumeration