Teknik Motor Samhälle Spel Popkultur Fritid Tjock Tester Dagens fråga Tipsa! Skaffa Feber+ Mitt konto
Hetaste
Senaste
Nya rykten kring Microsofts smarta klocka Mer hälsa än IT Nya rykten kring Microsofts smarta klocka Vi har tidigare skrivit om att även Microsoft har en smart klocka på gång. I dag dök det upp lite nya rykten om denna och det ryktet påstår att det är mer ett hälsoarmband (typ Samsung Gear Fit) än en renodlad smart klocka. Dock kommer detta hälsoarmband kunna leverera meddelanden från telefonen och fungera med Android, iOS samt Windows Phone.
From a differentiation standpoint, Microsoft's wearable will do something that no other wearable platform does. It will work with everything and not just the device maker's smart phone platform. Where Samsung wearables only work with Samsung phones, Android Wear devices only work with modern Android devices, and Apple's rumored iWatch will obviously only work with iPhone, Microsoft will take a different approach. It will work with Android, iPhone and Windows Phone.
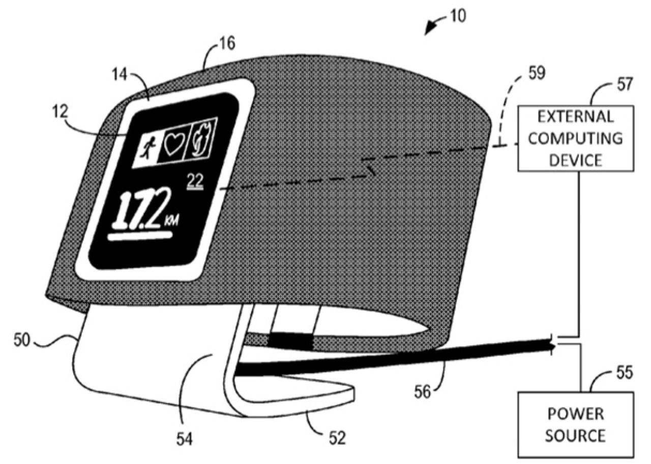
Man har även hittat bilder på vad som kan vara denna pryl bland Microsofts patentansökningar.
winsupersite.com Mobil, Microsoft, Smart Klocka
41.7° 0 Frode Wikesjö Frode Wikesjö
tors. 3 jul 2014, 09:23
+ Per månad 39 kr Betala löpande per månad. Ingen bindningstid. Starta prenumeration Per år 299 kr Enklast och billigast, bara 25 kronor i månaden. Betala löpande per år. Ingen bindningstid. Prova 14 dagar gratis innan du bestämmer dig. Starta gratis provperiod Engångsköp 349 kr Slipp återkommande betalningar, betala ett år i taget. Betala med kort eller Swish. Köp utan prenumeration