Teknik Motor Samhälle Spel Popkultur Fritid Tjock Tester Dagens fråga Tipsa! Skaffa Feber+ Mitt konto
Hetaste
Senaste
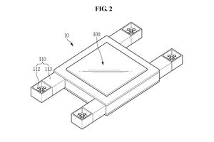
Samsung får patent på skärm som omsluter hela mobilen Skärm fram, bak och på kanterna Samsung får patent på skärm som omsluter hela mobilen Foto: Samsung / Let's go digital Skärmar och kameror är snart det enda som går att experimentera med när det gäller mobiltelefoner efter det att de allt sedan iPhone introducerades har blivit allt mer lika varandra utseendemässigt. Samsung är experter på när det gäller att experimentera och nu har företaget beviljats patent på en skärm som omsluter hela mobilen. Det handlar med andra ord om något som skulle se ut som två mobiler med kurvad skärm som man limmat ihop med skärmarna utåt. I patentet nämner Samsungs att mobiltelefoner som dessa till exempel skulle kunna användas för översättningar där användaren skriver eller talar in i telefonens "framsida" och det översatta resultatet visas på skärmen på telefonens "baksida". Vidare säger man att skärmen skulle kunna användas när man tar porträtt på någon så att denna i realtid kan se hur den ser ut när fotografiet tas.Med en skärm som denna skulle man även helt kunna skippa mobilens frontkamera då det skulle gå lika bra att ta selfies, videochatta och annat med huvudkameran på "baksidan" av telefonen. Skärmen på mobilens överkant skulle även kunna användas för att visa meddelanden som synes på bilden här nedanför. Då skulle man inte behöva ta upp mobilen ur bröstfickan när det plingar till, dock med risk för att man skulle drabbas av nackspärr om man får väldigt mycket meddelanden.Som alltid när det gäller patent kan det ta länge, ofta händer det inte ens, innan produkter som utnyttjar tekniken släpps till konsument. Samsung har dock sällan varit rädda för att testa nya grejer så något sådant här kommer de säkert att visa upp om något år eller två. nl.letsgodigital.org Mobil, Samsung, patent, skärmar Via engadget.com Bild till artikel Samsung ska presentera en vikbar telefon i år Få ner en tablet i fickan Tumnagel 46.9° 0 Samsung tar patent på en flygande skärm Som man kan styra med ögonen Tumnagel 37.7° 0 Samsung söker patent för att läsa av handflator med mobilen Ska hjälpa till när man glömt av sitt lösenord Tumnagel 40.2° 0 35.2° 0 Wille Wilhelmsson Wille Wilhelmsson
mån. 29 apr 2019, 17:30
+ Per månad 39 kr Betala löpande per månad. Ingen bindningstid. Starta prenumeration Per år 299 kr Enklast och billigast, bara 25 kronor i månaden. Betala löpande per år. Ingen bindningstid. Prova 14 dagar gratis innan du bestämmer dig. Starta gratis provperiod Engångsköp 349 kr Slipp återkommande betalningar, betala ett år i taget. Betala med kort eller Swish. Köp utan prenumeration