Teknik Motor Samhälle Spel Popkultur Fritid Tjock Tester Dagens fråga Tipsa! Skaffa Feber+ Mitt konto
Hetaste
Senaste
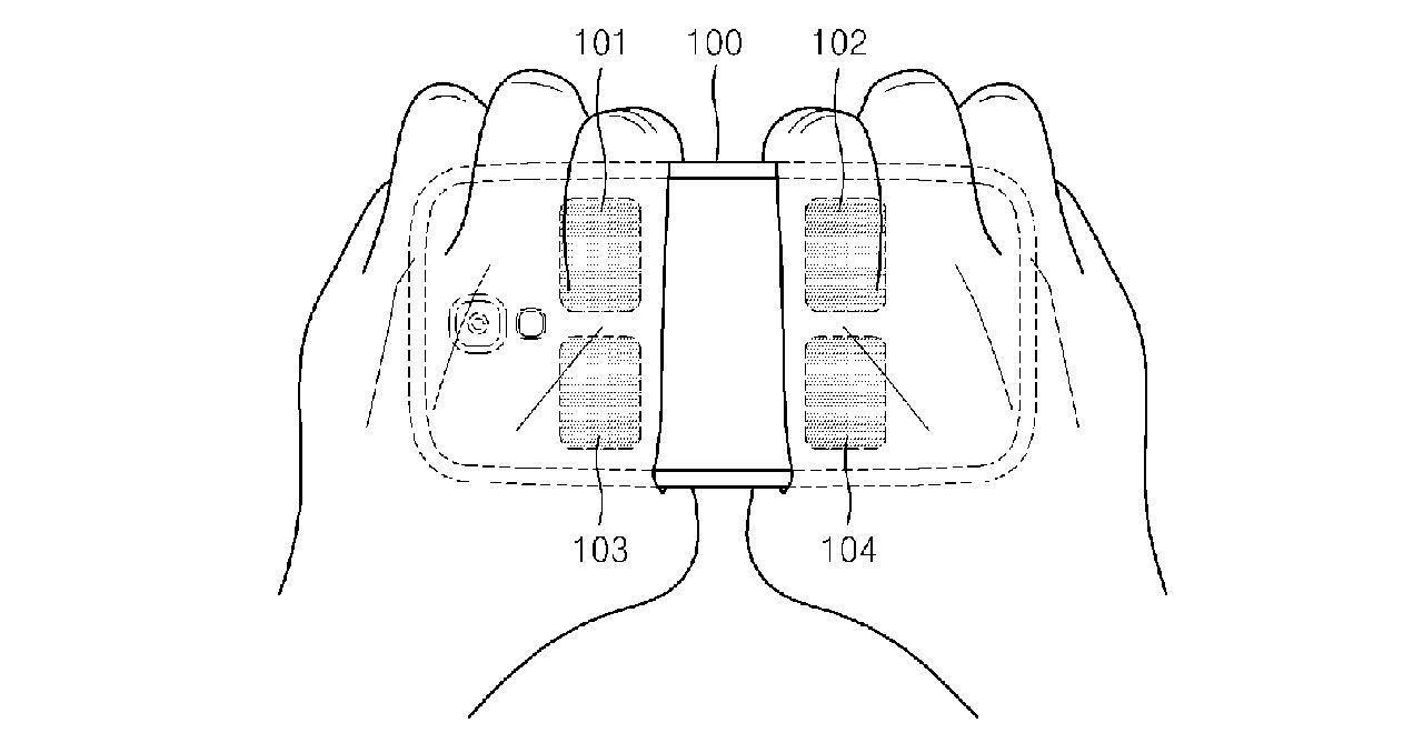
Samsung vill veta hur mycket kroppsfett du har Med hjälp av sensorer Samsung vill veta hur mycket kroppsfett du har Samsung har sedan Galaxy S5 satsat rätt hårt på användarens hälsa i form av appen S Health och pulsmätare på telefonens baksida. Nu verkar det som att företaget vill ta hälsomätningen ett steg längre med sensorer på telefonen som kan läsa hur mycket kroppsfett du har. Den koreanska teknikjätten har nämligen skickat in patentansökan om just sådana sensorer som ska sitta på telefonens baksida, eller på ett separat skal. Sensorerna kan då med hjälp av elektrisk impedans mäta dina kroppsfettnivåer. Vi får se hur lång tid det tar innan Samsung sätter dessa sensorer på framtida mobiltelefoner. Troligtvis kommer det dröja något år innan vi får mäta kroppsfett med sensorerna. patentscope.wipo.int Mobil, Samsung, kroppsfett, sensorer, s health Via Engadget
42.7° 0 André Stray André Stray
tis. 14 jul 2015, 18:00
+ Per månad 39 kr Betala löpande per månad. Ingen bindningstid. Starta prenumeration Per år 299 kr Enklast och billigast, bara 25 kronor i månaden. Betala löpande per år. Ingen bindningstid. Prova 14 dagar gratis innan du bestämmer dig. Starta gratis provperiod Engångsköp 349 kr Slipp återkommande betalningar, betala ett år i taget. Betala med kort eller Swish. Köp utan prenumeration