Teknik Motor Samhälle Spel Popkultur Fritid Tjock Tester Dagens fråga Tipsa! Skaffa Feber+
Hetaste
Senaste
Alla Heta Kalla Öppna i ny flik tisdag 30 juli 2013 fortsättning iOS 7 Beta 4 släppt Med lite småuppdateringar Apple släppte igår beta 4-versionen av sitt kommande mobila operativ-system iOS 7 till alla de som har utvecklar-licens för iOS. Det verkar ha skett en hel del uppdateringar sedan beta 3-versionen av iOS 7 och bland annat så har låskärmen, en del ikoner, SIRI, Mail samt notifikationer blivit något uppdaterade. iOS-utvecklare ska kunna hämta hem och kunna installera iOS 7 beta 4 antingen via Apples utvecklar-sidor eller direkt over the air (OTA). Vi andra får vänta tills någon gång i höst när den klara versionen av iOS 7 släpps. Tumnagel
43.1°
0
måndag 29 juli 2013 Treasure Tag - bluetooth-tillbehör från Nokia Kan användas som stöldlarm och annat Nokia kommer snart att släppa ett tillbehör till sina Lumia-telefoner som drar nytta av Bluetooth 4.0 och tanken är att man ska fästa det så kallade "Treasure Tag"-tillbehöret på väskor eller annat och skulle tillbehöret avlägsna sig för långt ifrån telefonen så går ett larm igång. Det ska även att vara möjligt att trycka på en knapp på Treasure Tag som gör att telefonen börjar larma, något som kan vara bra att ha om man har förlagt sin telefon någonstans. Enligt Nokia kommer Treasure Tag vara försedd med ett batteri som ska räcka upp till ett halvår. Treasure Tag kommer att presenteras inom några veckor i samband med att Nokia börjar rulla ut en Windows Phone-uppdatering för sina Lumia-telefoner som bland annat kommer att innebära stöd för Bluetooth 4.0. Tumnagel
48.9°
0
Rykte iPhone 5C på gång? C står för "colour"? Det har sedan ett tag tillbaka florerat rykten om att Apple kommer att släppa en billigare version av iPhone som eventuellt ska komma i andra färger än bara svart eller vitt. Det ryktet får nu än mer vatten på sin kvarn efter det att bilden ovan dök upp på en fransk teknik-sajt. Enligt bedömare så ska bilden kunna föreställa ett gäng med förpackningar till en kommande iPhone-modell som går under namnet iPhone 5C. Själva C:et i namnet på den nya modellen sägs eventuellt kunna stå för det engelska ordet för färg, "colour". Tumnagel
30.0°
0
lördag 27 juli 2013 Bota AIDS med telefonen Eller hjälp till lite i alla fall Om man känner ett enormt sug att hjälpa till med olika forskningsprojekt men saknar motivationen att resa sig ur soffan så kan man ladda ner appen BOINC som lånar ut sin Android-telefons datorkraft för att utföra kalkyler åt olika forskningsprojekt. Det hela är inte helt olikt Folding@Home eller gamla hederliga SETI@home som fungerar på samma sätt. Appen kommer endast utföra kalylerna när man har Wi-Fi-uppkoppling så man behöver inte vara orolig för att den äter upp ens datatrafik. Man kan även välja vilket forskningsprojekt man vill stödja så som Einstein@Home och FightAIDS@Home. Appen är gratis och kan laddas ner via länken nedan. En iOS-version är på gång dock lär den versionen dröja ett tag. Tumnagel
44.8°
0
Nu kan du, typ, Instagramma med Windows Phone Hipstamatic Oggl erbjuder visst Instagram-stöd för en del WP-telefoner En av de apparna som jag själv saknar mest på Windows Phone är Instagram men nu verkar det som om Hipstamatic, en Instagram-liknande app, har hittat en lösning för alla Windows Phone-användare som vill skicka bilder till Instagram. Med Hipstamatic Oggl är det nämligen möjligt att dela sina bilder på både Instagram, Twitter samt Facebook. Det går dock inte att titta på andras bilder, like:a eller läsa kommentarer på Instagram med appen så man får väl säga att det inte är en perfekt lösning för Windows Phone-användare som vill Instagramma men åtminstone något. Hipstamatic Oggl finns till Windows Phone-lurarna Nokia Lumia 928, 925, 920, 820 samt 1020. Det finns en gratisversion här men vill man ha tillgång till fler filter, effekter och annat så finns det även en PRO-version här som kostar 3 dollar i månaden eller 10 dollar om året. Tumnagel
39.7°
0
fredag 26 juli 2013 Samsung fortsatt störst på smartphones Säljer nu dubbelt så många som tvåan Apple Research-företaget IDC har släppt ny statistik för antalet sålda smartphones under årets andra kvartal och Samsung ligger fortfarande i topp med 72.4 miljoner enheter sålda vilket motsvarar lite mer än 30% av alla smartphones som såldes under perioden. Efter Samsung följer Apple med 31,2 miljoner sålda enheter, LG (12,1 miljoner), Lenovo (11,3 miljoner) samt ZTE (10,1 miljoner). Dessa fem tillverkare står för sammanlagt nästan 60% av de smartphones som såldes under kvartal två 2013 medan resten av tillverkarna som till exempel Sony, HTC, BlackBerry, Nokia med flera delar på de återstående 40%. Ser man till de fem främsta tillverkarnas siffror för kvartal två 2012 så kan man se att både ettan och tvåna, Samsung och Apple, tappar marknadsandelar medan LG, Lenovo samt ZTE ökar, om än blygsamt, sina marknadsandelar. Totalt såldes det 432,1 miljoner mobiltelefoner under kvartal två 2013 (se bild ovan) och utav dessa klassades 237,9 miljoner som smartphones. Intressantast här är väl att Nokia fortfarande är världens näst största mobiltillverkare och sålde dubbelt så många mobiltelefoner som Apple under Q2 2013. Dock sannolikt med mycket lägre vinstmarginal än Apple. iCharts Tumnagel
39.5°
0
Samsung ökar vinsten Över 45 miljarder kronor i vinst för kvartal två 2013 Den sydkoreanska hemelektronik-tillverkaren har presenterat sitt resultat för kvartal två och man gick under periodens gång med hela 45,1 miljarder kronor i vinst. Det kan jämföras med de 33,6 miljarder kronor man gjorde i vinst för motsvarande period förra året. Man sålde under perioden uppskattningsvis 72,4 miljoner mobiltelefoner och försäljningen av mobiltelefoner står för två tredjedelar av Samsungs vinst för kvartal två 2013. Tumnagel
39.9°
0
iOS/Android Delta-V Racing har flygit in på App Store Combat-racing Delta-V Racing är en futuristisk retro-racer som släpptes igår för iOS men som är tänkt att släppas också för Android och OUYA snart. I spelet styr du din farkost uppåt och neråt med små svepningar på skärmen och dubbeltappar för att använda powerups. På motsatt sida av skärmen vilar ett finger på avtryckaren då Delta-V Racing ingalunda är en fredlig racer. Här är alla medel tillåtna för att vinna! Spelet har 36 olika events där din uppgift kan skifta från att hålla sig levande så länge som möjligt eller att eliminera alla motståndare på en bana. I varje event kan du spela mot dina polares spökfarkoster om de redan spelat eventet. Det finns fyra olika turneringar att ställa upp i. [iOS (15kr)] Tumnagel
36.3°
0
iOS Junk Jack X har fått en teaser Mycket bra 2D-Minecraft-substitut för folk som saknar Terraria Skaparna av Junk Jack, Pixbite, hade många coola idéer till spelet men de fick strykas då spelet inte hade kunnat spelats på så många generationer av iOS som det idag kan. Istället hade man tänkt att ge ut en Junk Jack 2.0-uppdatering senare men tog beslutet att ge ut ett helt nytt spel istället kallat Junk Jack X. Så vad är nytt i Junk Jack X? Spelet kommer att ha multiplayer via Game Center för två personer, eller lokalt för upp till fyra personer. Just nu är all multiplayer av formen co-op men det och antalet spelare som kan vara med kan tänkas ändras till släppet. Du kommer nu även att kunna fixa med utseendet på din karaktär. Hon/han skall även ha fyra platser för olika sorters utrustning att skydda huvud, bröst, ben och fötter med. En annan stor förändring är, och för mig låter den kanonspännande, det så kallade äventyrsläget. I din egen värld kan du hitta en portal som tar dig andra världar (SG-1 mm). Dessa nya världar kommer att ha andra miljöer, andra blocktyper och nya fiendetyper. På den nya planeten etablerar du en ny bas, bygger/utforskar vidare och hittar förhoppningsvis ytterligare en portal som tar dig till en helt annan planet till. Vill man vara med att beta-testa Junk Jack X kollar man in länken nedan. Junk Jack X släpps senare i år och personligen ser jag fram emot det mycket. Tumnagel
37.0°
0
torsdag 25 juli 2013 iOS Nu har även iOS fått sin drömprins En persisk sådan, nummer två i raden och 20 år gammal Prince of Persia: The Shadow and the Flame vart lite försenat idag men nu finns spelet för iOS också. Detta spel är en remake av klassikern från 1993 och borde vara 22 stycken välinvesterade dareiker för den spelintresserade. [iOS (22kr)] Tumnagel
36.9°
0
iOS Lums jagar vampyrer på App Store Lysande spel Vampyrer har invaderat vår värld, snott solen och gömmer sig bland skuggorna. Så introduceras det nya spelet Lums som är en action-pusslare där din uppgift är att utsätta vampyrna i varje bana för lite ljusbehandling som de inte tycker om utan dör av. Moahahaha. Det finns fem typer av Lums i spelet. Explosiva kanon-Lum, ljus-Lum, gravitations-Lum, glas-Lum och sten-Lum. Kombinera dessa Lums för att röka ut och ljussätta alla vampyrerna. Lums är mycket vackert gjort enligt dem som hunnit spela det och förhoppningsvis kanske det framgår av de två videos vi har här. Kika på dem och prova en lite-version först om du vill. [iPhone (7kr)] [iPad (15kr)] [iPhone (gratis)] [iPad (gratis)] Tumnagel
36.4°
0
iOS/Android Nytt spel i mobilen: A Ride Into The Mountains Pixligt beridet bågskytt Zux27s familj har skyddat en relik i århundraden. När hon en dag får se något skumt landa bland bergen så drar Zu iväg på sin häst med pilbåge och supermaxat koger. A Ride Into The Mountains är en pixlig, minimal historia där du får skjuta väldigt mycket pilbåge från hästryggen. Retro och snyggt! [iOS (7kr)] [Google Play (6kr)] Tumnagel
37.2°
0
iOS Styr raketer i nya Sky Tourist Kul spelidé Sky Tourist är både en pusslare och ett plattformsspel med en klart annorlunda styrmetod. Petey, som är en krävande rymdturist, hänger i en lina mellan två stycken rymdskepp som är placerade på var sin sida av skärmen. Höjer du det ena rymdskeppet högre än det andra kommer således Petey att glida neråt längs linan mot det andra rymdskeppet. Detta är bra för Petey som behöver samla på kuber, ta foton och lösa pussel. Det finns 75 normalbanor i spelet och tre bonusbanor. [iOS (7kr)] Tumnagel
37.3°
0
Android/iOS Vi kollar på Monster Shooter 2: Back to Earth Kattnapparna är tillbaka. DumDum får ta fram bössan igen. Krig! Efter några veckor spelbart enbart i Ryssland och Polen så släpps nu skjutaren Monster Shooter 2: Back to Earth till hela världen på Google Play. Spelet handlar om DumDum som i första spelet räddade sin katt ifrån de åttafotade aliens som hade lånat katten otillåtet. Nu är dessa aliens tillbaka och DumDum får i 80 banor skjuta aliens som aldrig förr. 20 olika vapen finns varav ett är en tuff mech-kostym och det finns fyra miljöer att testa dessa i. Spelet har även Co-op och över 100 olika uppdrag att utföra. Efter storyn är slut kan man fortsätta spela i överlevnadsläget eller det oändliga läget om man vill. [Google Play (gratis)] Spelet är tänkt att släppas till iOS om en vecka så håll utkik efter det då! Tumnagel
36.4°
0
iOS/Android Asphalt 8: Airborne släpps 8/8 En trippelåtta ger kanske en bättre åktur? När Nexus 7 offentliggjordes idag så avslöjade Google att Gamelofts kommande spel Asphalt 8: Airborne kommer att släppas den 8 augusti. Om två veckor alltså. Spelet är mycket optimerat enligt den nya OpenGL ES 3.0-standarden för grafik som Android 4.3 Jelly Bean har och det innebär bland annat 1080p dvs full HD. Även nya Google Play Games app skall stödjas. Tumnagel
37.7°
0
iOS Bloodmasque är släppt Din hjälte blir du själv med hjälp av fotoimport i spelet Square Enix nya beat x27em up med vampyrtema, Bloodmasque, släpptes under natten på App Store. Det som har roat och förundrat de som redan provat spelet är möjligheten att sätta din egen nuna på spelets hjälte. Du behöver tre foton på dig själv - ett neutralt, ett glatt och ett argt för att ge din karaktär möjlighet att uttrycka sina känslor. Kan bli ganska skojigt om man inte följer "reglerna". Sen om spelet är lika kul efter detta moment återstår att se. Det har potential att bli bra om man bedömer de videos som finns att beskåda i länken nedan. [iOS (49kr)] Uppdatering: Nu har vi fått ordning på länken ovan! De körde annat id i Sverige tydligen. Tumnagel
35.5°
0
onsdag 24 juli 2013 iOS/Android Nytt Prince of Persia på Androiden En remake av tvåan Prince of Persia: The Shadow and the Flame fortsätter där det första spelet slutade fast nu har vesiren Jaffar tvingat prinsen fly riket i ett fraktfartyg vilket tar prinsen till en mystisk ö. På denna ö gäller det att överleva 14 banor för att få chansen att komma tillbaka till hemlandet och stoppa den elaka vesiren. Spelet är en remake av originalspelet som kom ut för 20 år sedan och går att ladda hem här för 23kr. Även iOS skulle få spelet i natt men inga tecken tyder på att det har släppts där borta på jordklotet där App Store redan är en bit inne på torsdagen. Tumnagel
37.1°
0
Android Galaxy on Fire 2 HD nu släppt på Google Play Det flesta med en Android kan nu spela detta grymma spel Galaxy on Fire 2 har tills idag varit exklusivt för Tegra-androids. Och en sådan har ju inte alla precis, vilket var trist på ett så bra spel som detta. Men nu är det fritt fram för nästan alla Androids då Galaxy on Fire 2 HD har släppts på Google Play. Spelet är gratis att ladda hem och det gör du här. Om spelet: Galaxy on Fire 2 är ett mycket bra 3D-äventyr i rymden med över 50 olika skepp att frakta gods i eller skjuta ner fiender med. Minst tio timmars gameplay utlovas (jag lägger ner betydligt mer på spelet då jag är en skeppsköpare av rang). Tumnagel
38.0°
0
iOS/Android Asterix delar ut smockor i natt Så att en romare flyger så långt det bara går Som de flesta vet så blir Asterix kolossalt stark av trolldrycken Miraculix tillreder. I detta spelet är det en stackars romersk soldat som får smaka på Asterix smocka som resulterar i att soldaten får en ordentlig luftfärd vilken du som spelare aldrig vill skall ta slut. Men det gör den ju. Men som de flesta också vet är att man kan uppgradera olika saker och köpa powerups som gör att soldaten kanske flyger hem hela vägen ner till Rom. Jag gillar den här speltypen och när man dessutom får se grafik från Asterix trevliga värld blir man ju extra glad. Någon gång efter midnatt, romersk tid, kommer Asterix: MegaSlap att släppas här för iOS och spelet kostar 7kr. Även Androids kan ladda hem detta spelet nu: [Google Play (8kr)] Tumnagel
40.2°
0
iOS/Android Riptide GP2 släpps i morgon En stänkare man inte får missa Jag hade mycket skoj i Vector Units förra racer för vattenskotrar, Riptide GP, och när nu efterföljaren dyker upp i morgon vattnas det lite i... rycker det lite i speltummarna. I det nya spelet finns online multiplayer, uppgraderbara vattenskotrar, ännu bättre grafik än i första spelet, ett nytt karriärläge och ett nytt stuntsystem med en massa nya tricks! [iOS (22kr)] [Google Play (22kr)] Tumnagel
37.8°
0
Google visar upp Google Play Games Game Center-liknande grej för Android Google visade i dag upp sitt kommande spelnätverk för Android som heter Google Play Games. Detta är en app där man kan hitta spel och vänner att spela med. Google Play Games kommer hålla reda på molnlagring, achievements och flerspelarmöjligheter för alla spel som stödjer det. Appen kommer även integreras med Google+ Circles om man nu går igång på det. Tumnagel
39.2°
0
Nya Nexus 7 offentliggjord Ny Nexus med Android 4.3 Google offentlggjorde nyligen sin nya Nexus 7-tablet under en presskonferens i San Francisco. Den senaste månaden har denna tablet dykt upp i ett antal olika läckta bilder men nu är den alltså officiellt offentliggjord. Skärmen förblir självklart på sju tum men har nu en full HD-upplösning (1920 x 1080) med 323ppi. Detta gör den den mest pixeltäta plattan på marknaden. Bakom skärmen kan man hitta Qualcomm Snapdragon S4 Pro CPU quad core på 1.4GHz och 2GB med RAM. Den har två kameror (1.2 MP och 5 MP) samt en port för HDMI. Plattan kan numera även laddas via NFC vilket ju är trevligt. De amerikanska priserna som gällde för denna platta är 229 dollar för 16GB med Wi-Fi, 269 för 32GB med Wi-Fi och 349 för 32GB med LTE. Nya Nexus 7 kan köpas i USA från och med den 30:e juli men några svenska priser eller släppdatum har vi inte fått ännu. Tumnagel
61.5°
0
iZettle blir billigare att använda Fast bara i Storbritannien Den svenska betalningstjänsten iZettle kapar nu priserna för att använda deras tjänst i Storbritannien och användare av iZettle kommer nu att få betala en procentsats som baseras på hur mycket man har sålt för istället för som tidigare en fast procentsats. Tidigare var avgiften för näringsidkaren 2,75% av värdet på transaktionerna som utfördes via iZettle men nu implementerar man ett mer flytande avgiftssystem som till exempel innebär att avgiften sjunker till 1,92% om man säljer för minst 5 000 brittiska pund i månaden. Säljer man för minst 13 000 brittiska pund i månaden så blir det ännu lägre avgift och den landar då på 1,5% vilket är 45% billigare än den tidigare standardtaxan på 2,75%. Det här systemet ger givetvis iZettle en klar fördel mot deras konkurrenter på den brittiska marknaden som tar en fast avgift på 2,75% på alla transaktioner. iZettles VD Jacob De Geer säger att Storbritannien fungerar som en testmarknad för det nya avgiftssystemet och att det sannolikt kommer att introduceras liknande lösningar på andra marknader om det fungerar fint i Storbritannien. Tumnagel
40.8°
0
Bilder och specifikationer för kommande Nexus 7 läckta Blir lite mer rundad än föregångaren Den kommande Nexus 7-tableten från Google kan väl knappast längre räknas som en hemlighet då det de senaste veckorna har läckt bilder på enheten i parti och minut. Här är en film på härligheten som Android Police har kommit över. Där syns bland annat att den nya modellen kommer att få lite mera rundade hörn än sin föregångare. Vi får oss även snabb titt på Android 4.3. Specifikationsmässigt så har Nexus 7:s skärm fått högre upplösning och i den kommande versionen så ligger upplösningen på 1920x1200 pixlar vilket kan jämföras med dagens modell som har en upplösning på 1280x800 pixlar. Vidare sägs det att den kommer att vara försedd med en kamera på fem megapixel, en quadcore-processor från Qualcomm på 1,5Ghz samt 2GB ram. Den amerikanska hemelektronikkedjan Best Buy har redan börjat ta emot förhandsbeställningar på nästa generations Nexus 7 och de vill ha cirka 230 dollar för 16GB-modellen och 270 dollar för 32GB-modellen. Nexus 7 kommer med stor sannolikhet att presenteras officiellt på en keynote med Google senare idag. Hoppa vidare på länken nedan för lite fler bilder på kommande Nexus 7. Tumnagel
44.6°
0
tisdag 23 juli 2013 Android Två nya Cave-spel på Google Play Dubbel-shmup-varning utfärdad Cave har via G-Gee släppt två av sina spel på Google Play. Först ut är Mushihimesama Bug Panic där du "skjuter" på insekter. Allt från små insekter till enorma bamsingar. [Google Play (49kr)] [Lite versionen (gratis)] Sen har vi ytterligare en sk bullet hell-skjutare, DeathSmiles, som är en galet färgstark rymdskjutare med en mörk gothig underton. [Google Play (95kr)] [Lite versionen (gratis)] Tumnagel
37.9°
0
iOS Gratis bananer på App Store Plocka ner direkt! Är nog över innan solen går upp igen FDG Entertainmentx27s oändliga springare Banana Kong är ganska underhållande i sin genre. Spelet har fått mycket kärlek av sina utvecklare och nyligen fick det en fin uppdatering. Så passa på att ladda hem innan priset på bananerna går upp igen då det är ett 24h-erbjudande som redan varit igång en bra stund. [iOS] Tumnagel
37.9°
0
iOS/Android Fixa bilder på huvuden i glasburkar Futurama släpper head in jar-app till iOS och Android Nu släpper Comedy Central en app dedicerad till den animerade TV-serien Futurama. Med appen blir det möjligt att skapa egna bilder på huvuden som förvaras i formalinfyllda glasburkar. De huvudena man skapar kan man sedan förvara i ett eget arkiv liknande med det som återfinns i TV-serien. Futuramas Head in jar-creator är gratis och hittas till iOS här och Android här. Tumnagel
38.8°
0
iOS-app håller koll på dina favoritartister Samla alla deras sociala medier i ett flöde Seenth.is är en nyutvecklad svensk app för den som vill kunna följa sina favoritartister lite enklare. Appen låter dig välja ett gäng artister du vill följa och sedan så samlar den artistens olika sociala medier i ett mer lättläsligt flöde så du inte behöver hoppa runt mellan Instagram, Vine, Facebook, Twitter och andra tjänster. Man kan även titta "Fan Feed" vilket samlar de mest intressanta uppdateringar från fans runt om i världen. Min gissning är att detta sker via någon algoritm som tittar på taggar, delningar, likes med mera. Detta är grundtanken med Seenth.is men det är bara början då appen är smetad med ett gäng till funktioner. Appen är gratis och finns till iOS så om du gillar denna lilla förklaring är det bara att ladda hem och utforska. Tumnagel
42.8°
0
Sonos uppdaterar sin Android-app Strömma din lokala musik Sonos fortsätter att slänga ur sig uppdateringar i ett jämnt flöde. Denna gång så är det en uppdatering för Android-appen och med den kommer förstås en ny trevlig funktion. Numera kommer man nämligen kunna strömma den lokala musiken på telefonen till sitt Sonos-system. Tidigare har man behövt ha musiken på en server eller spela upp musik via någon streamingtjänst man loggat in systemet på. Detta är som sagt endast för Android men om man har en iPhone så kan man istället använda sig av Airplay för att uppnå samma sak, detta kräver dock en Airport Express. Jag hade helt missat att iOS fick denna uppdatering tidigare och man kan visst strömma lokal musik från sin iPhone till sitt Sonos-system, detta utan att gå via AirPlay. Tumnagel
39.6°
0
Ny Lumia-lur från Nokia Budget-variant Nokia offentliggjorde nyligen den nya Lumia-telefonen Lumia 625. Denna Lumia är en budgettelefon som så klart kör Windows Phone som operativsystem. Skärmen är rätt stor med sina 4,7 tum dock är upplösningen inte allt för imponerande då den är en WVGA-skärm (480 x 800) med 201ppi. Dock kommer den använda "super-sensitive touch"-teknologin som gör att man kan använda skärmen med vantar på. Utöver en rätt sunkig skärm så kör Lumia 625 en Snapdragon S4-processor på 1.2GHz, 512MB med RAM, 8GB internt minne, LTE, en kamera på 5-megapixel, en VGA-kamera på framsidan och ett batteri på 2 000 mAh. Telefonen kommer släppas i olika färger och man kommer även kunna byta skalet om man tröttnar på färgen. Telefonen kommer säljas för runt 220 Euro och släpps under årets tredje kvartal. Tumnagel
40.2°
0
Detta är Ubuntu Edge Canonical vill släppa egen telefon Canonical är företaget som ligger bakom Ubuntu och snart även en telefon om de får som de vill. Nu har de nämligen startat den största crowdsourcing-kampanjen någonsin i hopp om att kunna bygga en Ubuntu-telefon. Telefonen kommer att heta Ubuntu Edge och när du använder den som telefon så kommer den att köra Android men så fort du kopplar in den till en extern skärm eller liknande så kommer Ubuntu att ta över för att göra om telefonen till en fullfjädrad dator. Du ska även kunna komma åt Ubuntu-delen i telefon-form via appen Ubuntu for Android som redan finns. Ubuntu Edge kommer att ha en skärm på 4,5 tum med en upplösning på 1280 x 720 pixlar, hela 4 GB RAM, rejäla 128 GB minne och vad gäller nätet så blir det förstås en LTE-telefon. Vill du veta mer om den så är det bara att ta en titt på deras presentationsvideo nedan. För att denna telefon ska bli verklighet så krävs det dock att många vill ha den då de startat en IndieGogo-kampanj där de vill ha hela 32 miljoner dollar för att kunna producera telefonen. En telefon går att förbeställa för 600 dollar vilket betyder att de måste hitta cirka 54 000 personer som vill ha en telefon. Om du är sugen men inte vill köpa innan du sett tester så kommer telefonen efter kampanjen att kosta 830 dollar och lanseringsdatum är satt till maj nästa år. Tumnagel
60.9°
0
iOS/Android Gameloft jobbar på Thor: The Dark World Mer Marvel i luren Vi får mera Thor i höst/vinter när Thor: The Dark World har premiär på biograferna. Filmer med superhjältar i innebär nästan alltid att det dyker upp ett spel i anslutning till filmen. För mobiler så har Gameloft ofta ett superhjältefinger med i dessa spel, så även denna gång. Thor: The Dark World, spelet, är av typen hack x27n slash och kommer enligt rykten att bli ett F2P, gratis alltså, och släppas i samband med filmens premiär ungefär (november). Mer information om spelet lär dyka upp senare. Tumnagel
36.5°
0
måndag 22 juli 2013 iOS/Android Neon Shadow - kommande FPS för våra mobiler Ett Crescent Moon Games och Tasty Poison-samarbete Crescent Moon Games och Tasty Poison har släppt ett litet smakprov på deras kommande FPS, en Doom-inspirerad sak kallad Neon Shadow. I spelet är du en agent som skickas till en rymdstation vars robotar börjat löpa amok. Din uppgift blir att "stänga av dom" på ditt eget lilla vis. Spelet kommer att innehålla single & multiplayer (co-op, death match) och mycket mer vet vi inte i nuläget. Neon Shadow släpps någon gång under 2013 till iOS, Android och OUYA. Tumnagel
36.1°
0
Android Ett nytt zombielir har smygit in på Google Play Ingen söndagspromenad precis Det alldeles utmärkta spelet The Walking Dead: Assault, som även är det officiella spelet baserat på Robert Kirkmans serie, finns nu att införskaffa på Google Play. Spelet följer först Rick och snart även de andra kända karaktärerna från serien. Miljöerna du spelar i följer också de i serien väldigt mycket och det börjar med ett sjukhus... Vad går spelet ut på?: The Walking Dead: Assault handlar om att ta ut ett antal karaktärer i ett team och utföra ett uppdrag utan att bli zombiemat. [Google Play (20kr)] Tumnagel
37.0°
0
SIM-kort hackade till slut 750 miljoner SIM-kort kan vara i farozonen Den tyske säkerhetsexperten Karsten Nohl säger att han och hans team nu har lyckats med att hacka SIM-kort som återfinns i mobiler, tablets och annat. Det ska handla om en tvåstegs-attack som bygger på en gammal sårbarhet i SIM-kortens säkerhetslösning. Genom att kapa ett SIM-kort skulle en obehörig kunna plantera ett virus på SIM-kortet som skickar dyra SMS och/eller ringer dyra mobilsamtal som ägaren sedan blir skyldig att betala. Detta ska främst vara ett problem på den afrikanska marknaden som använder sina mobiler för betalning och pengaöverföring i större utsträckning än oss i resten av världen. Enligt uppgifter kan så många som 750 miljoner SIM-kort runt om i världen vara oskyddade för denna typ av attack. Nohl kommer att presentera sin upptäckt närmare på säkerhetskonferensen Black Hat som går av stapeln i Las Vegas i slutet av den här månaden. Tumnagel
30.4°
0
Rykte Apple testar större iPhones och iPads En iPad på 13 tum kanske kan vara något? Enligt The Wall Street Journal så håller Apple på att internt testa iPhone- och iPad-enheter med större skärmar. Den större iPad-skrämen sägs vara på 13 tum och den större iPhonen sägs vara mer än fyra tum på diagonalen. Om detta blir några produkter som någonsin kommer släppas är så klart oklart men det är inte första gången detta rykte dyker upp. Den koreanska ET News under våren rapporterade om ett rykte att Apple provade sig fram med en iPad på 12.9 tum och Reuters rapporterade förra månaden att Apple höll på att experimentera med iPhones med skärmstorleken 4.7 samt 5.7 tum. Tumnagel
34.7°
0
Bilder på vad som påstås vara nya Nexus 7 Kan släppas ganska snart För några dagar sedan dök det upp ett klipp på en surfplatta som påstods vara på en uppdaterad Nexus 7-tablet från Google. Nu har det dykt upp några läckta pressbilder som också sägs vara från denna enhet. Det surras om att denna Nexus kan släppas ganska snart då den även dök upp i en Best Buy-reklam. I detta reklamblad stod det att den har en skärm med upplösningen 1920 x 1200 och att den kommer säljas för 229,99 dollar. De läckta pressbilderna kan hittas via länken nedan. Tumnagel
43.8°
0
söndag 21 juli 2013 Copyswede kräver 73 miljoner av Telia Sonera För privatkopieringsavgift på iPhones Upphovsrättsorganisationen Copyswede har stämt Telia Sonera på 73 miljoner kronor då de anser att Telia Sonera måste betala den så kallade privatkopieringsavgiften för iPhones man har importerat och sålt i Sverige från 2009 och framåt. Copyswede har ända sedan 2008 försökt få branschen att betala privatkopieringsavgifter för mobiltelefoner efter att man har lyckats få ersättning för USB-minnen och externa hårddiskar. Något som branschen kategoriskt har vägrat. Från och med den 1:e september i år kommer Copyswede även att börja kräva privakopieringsavgifter för datorer med inbyggt minne, lösa interna hårddiskar, surfplattor och spelkonsoler. Även detta är något som hemelektronik-branschen ställer sig kritisk till. Primärt för att svenskar idag inte lagrar särskilt mycket media på sina prylar då de flesta nu streamar hem musik, tv och film via nätbaserade tjänster. Copyswede anser att allting som det går att lagra något på ska beläggas med privatkopieringsavgift men Telia Sonera hävdar att en telefon primärt är avsedd för att ringa och skicka SMS med. Copyswede hävdar å sin sida att Apples iPod Touch redan är belagd med privatkopieringsavgift men att man kan skicka SMS även från den. Därför bör även iPhones beläggas med privatkopieringsavgift. Copyswede vill ha 3,50 kronor/GB som en iPhone kan lagra och baserat på detta har man räknat ut att Telia Sonera ska betala 73 miljoner kronor till Copyswede för alla iPhones som de har sålt i Sverige sedan 2009. Det hela ser nu ut att sluta i domstol och jag antar att det kan ta ett tag innan man kommer fram till ett slutgiltigt avgörande. Skulle Copyswede få igenom sina krav så skulle det i praktiken innebära att en iPhone med 64GB minne blir ungefär 250 kronor dyrare för oss konsumenter. Tumnagel
-139.7°
0
Första pressbilderna på Moto X Går ni igång på det här? Det är stor pepp i mobilvärlden, främst den amerikanska, inför släppet av Moto X från Motorola om några dagar. Nu har de första pressbilderna på den dykt upp, lite för tidigt. Det ser ut som att den kommer att köra vanilla android och framsidan är förvillande lik en Nexus 4. Det som är intressantast ur vår synvinkel nu att få reda på är nog om den alls kommer hit till Sverige. Uppdatering Nu även i vit version. Tumnagel
52.3°
0
lördag 20 juli 2013 Motorola visar upp Moto X Den 1:a augusti Motorola spikade i dag den 1:a augusti som datumet då man kommer visa upp sin spännande telefon, Moto X genom ett event i New York City. Detta blir den första luren som Motorola tagit fram under Googles vingar så det skall bli intressant att se resultatet. Det ryktas om att man kommer ge kunderna stora möjligheter att skräddarsy telefonen med olika färger på baksidan och sidorna av telefonen. Tumnagel
38.8°
0
fredag 19 juli 2013 iOS Nya svenska spel på App Store Heja Sverige! Dags igen för ett gäng svenska spel som ganska nyligen släppts på App Store. Av en händelse är alla frågespel och gratis. Så frågan är fri.. vilket skall jag ta? Tag alla! QuizFuzz är skapat av tre stycken studenter och som namnet inte döljer handlar det om ett frågespel. En spelomgång är man mot man och har 10 frågor i tre stycken rundpr. Mest rätta svar vinner. Du kan även skriva egna frågor, vinna utmärkelser och öka i nivåer. Slantar man in lite och får premiumversionen kan man göra ännu mera! iPhone (gratis) | Hemsida Raskt över till nästa spel som också är ett frågespel. Det heter 30 Rätt och din uppgift är att avgöra om olika påståenden är sanna eller falska. Du kan spela mot upp till fyra motspelare, utmana vänner eller slumpvist utvalda motståndare! Här kan du också skriva egna påståenden, bättra på din ranking och chatta med folk. iPhone (gratis) | Se Trailer! I Babble väljer du och din motståndare tre ämnen var. I tre ronder ska ni sedan komma på svar på en och samma bokstav i dessa ämnen. Kom på ett land, en skådespelare, en fotbollsklubb och en hundras på L! Vem kan hitta flest ord på två minuter? Över 50 kategorier och 10000 frågor finns. Räcker ett tag det. iPhone (gratis) | Facebook-sida Som sagts förut: Tips är mycket välkomna på nya svenska spel ni tycker vi skall skriva om. Det kan vara allt från stolt hemmasnickeri i ensamt majestät till lite större projekt med flera utvecklare. Tumnagel
41.4°
0
iOS/Android Halfbrick krashlandar snart Colossatron Matcha färger och krossa Halfbrick har ett nytt spel på gång, Colossatron: Massive World Threat, vilket handlar om ett metallmonster som kraschlandat på jorden. Spelet går ut på att med monstret förstöra så mycket som möjligt och monstret styrs/påverkas genom att du drar in färgade "noder" som dyker upp i spelplanen in i dess kropp så att färger matchas. Denna matchning gör att monstret blir grymmare och bättre. Spelet är just nu under utveckling och Halfbrick har inte gett någon hint om när det skall släppas. Tumnagel
37.7°
0
torsdag 18 juli 2013 VLC på väg tillbaka till iOS Trevligt Den populära videospelaren VideoLAN kommer under morgondagen dyka upp i Apples App Store igen. Appen är helt omskriven från grunden och kommer självklart vara open source. Appen kräver iOS 5.1 eller högre och kommer fungera på iPhone, iPad samt iPod touch. För ungefär två och ett halvt år sedan så plockades appen bort från App Store eftersom appen bröt mot några delar av GPL-licensen. Men då man byggt upp appen från grunden igen så hoppas man kunna undvika det denna gång. "We worked hard with all major copyright holders to not repeat history and we are confident to have achieved this goal" Appen kommer även erbjuda möjligheten att synkronisera media, Dropbox-integration, nätverksströmning, videofilter och mycket mer. Tumnagel
66.3°
0
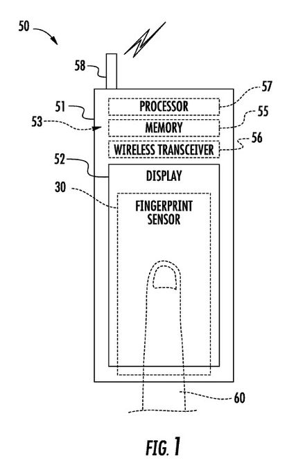
Fingeravtrycksläsare inbyggt i skärmen på nya iPhone? Nytt Apple-patent visar hur det skulle kunna gå Ett av ryktena om nästa generations iPhone är att den kommer att ha en fingeravtrycksläsare. Denna läsare har hela tiden förmodats vara inbäddad i hemknappen men nu så har ett nytt patent dykt upp som istället visar att den skulle kunna vara inbyggd i skärmen. Vad tror ni? Tumnagel
45.4°
0
Byt enkelt mellan HTC Sense och vanilla-Android på HTC One Med verktyget MoDaCo.SWITCH Om man är osäker på om man vill köra HTC:s egna Android-gränssnitt HTC Sense eller vanilla-Android på sin HTC One så kommer snart verktyget MoDaCo.SWITCH med vilket man enkelt ska kunna växla mellan de båda versionerna. Det krävs dock att man har både HTC:s egna version av Android samt en vanilla-version av Android installerat på telefonen. För att växla mellan de båda gränssnitten så krävs det att man bootar om telefonen men bägge gränssnitten delar på appar och data så dessa behövs ej installeras dubbelt. MoDaCo.SWITCH beta-testas nu för tillfället internt men man säger att en publik beta-version kan dyka upp så snart som den här veckan. Tumnagel
44.1°
0
Chrome för iOS uppdateras Bättre login för Googles tjänster Google uppdaterar idag sin webbläsare Chome för iOS och en av nyheterna tacka jag verkligen för. Numera kommer man nämligen att kunna logga in på sitt Google-konto direkt i appen och vips så loggas man in på alla olika Google-apps-sidor istället för att behöva logga in på varje enskild sida. Det fungerar alltså nu precis som på Android. Andra nyheter är att man får full webb-historik samt fullskärmsläge för iPad. Tumnagel
39.5°
0
Truecaller hackat *uppdaterat* Syrian Electronic Army säger sig ligga bakom Hackers från hacker-gruppen Syrian Electronic Army (SEA) säger sig ha lyckats hacka den svenska nummerupplysnings-appen Truecaller och kommit över miljontals med telefonnummer med tillhörande personuppgifter. SEA säger sig ha kommit över uppgifterna genom att hacka Truecallers webbplats som ska ha kört en äldre version av Wordpress. Totalt säger SEA att man har kommit över sju stycken databaser på sammanlagt 450GB. SEA har även postat skärmdumpar på data från en databas samt inloggningsuppgifter till en databas som man hävdar tillhör Truecaller på Twitter. Truecallers webbsajt låg tidigare nere men verkar nu vara uppe och rulla som normalt. Truecaller har dock själva inte uttalat sig om det här än så länge. Uppdaterat Truecaller har nu gått ut med ett meddelande på sin hemsida där man bekräftar att man har blivit utsatta för ett dataintrång. Man skriver vidare att förövarna ska ha kommit åt viss data men specificerar inte exakt vad det är som de har kommit över. Man skriver dock att man ej blivit av med de den nyckel som krävs för att låsa upp användarinformationen. Här är ett utdrag från Truecallers meddelande som du kan läsa i sin helhet här. "Truecaller does not store passwords, credit card information, or any other sensitive information about our users. It is false information that attackers were able to access our user’s Facebook, Twitter, or any other social media passwords. We are still investigating the extent of unauthorized access of our database. We have outlined steps to help us deal with the situation. These steps include more complex security measures and various other tools we want to keep within the company." Tumnagel
19.4°
0
Prova Android 4.3 Koden kan nu laddas ner En variant av Android 4.3 har letat sig ut på nätet tack vare en Google-anställd sålt sin Nexus 4 med en nästan färdig version av operativsystemet på. Denna version av Android kopierades sedan ut ur telefonen och finns nu att ladda ner för alla som är modiga nog att installera det på sina lurar. Så om man är villig att prova denna Android-version (som just nu saknar radio) så är det bara till att sätta igång via länken nedan. Tumnagel
39.8°
0
Lumia går om BlackBerry Fler sålda Lumias än BlackBerrys det gångna kvartalet I Nokias senaste kvartalsrapport tillkännagav man att den finska telefontillverkaren sålde rekordmånga Lumia-telefoner under denna tidsperiod. Med hela 7,4 miljoner sålda Lumia-telefoner nämnde man bland annat att man sålde fler Lumia-telefoner än vad BlackBerry sålde telefoner totalt under denna period. För bara ett år sedan sålde BlackBerry nästan dubbelt så många lurar so Nokia sålde Lumias. Men trots dessa rekordsiffror så är det fortfarande inte helt grönt då man fortfarande rapporterade en förlust på 115 miljoner Euro denna kvartal. Detta är i och för sig lite lägre än väntat men fortfarande rätt mycket pengar även om det är betydligt lägre än förra årets siffra för den här perioden vilket då var 826 miljoner Euro. Tumnagel
60.6°
0
iOS R·Type tillbaks igen på App Store Större, bättre och mera skjutglädje R·Type har funnits förut på App Store men EA har tappat distributionsrätten så nu har DotEMU tagit över den rollen. Det är dock en förbättrad variant vi erbjuds denna gång där spelarnas önskemål om iOS-stöd, bättre kontroller, Game Center etc har tillkommit. Även nya banor, iCade-support och Retina-stöd gör den gamla sidoskrollande klassikern riktigt åtråvärd. [iOS (15kr)] Tumnagel
37.8°
0
iOS Breach & Clear har intagit App Store I jakten på terrorister Breach & Clear släpptes idag och är ett turbaserat strategispel som fans av spel som Frozen Synapse eller XCOM: Enemy Unknown nog kan gilla. I spelet sköter du en liten fyramannagrupp som utför politiskt känsliga uppdrag runt om i världen. Uppdragen är av typen: "Ta dig igenom ett antal rum för att ta kål på alla terroristerna du träffar på". Din fyramannagrupp går att byta ut mot andra kända specialförband (Navy SEALs, Special Forces etc) beroende på vad uppdraget kan tänkas kräva. Utvecklarna utlovar i kommande uppgraderingar spellägen som Hostage Rescue och Bomb Disposal samt mer uppdrag i nya länder. Breach & Clear kostar just nu 15kr men skall kosta det dubbla om en vecka. [iOS (15kr)] Tumnagel
37.3°
0
En värld utan mobiler Reklamfilm från Qualcomm Chiptillverkaren Qualcomm har släppt en ny reklamfilm där man har tänkt till lite kring hur en värld utan mobiler skulle kunna se ut. Tumnagel
44.1°
0
HTC One Mini presenterad Släpps nästa månad Att HTC skulle komma med en mindre version av sin flaggskeppsmodell HTC One har inte direkt varit någon hemlighet och idag presenterade man lite mer information om den. HTC One Mini är i stort sett identisk med sin storebror fast den är något kortare, smalare och tunnare. Men det handlar inte om några jätteskillnader, One Mini är ungefär fem millimeter kortare och smalare än HTC One samt ungefär tre millimeter tunnare. Skärmen är på 4,3 tum vilket kan jämföras med skärmen som återfinns i HTC One som är på 4,7 tum. Även upplösningen är sämre på One Mini då denna kör 720p medan HTC One kör 1080p-upplösning. Även processorn och batteriet har något sämre kapacitet än vad storebrorsan har. HTC hoppas kunna släppa HTC One Mini globalt augusti. Än så länge finns det inga uppgifter om vad HTC One Mini kommer att kosta. Tumnagel
43.5°
0
Ladda telefonen med kiss Bränslecell som drivs av urin Brittiska forskare har tagit fram två slags apparater som med hjälp av bränsleceller kan omvandla mänskligt urin så att detta kan användas för att driva en mobiltelefon. De är tyvärr inte helt portabla ännu och det verkar inte som om de är särskilt effektiva. Efter 24 timmars laddning av en telefon från Samsung så räckte batteriet i cirka 25 minuter, tillräckligt för att skicka ett gäng SMS samt ringa ett samtal på sex minuter och 20 sekunder. Oavsett hur effektiva den här typen av bränsleceller är så kan de givetvis innebära en enorm hjälp för människor som bor i utvecklingsländer där de kanske inte alltid, eller aldrig, har tillgång till el. Att ladda batterier via urin är dock ingen jättenyhet och redan 2009 skrev vi om batteriet NoPoPo som man kunde ladda med sitt kiss (se artikel nedan). Tumnagel
37.6°
0
iOS Sky Gamblers: Cold War har flygit in på App Store Jag skall köpa vingar... De som gillar Sky Gamblers-serien kan nu ge sig ut på nya uppdrag i Sky Gamblers: Cold War. Flygspelet har förutom sin solokampanj även lite skojiga spellägen för flera spelare som Survival, Team Deathmatch, Capture the Flag och Defend the Base. I videon ovan ser vi lite gameplay och framför allt de flesta flygplanen som finns med i spelet. En tutorial-video går att se i länken nedan. [iOS (38kr)] Tumnagel
36.8°
0
LG Optimus G2 blir endast G2 Och så lite läckta specifikationer LG har gått ut med att de kommer att göra lite namnändringar bland sina mobiler. Bland annat så kommer nästa telefon i flaggskeppsserien Optimus G att bli av med Optimus-namnet och endast heta G2. Optimus-namnet kommer att vara kvar för de billigare modellerna F och L men toppmodellen kommer alltså nu endast att heta G och en siffra. LG:s telefoner med 4:3 ratio på skärmen kommer från och med nästa telefon endast att heta Vu. Om vi återgår till att prata om LG G2 så kommer den att visas upp den 7:e augusti och den förväntas ha en Snapdragon 800 fyrkärning processor, en 5,2 tum stor 1080p-skärm, 2GB RAM och en 13-megapixelskamera. Tumnagel
37.7°
0
Officiellt Firefly-spel på gång Med släpp nästa år Joss Whedons korta men populära science fiction-serien Firefly kommer komma återvända i form av ett officiellt spel för iOS och Android. Spelet heter Firefly Online och beräknas att släppas sommaren 2014. Spelet utvecklas av Dairy Queen Tycoon-utvecklaren Spark Plug Games och QMXi. I Firefly Online kommer man kunna bygga och skräddarsy sitt eget skepp samt besättning för att utföra olika uppdrag. Själva Online-delen går ut på att man kan byta grejer med andra spelare. En teasertrailer för spelet kan beskådas ovan. Tumnagel
42.4°
0
Är detta nästa Nexus-tablet? Troligen i alla fall en av prototyperna Den 24 juli så förväntas Google visa upp nästa Nexus 7 men redan nu så kanske vi har chans att se hur tableten kommer att se ut. Androidcentral har här en liten video samt vidare på deras sajt även ett par stillbilder på vad de säger är nästa generations Nexus 7-platta. De säger i och för sig att det är möjligt att detta är en prototyp och att plattan som släpps inte längre ser ut såhär. Vad gäller specifikationer så hittar man på denna en femmegapixelskamera på baksidan, en Snapdragon S4 Pro-processor samt att det finns plats till 4 GB RAM även om det inte är troligt att det blir så mycket i den färdiga produkten. Tumnagel
40.0°
0
Nu går det att köpa böcker på svenska Google Play Passar fint för hängmattan? Nu har Google öppnat upp möjligheten för även oss i Sverige att köpa e-böcker via Androids app-butik Google Play. Det verkar för tillfället enbart finnas engelsk litteratur tillgängligt och priserna ligger på mellan 0 - 150 kronor boken men de flesta böckerna verkar ligga runt 50-lappen. Vill man så finns även möjligheten att läsa ett utdrag ur boken innan man köper den. Böckerna sorteras även på diverse topplistor samt ett tio-tal kategorier. Tumnagel
47.8°
0
iOS Pac-Man springer fort i nytt iOS-spel Han käkar dock som vanligt I Pac-Man Dash! är den välbekanta gula cirkeln tillbaka fast nu i en mer trind gul kropp med både armar och ben. Pac-Man Dash! är Namco Bandais bidrag till gruppen "oändligt många springare". Men då det trots allt är Pac-Man vi ser och han dessutom gratis att ladda hem samt att spelet verkar, enligt gameplays jag sett, vara ganska ok så borde man nog prova. [iOS (gratis)] Tumnagel
35.9°
0
Nästa sida + Per månad 39 kr Betala löpande per månad. Ingen bindningstid. Starta prenumeration Per år 299 kr Enklast och billigast, bara 25 kronor i månaden. Betala löpande per år. Ingen bindningstid. Prova 14 dagar gratis innan du bestämmer dig. Starta gratis provperiod Engångsköp 349 kr Slipp återkommande betalningar, betala ett år i taget. Betala med kort eller Swish. Köp utan prenumeration