Teknik Motor Samhälle Spel Popkultur Fritid Tjock Tester Dagens fråga Tipsa! Skaffa Feber+
Hetaste
Senaste
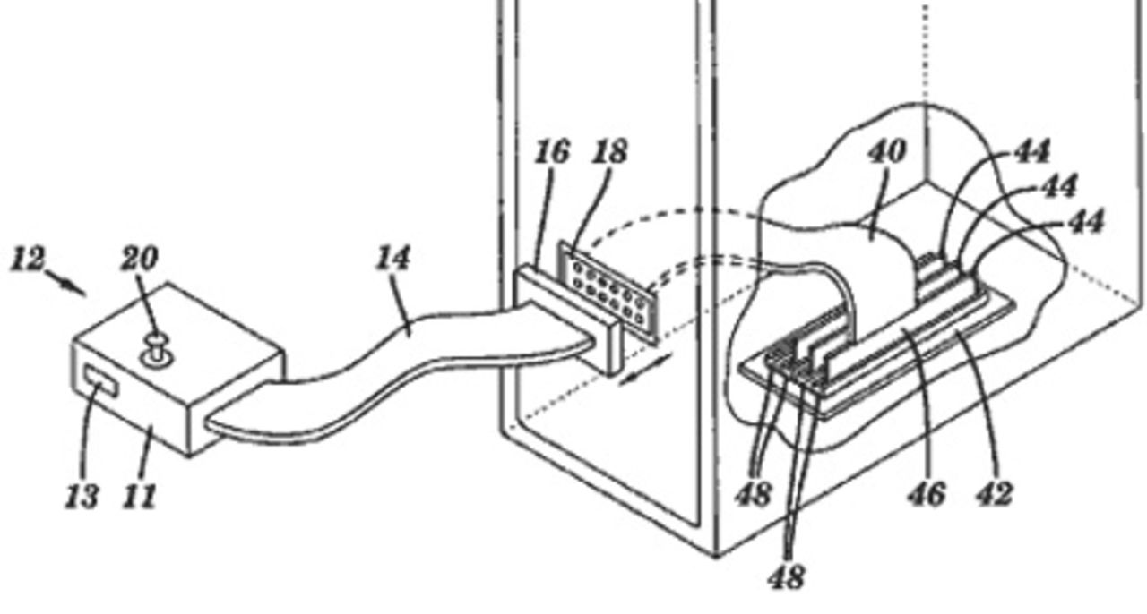
Lägg till extra RAM externt IBM patenterar ny teknik Lägg till extra RAM externt IBM har klurat ut en teknik där man skulle kunna ansluta en extern DRAM-enhet till datorn. Tanken är att man tillfälligt ska kunna öka sin DRAM-kapacitet och lätt kunna flytta den till en annan dator när minnet behövs bättre där. Så tekniken ska alltså vara som ett komplement till befintlig teknik, ingen ersättare.Själva enheten ansluts på befintliga DRAM-platser och erbjuder 4 platser för varje plats på moderkortet. Det hela ser ut att kunna bli riktigt användbart, främst för alla som har svårt att komma åt sina RAM-platser, t.ex. i bärbara datorer.
tomsbusiness.se PC, , IBM, RAM, patent
37.1° 0 Anders Magnusson Anders Magnusson
tors. 14 jun 2007, 12:10
7 kommentarer till artikeln
AlleISkellefteå
First!

Hur kan man ta patent på en lite kabel? Det dära går att bygga själv med enkla medel....
av AlleISkellefteå, torsdag 14 juni 2007 kl 15:00
Netzach
AlleISkellefteå: I USA går det att ta patent på nästan vad som helst, vilket är en av anledningarna till att det varit snack om att bygga ett nytt patentsystem.
av Netzach, torsdag 14 juni 2007 kl 16:52
Bobby
Hur blir det med latenser när man gör så där?
av Bobby, torsdag 14 juni 2007 kl 17:10
banarne
Kan man inte koppla RAM-platsen till interet så att google kan ta hand om allas korttidsminne?
Glöm vad jag sa förresten. Ska ta patent på idén.

Pax!
av banarne, torsdag 14 juni 2007 kl 19:00
Press play on tape
Det finns en anledning till att moderkort är designade med minnet så nära processorn som möjligt.
av Press play on tape, torsdag 14 juni 2007 kl 19:29
doktorn
Är det bara jag som tycker man kan börja köra med tunna klienter? Vem fasen behöver all den tunga beräkningskapacitet som finns i datorerna nu för tiden? (I kontorsmiljöer menar jag). Hoho jag behöver 2 gig i ram för att kunna skriva mina mail.!!.... Själv kan jag tänka mig att ha en enda fetingserver och låta alla i hushållet köra nån virtuell maskin mot den burken istället. Eller är det för tidigt än kanske? Jag jag försöker säga är: Bra idé... Men ska den här datorn där extra ram syssla med sånt den inte är lämpad för? Jag har varit mer inne på banarnes idé... fast min är bättre. Och jag tycker inte att patent håller för såna banala lösningar.!
av doktorn, torsdag 14 juni 2007 kl 22:17
Pontus
doktorn. Jag är med dig! En tunn klient med möjlighet till expansion är ju guld.

Jag förutspår att laptoppar kommer bli som lego. och funka som tunna kllienter om man vill och spelmaskin (med hjälp av externt minne och grafikkort) om man vill
av Pontus, fredag 15 juni 2007 kl 12:41
Kommentera artikeln







+ Per månad 39 kr Betala löpande per månad. Ingen bindningstid. Starta prenumeration Per år 299 kr Enklast och billigast, bara 25 kronor i månaden. Betala löpande per år. Ingen bindningstid. Prova 14 dagar gratis innan du bestämmer dig. Starta gratis provperiod Engångsköp 349 kr Slipp återkommande betalningar, betala ett år i taget. Betala med kort eller Swish. Köp utan prenumeration