Teknik Motor Samhälle Spel Popkultur Fritid Tjock Tester Dagens fråga Tipsa! Skaffa Feber+ Mitt konto
Hetaste
Senaste
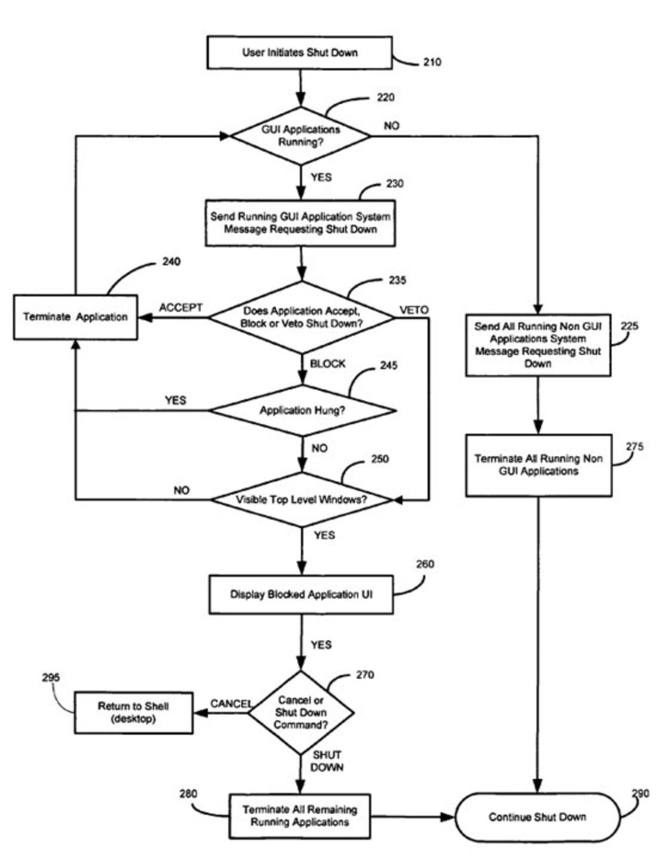
Microsoft patenterar att stänga ner ett operativsystem Får det att se väldigt komplicerat ut Microsoft patenterar att stänga ner ett operativsystem Under augusti månad år 2005 så lämnade Microsoft in en ansökan för ett patent som rörde ett effektivare sätt att stänga ner operativsystemet Windows, såväl som andra operativsystem vilket inkluderar Mac OS X. Det berör bland annat att man kan köra över program som annars håller operativsystemet från att starta om.Funktionen har funnits ett tag nu i Windows och är mer känd som den lilla skärm som dyker upp som listar program som körs innan du stänger ner operativet. Där kan användaren uppmanas att spara data i program som körs innan man ska stänga ner Windows.Microsoft beskriver hela processen i ett schema och får det att se väldigt komplicerat ut. Det inkluderar bland annat att operativsystemet får kommandot att stänga ner och automatiskt avsluta applikationer i det grafiska användargränssnittet (GUI) som håller tillbaks kommandot.Patentet ansöktes alltså tre månader innan när Vista skulle släppas till företag och därför nämns endast Windows XP i patentet. conceivablytech.com PC, Övrigt, Microsoft, Via Slashdot
36.8° 0 Samuel Paulsson Samuel Paulsson
tors. 2 sep 2010, 12:08
+ Per månad 39 kr Betala löpande per månad. Ingen bindningstid. Starta prenumeration Per år 299 kr Enklast och billigast, bara 25 kronor i månaden. Betala löpande per år. Ingen bindningstid. Prova 14 dagar gratis innan du bestämmer dig. Starta gratis provperiod Engångsköp 349 kr Slipp återkommande betalningar, betala ett år i taget. Betala med kort eller Swish. Köp utan prenumeration