Teknik Motor Samhälle Spel Popkultur Fritid Tjock Tester Dagens fråga Tipsa! Skaffa Feber+ Mitt konto
Hetaste
Senaste
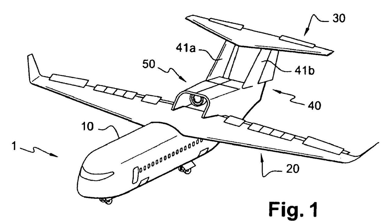
Airbus konstiga men coola flygplansdesigner Patentritningar visar udda former Airbus konstiga men coola flygplansdesigner Airbus har precis fått patent hos US Patent and Trademark Office på bland annat det här konstiga flygplanet vi ser här till höger. Planet har dubbla flygkroppar, dubbla vingar och en stor turbopropmotor i mitten som är mer bränsleeffektiv än en jetmotor.Tanken med de dubbla vingarna är att minska att vingarna böjer sig vilket i sin tur gör att man kan bygga ett lättare plan utan lika många förstärkningar. Lättare plan kräver mindre effekt och blir i sin tur snålare. Fler roliga koncept finns bland bilderna och på länken. bit.ly Pryl, Pryl, Airbus, design, ritning, patent, flygplan, skiss Via Gizmodo Bild till bildspel Bild till bildspel Bild till artikel Bild till artikel
41.3° 0 Bobby Green Bobby Green
tis. 19 jun 2012, 14:29
+ Per månad 39 kr Betala löpande per månad. Ingen bindningstid. Starta prenumeration Per år 299 kr Enklast och billigast, bara 25 kronor i månaden. Betala löpande per år. Ingen bindningstid. Prova 14 dagar gratis innan du bestämmer dig. Starta gratis provperiod Engångsköp 349 kr Slipp återkommande betalningar, betala ett år i taget. Betala med kort eller Swish. Köp utan prenumeration