Teknik Motor Samhälle Spel Popkultur Fritid Tjock Tester Dagens fråga Tipsa! Skaffa Feber+ Mitt konto
Hetaste
Senaste
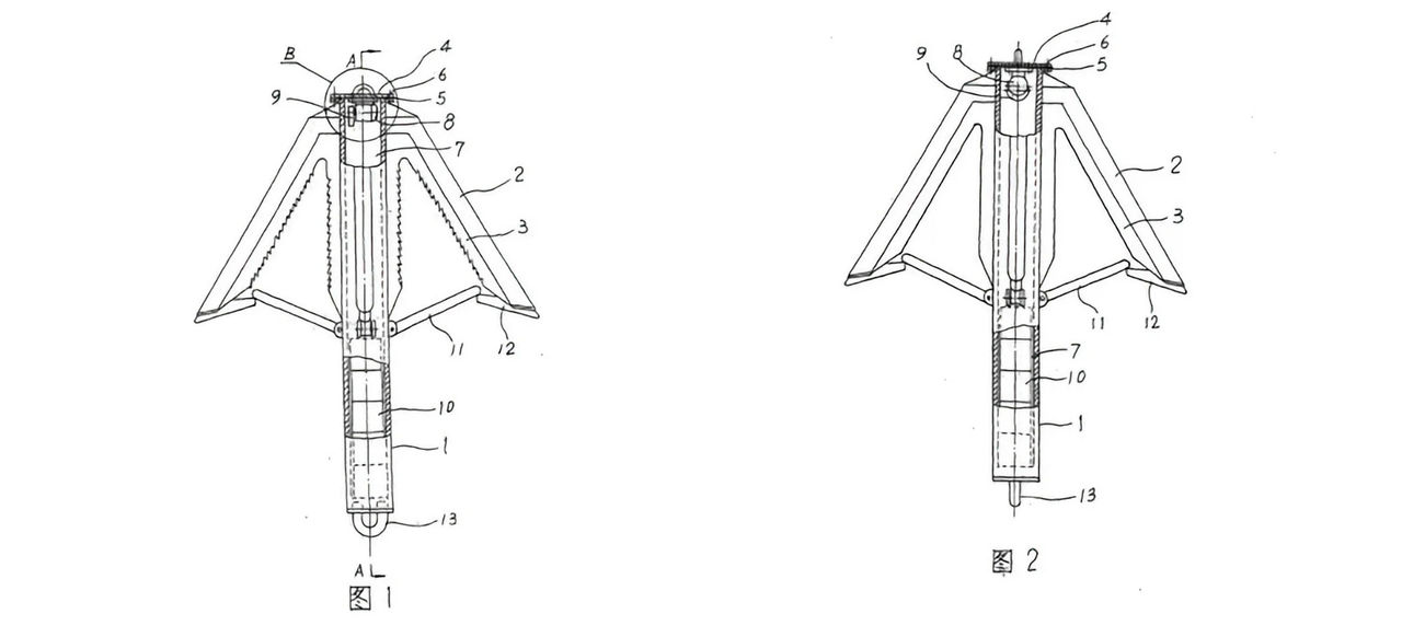
Kina vill ta patent på kabelklippare för havskablar Om de behöver skäras av i nödsituationer Kina vill ta patent på kabelklippare för havskablar Foto: Lishui University Newsweek har hittat en kinesisk patentansökan för ett verktyg som utvecklats för att kunna klippa av kablar som går på havsbotten. Verktyget ska ha varit under utveckling på Lishui University sedan 2020 och författarna bakom patentet skriver om syftet med verktyget:"With the development of science and technology, more and more submarine cables and communication cables are laid on the seabed of all parts of the world and the cables need to be cut off in some emergency situations.
The traditional cutting method needs first to detect the position of the cables, then excavate and salvage them for cutting. The process is complex, a lot of expensive equipment is needed, and the cost is too high. There is a need for a fast, low cost cutting apparatus for submarine cables to accomplish this task."
Huruvida verktyget som beskrivs i patentet faktiskt har utvecklats finns det inga uppgifter om. Det finns däremot misstankar om att kinesiska fartyg och fartyg tillhörande det så kallade ryska skuggflottan har varit inblandade i flera av de sabotage som skett mot havskablar i Östersjön samt utanför Norge och Taiwan. Bilderna ovan och nedan är hämtade från den kinesiska patentansökan på kabelklipparen.
newsweek.com Samhälle, Kommunikation, kina, havskablar, kablar, kabelklippare, sabotage Via aftonbladet.se Bild till artikel Foto: Lishui University Flera datakablar i Östersjön har skadats Sabotage utreds Tumnagel 12.2° 0 Nytt kabelbrott mellan Sverige och Finland Finländsk polis misstänker sabotage Tumnagel 18.3° 0 Mystiskt kabeldrama i Östersjön Finsk polis har bordat ett fartyg Tumnagel 41.5° 0 Nato vill ha satellitsystem som backup Om det blir kabelbrott på havskablar Tumnagel 52.5° 0
4.9° 0 Wille Wilhelmsson Wille Wilhelmsson
mån. 13 jan 2025, 16:20
+ Per månad 39 kr Betala löpande per månad. Ingen bindningstid. Starta prenumeration Per år 299 kr Enklast och billigast, bara 25 kronor i månaden. Betala löpande per år. Ingen bindningstid. Prova 14 dagar gratis innan du bestämmer dig. Starta gratis provperiod Engångsköp 349 kr Slipp återkommande betalningar, betala ett år i taget. Betala med kort eller Swish. Köp utan prenumeration