Teknik Motor Samhälle Spel Popkultur Fritid Tjock Tester Dagens fråga Tipsa! Skaffa Feber+
Hetaste
Senaste
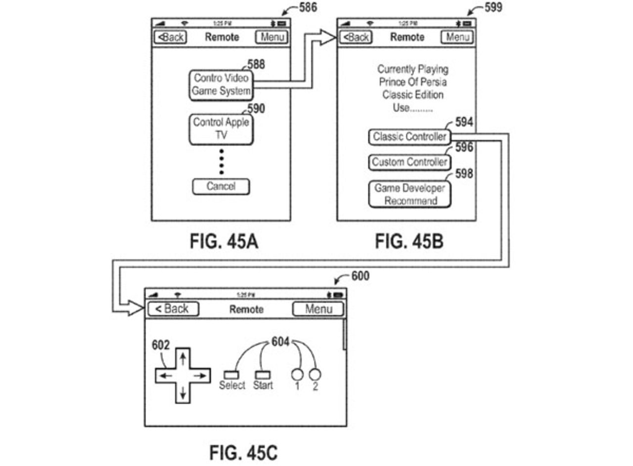
Använd din iPhone till Xbox 360 Nytt Applepatent Använd din iPhone till Xbox 360 Apple har tagit patent på en metod för att kunna använda sin iPhone tillsammans med dagens spelkonsoler. I patentet kan vi bland annat se en iPhone som används tillsammans med Xbox 360. På en annan bild ser det ut som att iPhonen kan bli en virtuell NES-kontroll.Som med alla patent så kan det mycket väl bli som så att det inte blir någonting av det i slutändan, men det är ju alltid kul att se hur de tänker kring olika saker. Nu till den stora frågan: Vill vi verkligen att vår iPhone ska bli en NES-kontroll utan knappar? Känns som att knappar är att föredra i ett sånt läge, men för andra funktioner kan jag absolut tänka mig att det kan fungera bra. Eller vad säger ni? gameinformer.com Spel, Apple, Patent, iPhone till Xbox 360 Bild till artikel
31.0° 0 Peter Tjärndal Peter Tjärndal
fre. 27 jul 2012, 10:14
+ Per månad 39 kr Betala löpande per månad. Ingen bindningstid. Starta prenumeration Per år 299 kr Enklast och billigast, bara 25 kronor i månaden. Betala löpande per år. Ingen bindningstid. Prova 14 dagar gratis innan du bestämmer dig. Starta gratis provperiod Engångsköp 349 kr Slipp återkommande betalningar, betala ett år i taget. Betala med kort eller Swish. Köp utan prenumeration