Teknik Motor Samhälle Spel Popkultur Fritid Tjock Tester Dagens fråga Tipsa! Skaffa Feber+ Mitt konto
Hetaste
Senaste
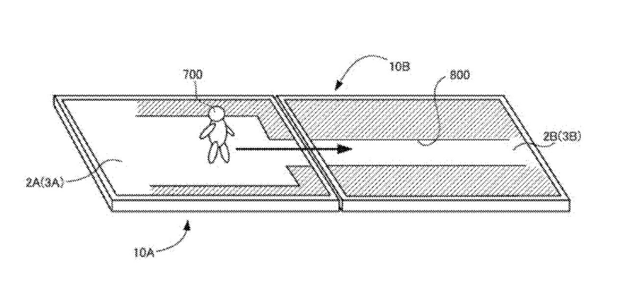
Nintendo-patent beskriver rolig lösning med flera skärmar Ser lite galet ut Nintendo-patent beskriver rolig lösning med flera skärmar Digital Trends har grävt upp ett patent som Nintendo ansökte om i april förra året. I patentet visar Nintendo upp en slags lösning där flera skärmar är integrerade med varandra.I patentet ser det ut som om man kopplar ihop skärmarna till flera switch-konsoler, eller mobiltelefoner, för att sedan använda dessa som en gemensam spel- eller arbetsyta. Ett lite enklare koncept syns ovan där det verkar som om man till exempel skulle kunna spela Super Mario eller något annat på en lite längre skärm. Ett lite mer avancerat koncept nedan där man byggt ihop en halv kub med tre stycken skärmar. Enligt patentet skulle det vara teoretiskt möjligt att koppla ihop hur många skärmar som helst även om detta kanske visar sig lite svårare att genomföra i praktiken. digitaltrends.com Spel, Nintendo, patent, switch, flerskärm Bild till artikel
39.4° 0 Wille Wilhelmsson Wille Wilhelmsson
mån. 16 apr 2018, 17:45
+ Per månad 39 kr Betala löpande per månad. Ingen bindningstid. Starta prenumeration Per år 299 kr Enklast och billigast, bara 25 kronor i månaden. Betala löpande per år. Ingen bindningstid. Prova 14 dagar gratis innan du bestämmer dig. Starta gratis provperiod Engångsköp 349 kr Slipp återkommande betalningar, betala ett år i taget. Betala med kort eller Swish. Köp utan prenumeration