Teknik Motor Samhälle Spel Popkultur Fritid Tjock Tester Dagens fråga Tipsa! Skaffa Feber+ Mitt konto
Hetaste
Senaste
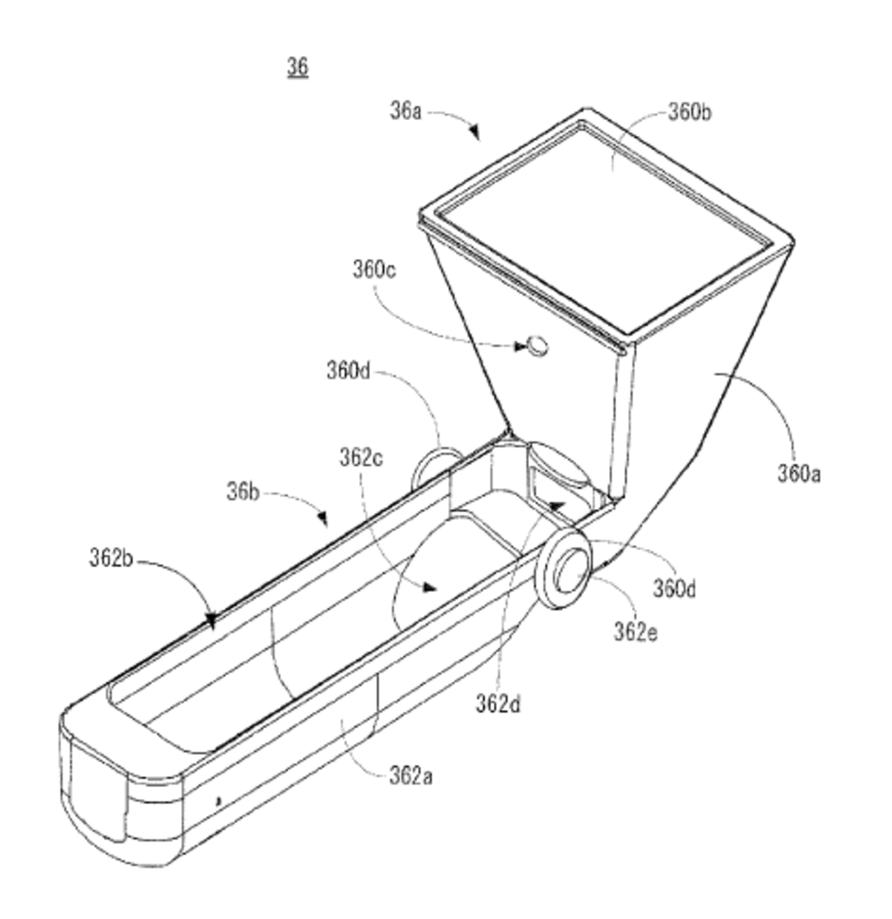
Nintendo patenterar Wii Remote med touchskärm WiiTouch? Nintendo patenterar Wii Remote med touchskärm En nytt patent från Nintendo visar ett tillbehör till Wii Remote. Detta tillbehör gör att wiimoten får en touchskärm på toppen. Tydligen ska den fungera på så sätt att när man trycker på skärmen ska den delen av skärmen som man trycker på avge en röd ljusstråle. Dessa ljusstrålar når sedan en spegel som studsar strålarna till den infraröda sensorn som finns på wiimoten som till slut konverterar detta till positionsdata.Vad tror ni? Kommer den här komma ut på marknaden någon gång?
Jag tycker den ser ganska klumpig ut.
computerandvideogames.com Spel, Nintendo, WiiTouch, Wii remote med touchskärm, Wii U Bild till bildspel Bild till bildspel Bild till bildspel Bild till artikel Bild till artikel Bild till artikel
35.3° 0 Peter Tjärndal Peter Tjärndal
mån. 7 nov 2011, 10:07
+ Per månad 39 kr Betala löpande per månad. Ingen bindningstid. Starta prenumeration Per år 299 kr Enklast och billigast, bara 25 kronor i månaden. Betala löpande per år. Ingen bindningstid. Prova 14 dagar gratis innan du bestämmer dig. Starta gratis provperiod Engångsköp 349 kr Slipp återkommande betalningar, betala ett år i taget. Betala med kort eller Swish. Köp utan prenumeration