Teknik Motor Samhälle Spel Popkultur Fritid Tjock Tester Dagens fråga Tipsa! Skaffa Feber+ Mitt konto
Hetaste
Senaste
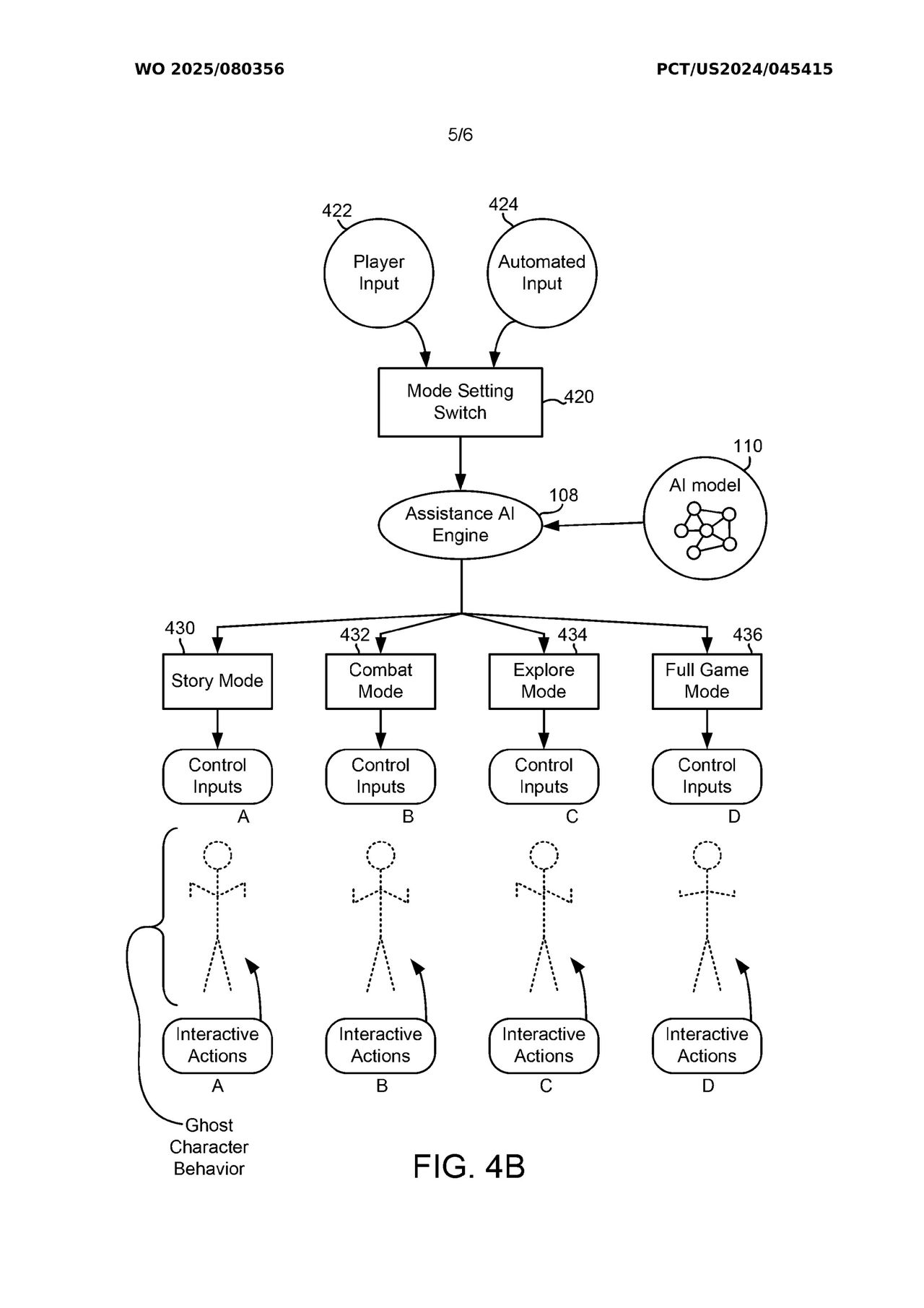
Nytt Sony patent visar AI-hjälp i spel AI kan visa lösningar eller ta över när du kört fast Nytt Sony patent visar AI-hjälp i spel Sony har tagit patent på en AI-baserad spökspelare som kan hjälpa till om man har fastnat i något spel. Patentet beskriver en överlagrad version av spelarens karaktär som kan visa handlingar, ge exempel på knappsekvenser, eller ibland ta över och klara en del av spelet åt spelaren. Spökspelaren kan också föra samtal med spelarens karaktär för att ge instruktioner.Enligt patentet kan då AI:n tränas på befintligt spelmaterial för att senare kunna visa lösningar som är relevanta för spelarens aktuella situation. videogameschronicle.com Spel, Sony, AI, Spökspelare, Patent, Spel, Instruktioner, Karaktär Bild till bildspel Bild till bildspel Bild till bildspel Bild till artikel Bild till artikel Bild till artikel
26.0° 0 Frode Wikesjö Frode Wikesjö
ons. 7 jan 2026, 16:20
+ Per månad 39 kr Betala löpande per månad. Ingen bindningstid. Starta prenumeration Per år 299 kr Enklast och billigast, bara 25 kronor i månaden. Betala löpande per år. Ingen bindningstid. Prova 14 dagar gratis innan du bestämmer dig. Starta gratis provperiod Engångsköp 349 kr Slipp återkommande betalningar, betala ett år i taget. Betala med kort eller Swish. Köp utan prenumeration