Teknik Motor Samhälle Spel Popkultur Fritid Tjock Tester Dagens fråga Tipsa! Skaffa Feber+ Mitt konto
Hetaste
Senaste
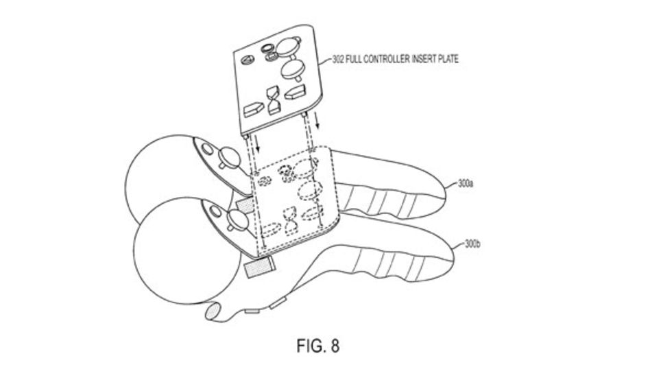
Sony patenterar ny Move-kontroll En anpassningsbar sådan Sony patenterar ny Move-kontroll Sony har patenterat en ny typ av Move-kontroll. Denna kontroll liknar mer nuchuck-delen av Wii-kontrollen och ser lite mer ergonomisk ut än den tidigare Move-kontrollen. Patentet visar också att de experimenterar med utbytbara knappsatser och att kunna koppla ihop två kontroller så att de bildar en enhet. Fast det mest konstiga i det här patentet måste nog ändå vara "fotbollskontrollen" där man sätter fast fyra stycken av dessa handkontroller på händerna och fötterna och sedan utför diverse halsbrytande konster. Alla ens antika vaser bör nog flyttas minst tio meter från teven när man spelar detta!Som vanligt när det gäller patent så är det inte alls säkert att något av detta kommer att komma ut på marknaden, men det ger oss i alla fall en god hint om vad Sony experimenterar med och hur framtidens kontroller skulle kunna tänkas se ut. Uppdaterat: Det visade sig visst att det här patentet tecknades redan 2008 innan Move hade kommit ut. gameinformer.com Spel, Sony, patent, playstation Move, Ps4, Bild till bildspel Bild till bildspel Bild till bildspel Bild till bildspel Bild till artikel Bild till artikel Bild till artikel Bild till artikel
35.4° 0 Peter Tjärndal Peter Tjärndal
lör. 12 jan 2013, 02:14
+ Per månad 39 kr Betala löpande per månad. Ingen bindningstid. Starta prenumeration Per år 299 kr Enklast och billigast, bara 25 kronor i månaden. Betala löpande per år. Ingen bindningstid. Prova 14 dagar gratis innan du bestämmer dig. Starta gratis provperiod Engångsköp 349 kr Slipp återkommande betalningar, betala ett år i taget. Betala med kort eller Swish. Köp utan prenumeration