Teknik Motor Samhälle Spel Popkultur Fritid Tjock Tester Dagens fråga Tipsa! Skaffa Feber+ Mitt konto
Hetaste
Senaste
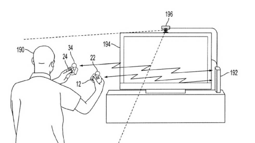
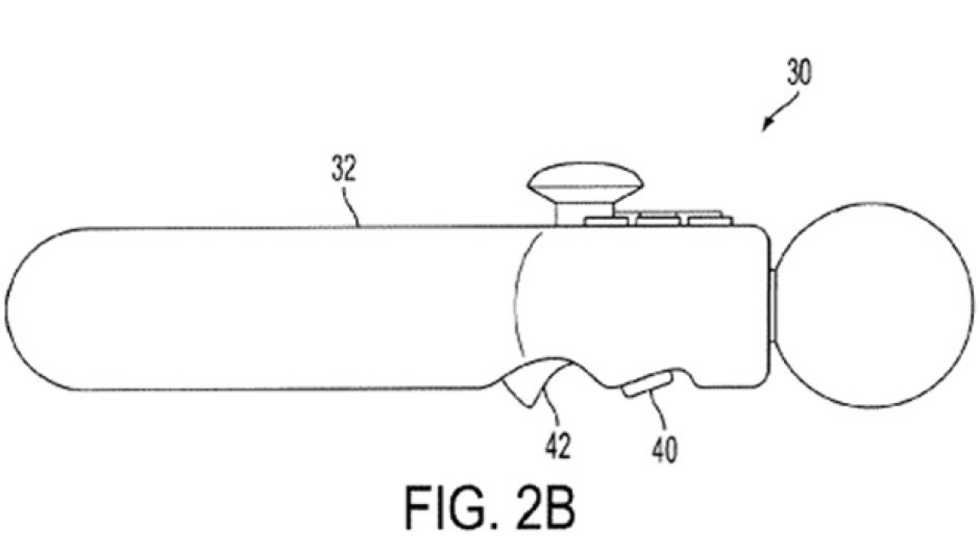
Sony tar patent på ny hybridkontroll Är det nästa generationens? Sony tar patent på ny hybridkontroll En blandning mellan en vanlig handkontroll och en Move-kontroll. Ett nytt patent från Sony avslöjades igår och frågan är om det här kan vara kontrollen till nästa Playstation. Ansökan om patentet gjordes i maj 2011 men publicerades först den 29 november. Och vad bilderna att döma är det alltså en sorts hybridkontroll som vid en första anblick ser rätt smart ut. Den ska gå att dela i två delar där den i sammansatt läge ser ut som en vanlig handkontroll och i delat läge blir till två movekontroller. Smidig lösning om det fungerar.Konceptet tror jag helt klart på. Den stora frågan är hur ergonomisk den är, för det gäller ju att den ligger bra i handen oavsett hur den används. Men allt som gör att vi slipper köpa fler tillbehör och fylla hela vardagsrumsbordet med prylar är ju en positiv utveckling. Det är inte första gången Sony patenterar denna lösning. Redan 2008 lämnade man in en liknande patentansökan för en kontroll som kan dela. computerandvideogames.com Spel, Sony, Kontroll, Hybrid, Patent, Move, Playstation 4, Next Gen Bild till bildspel Bild till bildspel Bild till bildspel Bild till bildspel Bild till bildspel Bild till bildspel Bild till artikel Bild till artikel Bild till artikel Bild till artikel Bild till artikel Bild till artikel
43.7° 0 Emmy Zettergren Emmy Zettergren
lör. 1 dec 2012, 07:30
+ Per månad 39 kr Betala löpande per månad. Ingen bindningstid. Starta prenumeration Per år 299 kr Enklast och billigast, bara 25 kronor i månaden. Betala löpande per år. Ingen bindningstid. Prova 14 dagar gratis innan du bestämmer dig. Starta gratis provperiod Engångsköp 349 kr Slipp återkommande betalningar, betala ett år i taget. Betala med kort eller Swish. Köp utan prenumeration