Teknik Motor Samhälle Spel Popkultur Fritid Tjock Tester Dagens fråga Tipsa! Skaffa Feber+
Hetaste
Senaste
Alla Heta Kalla Öppna i ny flik måndag 23 april 2018 fortsättning Detroit: Become Human-demo släpps i morgon Spelet har gått guld! Detroit: Become Human släpps nästa månad och utvecklarna Quantic Dream har nu meddelat att spelet har gått guld och är färdigt att skeppas, vilket alltid är trevliga nyheter. I samband med detta har gänget meddelat att vi kommer kunna testa spelet från och med i morgon då gänget kommer släppa en demoversion av Detroit på Playstation Network. Detroit: Become Human släpps 25 maj till Playstation 4. Tumnagel
40.0°
0
Overload släpps 31 maj Själslig uppföljare till Descent I februari 2016 drog utvecklarstudion Revival Productions igång en Kickstarterkampanj för Overload som var en själslig uppföljare till Descent från 1995. Insamlingen blev lyckad och spelet släpptes som Early Acces-spel på Steam i mars förra året. Nu har gänget bekräftat att spelet kommer släppas ordentligt och det kommer ske 31 maj. Overload kommer även att släppas till konsol, men det kommer inte ske förrän tredje kvartalet i år. Tumnagel
41.3°
0
Nintendo börjar sälja reservdelar till Nintendo Labo När dina kartongbitar går sönder I fredags släpptes Nintendo Labo till Nintendo Switch i USA. I samband med det så började man även sälja reservdelar och andra moddar till Labo i Nintendos amerikanska webb-butik. Det handlar om kartongdelar till Labo som användare eventuellt måste köpa om de ursprungliga delarna från Nintendo Labo Robot eller Variety Kit gått sönder. I dagsläget handlar det om ett 15-tal olika reservdelar man kan köpa till Nintendo Labo. Grejerna kostar från 2 dollar, vilket man får ge för ett "Reflective Sticker Sheet", upp till 14 dollar som "kroppen" i Nintendo Labos Robot Kit kostar. Nu på fredag 27 april släpps Nintendo Labo till Nintendo Switch på den svenska marknaden. Tumnagel
38.5°
0
Ninja slår nytt Twitch-rekord med Fortnite-stream 667.000 tittare samtidigt Tidigare i år lyckades streamern Ninja slå Twitch-rekord genom att sända en spelrunda tillsammans med den populäre rapparen Drake. Nu har Ninja slagit ytterligare ett rekord och den här gången gjorde han det själv. Nästan i alla fall. Ninja medverkade i ett event i Las Vegas där han lirade det populära spelet Fortnite: Battle Royale och i samband med det vände sig 667.000 tittare till strömmen, vilket är snäppet fler än de 635.000 som tittade när han lirade med Drake. Ovan kan ni se hur det såg ut när Ninja och hans vänner lirade. Tumnagel
35.3°
0
Hearthstone-chefen Ben Brode lämnar Blizzard Ska starta eget Hearthstones game director Ben Brode meddelade nyligen att han kommer lämna sin post på Blizzard för att inleda nya äventyr. Ben Brode har spenderat 15 år hos Blizzard och 10 år med Hearthstone. Brode kommer starta ett nytt spelföretag som troligtvis kommer skapa nya spel. I ett inlägg på Hearthstone-forumet skriver Brode bland annat detta: "I am very fortunate to be able to take a crazy risk right now in my life, and I’m excited to be scrappy and a little scared. I’m going to help start a new company. We’ll probably make games, but we haven’t figured anything else out, yet. I’m looking forward to designing, programming, and actually creating things again. I’m going to miss the on-campus Starbucks, though. Dang." Tumnagel
36.9°
0
Metal Gear Solid V blir gratis med Xbox Live Gold i maj Nästa månads Games with Gold-lir presenterade Microsoft har berättat vilka spel prenumeranter av Xbox Live Gold kommer kunna lira nästa månad utan extra kostnad. Bland annat kommer vi få lira det mästerliga Metal Gear Solid V: The Phantom Pain samt det actionspäckade liret Vanquish i maj. Utöver det kommer även Super Mega Baseball 2 och Sega Vintage Collection: Streets of Rage bli tillgängliga för prenumeranter. Super Mega Baseball 2 kommer vara tillgängligt för Xbox Live-prenumeranter från 1 maj till 31 maj. Metal Gear Solid V: The Phantom Pain kommer vara tillgängligt från 16 maj till 15 juni. Sega Vintage Collection: Streets of Rage kan bli ditt från 1 maj till 15 maj och Vanquish kommer vara tillgängligt från 16 till 31 maj. Tumnagel
39.5°
0
Housemarque presenterar Stormdivers Nytt multipalyerlir från Resogun-skaparna I slutet av förra året meddelade Housemarque att utvecklarstudion var färdiga med arkadspel, vilket företaget jobbat med i drygt 20 år. Gänget har nu presenterat sitt första spel efter sitt avbrott från arkadspel och det nya liret går under namnet Stormdivers och Housemarque har även levererat en relativt intetsägande teaser om spelet. Vad spelet kommer gå ut på är för tillfället oklart. Utvecklarna berättar dock att det kommer bli en multiplayerupplevelse som ska vara lätt att plocka upp och vara rätt actionspäckad. Givetvis har det börjat spekulerats kring vad spelet kommer gå ut på och många verkar tro att det handlar om ett Battle Royale-lir, vilket känns rätt i tiden. Stormdivers kommer släppas senare i år till PC och konsol. Mer info om spelet kommer förhoppningsvis dyka upp inom kort. Troligtvis i samband med E3. Tumnagel
37.3°
0
Fotoläge på ingång till God of War Få Kratos att använda smilmusklerna God of War anlände i fredags och troligtvis har ett gäng av er redan plockat upp spelet. Det verkar inte som att utvecklarna kommer ligga på latsidan när det kommer till framtida funktioner i spelet. I samband med releasen av spelet meddelade utvecklarna att ett fotoläge kommer petas in i spelet som kommer låta dig förvandla skärmdumpar i spelet till konst. Fotoläget kommer du kunna dra igång precis när du känner för det och precis som fotolägen i andra spel kommer du få tillgång till en rad olika fotoinställningar. Utöver det kommer du även kunna få Kratos och Atreus att göra olika miner som passar bättre in i motivet. Ovan kan ni se hur fotoläget i God of War kommer se ut. Tumnagel
39.2°
0
Valve köper upp Campo Santo Half-Life 3 bekräftat? I helgen överraskade Valve genom att köpa upp Firewatch-utvecklaren Campo Santo. Enligt källor ska Valve in hela utvecklarstudion som den är och gänget kommer fortsätta jobba på sitt kommande spel In the Valley of Gods. I ett blogginlägg skriver Campo Santo detta om att ansluta sig till Valve: "We had a series of long conversations with the people at Valve and everyone shared the satisfaction we take in working with people whose talents dwarf our own to make things we never thought possible. Both sides spoke about our values and how, when you get right down to it, we, as human beings, are hard-limited by the time we have left when it comes to making the things we care about and believe in. They asked us if we’d all be interested in coming up to Bellevue and doing that there and we said yes." Tumnagel
42.9°
0
Nu finns det skins till Nintendo Switch Om du vill ge den ett lite personligare utseende Företaget Dbrand har tagit fram klistermärken i olika färger om man skulle vilja ge sin Nintendo Switch ett lite mer personligt utseende. Dbrand säger att man har arbetet tillsammans med företaget 3M för att ta fram skins till Nintendo Switch vars klister inte skadar konsolens olika delar, något som tidigare i bland har varit fallet. Skin till handkontrollerna joy-cons kostar 5 dollar styck, dockningsstationen kostar 15 dollar och till konsolen 10 dollar. Tumnagel
37.6°
0
fredag 20 april 2018 Alienware har ockuperat hotellrum i Hotel Panama Perfekt för gamingsemestern! Brukar du längta hem till din gamingrigg när du är ute och reser? Då kanske du borde ta en tripp till Panama och checka in i rum 2425 på Hotel Panama. Alienware har nämligen petat in lite Alienware-hårdvara i hotellrummet som en 65 tum stor OLED-tv som är kopplad till en ordentlig gamingdator med Intel Core i7-7800-processor och GTX 1080Ti-grafik samt lite nödvändigheter som Oculus Rift och Xbox One Elite-kontroller. Om det inte vore nog står det även en Alienware-laptop på skrivbordet som är kopplad till en 34 tum ultrabred gamingskärm. Och förstås två sängar. Rummet kostar 349 dollar att hyra per natt. Tumnagel
39.8°
0
Rhombus of Ruin släppt till HTC Vive och Oculus Rift Psychonauts-liret inte längre PS VR-exklusivt Psychonauts in the Rhombus of Ruin släpptes till Playstation VR i februari förra året, men nu är det dags för PC-spelare att få tillgång till VR-liret. Spelet utspelar sig efter händelserna i Psychonauts och vi får följa Razputin "Raz" Aquato som hamnar i trubbel efter en flygkrasch och måste använda sina krafter för att rädda sina vänner. Psychonauts in the Rhombus of Ruin nu tillgängligt till Oculus Rift och HTC Vive och priset ligger på 16 euro. Tumnagel
37.7°
0
Satellite Reign nu gratis på Humble Bundle Gratis är gott! 5 Lives Studios och Humble Bundle har slagit sina kloka huvuden ihop och har gjort Satellite Reign gratis via spelbutiken. Satellite Reign är ett klassbaserat realtidsstrategi-spel som utspelar sig i en cyberpunkmiljö. I spelet kontrollerar du en trupp på fyra karaktärer, som även kan kontrolleras av vänner i coop-läge, som med diverse spiontaktiker ta sig till toppen av företagsstegen. Spelet kommer vara tillgängligt helt gratis via Humble Bundle-butiken fram till 19:00 i morgon och det är bara att klicka på länken här nere till vänster för att norpa liret. Tumnagel
40.0°
0
Idag släpps God of War Cory Barlog levererar hälsning från utvecklarna Idag är det 20 april och det betyder inte bara att cannabisentusiaster firar den internationella dödsknarkdagen, utan även att God of War släpps. Dagen i ära har Sony Playstation släppt en video där spelets game director Cory Barlog levererar en liten hälsning till spelets fans. Personligen är jag lite avis på folk som får möjlighet att uppleva spelet för första gången. Era rackarns lyckans ostar. Bonusvideo nedan. Tumnagel
42.4°
0
Agony släpps 29 maj Mer skräckspel till folket! Madmind Studio har äntligen berättat när vi kommer kunna lägga vantarna på survival-horror-spelet Agony och det kommer ske 29 maj. I spelet kastas spelaren in i ett eget litet helvete fullt av gåtor och andra pussel som måste lösas för att ta sig ur mardrömmen. Agony släpps 29 maj till PC, Playstation 4 och Xbox One. Tumnagel
37.8°
0
Gameplaytrailer för Graveyard Keeper Lite köttigare variant av Stardew Valley Tycker du att Stardew Valley är lite för livligt? Då kanske Graveyard Keeper kan vara någonting för dig. I spelet får du ta hand om din alldeles egna kyrkogård som du även kommer kunna uppgradera och bygga ut. Utöver att ta hand om kyrkogården kommer du få möjlighet att anordna häxbränningar och skrämma upp lokalbefolkningen så att de kommer till kyrkan. Sedan innehåller spelet en hel del annan interaktion med lokalbefolkningen, lite farmande, resurssamlande och crafting. Graveyard Keeper kommer släppas senare i år till PC och Xbox One. Vill du testa spelet innan dess så kan ni registrera er på spelets hemsida för att testa alpha-versionen av spelet. Tumnagel
40.1°
0
Svensk reklamfilm för Nintendo Labo Nu är det bara en vecka kvar Idag släpper Nintendo Labo till Nintendo Switch i USA men vi i Europa måste vänta ytterligare en vecka på att börja leka med byggsatserna. I väntan på det har Nintendo släpps en kort reklamfilm riktad mot den svenska marknaden som ni kan kolla in ovan. Tumnagel
38.8°
0
Fynda VR-titlar i Steams VR-rea! 30 procents nedsatt pris på Virtual Warfighter Är du sugen på att fylla ut spelbiblioteket med ett gäng VR-titlar? Då har vi goda nyheter då Valve dragit igång en ordentlig rea på VR-spel på Steam. Bland samlingen VR-lir hittar vi bland mina favoriter GORN och Arizona Sunshine som du kan köpa för 15 respektive 22 euro. Sedan är Anders Malmgrens VR-lir Virtual Warfighter 30 procent billigare och kostar 16 euro. Det finns flertalet andra fynd att hitta bland spelsamlingen. Länk till rean har ni här nere till vänster. Och som vanligt: har ni några tips på bra lir som kan fyndas under rean så är det bara att tipsa om spelen i kommentarerna. Tumnagel
39.1°
0
DOOM-soundtracket släpps på vinyl i sommar Årets måste-ha-platta Det är allmänt känt, tror jag, att DOOM från 2016 har det bästa och ösigaste soundtracket genom tiderna. Nu har Bethesda meddelat att Mick Gordons soundtrack till spelet kommer släppas i fysiskt format i juli. Mer specifikt kommer det släppas ett Special Edition-paket med soundtracket på både vinyl- och CD-skivor. Hela paketet går att förboka nu via Laced Records, länk har ni här nere till vänster, och priset ligger på 90 euro. Tumnagel
46.1°
0
torsdag 19 april 2018 Telegram-blockering ställer till problem för Twitch Vissa twitchare kan inte längre streama sitt spelande Amazons spelstreaming-tjänst Twitch uppges ha drabbats av problem efter det att Ryssland beslutade sig för att blockera meddelandetjänsten Telegram i landet. Nu uppger en del Twitch-användare att de inte har längre har möjlighet att streama via Twitch. Anledningen till detta tros bero på att Ryssland blockerat miljontals IP-adresser från Googles och Amazons molntjänster för att kunna blockera Telegram. Då Twitch använder sig av Amazons molntjänst så beror det antagligen på Ryssland blockering av IP-nummer att vissa Twitch-användare inte längre kan streama sitt spelande. Här nedan kan ni höra twitch-streamaren "Angry Roleplayer" berätta lite mer om problemet. Tumnagel
34.5°
0
Snart kan du spela spel i Facebook-annonser Testa innan du installerar Facebook har börjat testa att köra spel direkt i annonser med förhoppningen att det ska ge användare ett större incitament för att sedan installera spelet på riktigt. I dagsläget testas funktionen i Facebooks nyhetsflöde tillsammans med cirka ett dussin spelutvecklare skriver Engadget. Senare i år förväntas Facebook öppna upp spelbara annonser för alla sin annonsörer. Huruvida detta bara gäller spel som går att spela på Facebooks plattform eller om det gäller alla spel framgår inte för tillfället. Både Google och Microsoft har tidigare lanserat liknande lösningar. Google erbjuder till exempel Instant Apps, test av android-spel och android-appar, genom Google Play. Windows har sina Playable Ads som på ett liknande sätt kan låta användare testa appar utan att installera dem. Tumnagel
24.6°
0
Lite saker du borde veta innan du lirar God of War Polygon listar I morgon släpps God of War och troligtvis har några av er redan förbokat spelet så att ni kan lira så fort det släppts. Innan dess kan det vara värt att lära sig vad spelet egentligen handlar om och till er hjälp har Polygon släppt en video där gänget listar 12 saker som kan vara värda att tänka på innan ni börjar banka is-zombies med Kratos och Atreus. Eller så kan ni hoppa in i spelet i blindo, vilket också är helt okej. Tumnagel
38.5°
0
Battlefield V verkar få Battle Royale-läge Räcker det inte nu? Älskar du Battle Royale-lir som Playerunknownx27s Battlegrounds, Fortnite: Battle Royale och Radical Heights? Då har vi goda nyheter då DICE verkar jobba på att peta in ett sådant läge i kommande Battlefield V. Enligt källor till VentureBeat kommer spelläget inte vara tillgängligt vid release, utan ska komma som en gratisuppdatering vid ett senare tillfälle. Battlefield V är inte den enda stora actionpangaren som kommer få Battle Royale-läge. Det ryktas även att Call of Duty: Black Ops IIII kommer få ett sådant läge som plåster på såren för folk som vill spela något annat än multiplayer och zombieläget. Battlefield V har ännu inte presenterats officiellt, men EA och DICE lär visa upp det i samband med E3-mässan som drar igång i juni. Tumnagel
45.9°
0
The Verge tar en titt på Nintendo Labo Lite Garage-pill Inom kort släpps Nintendo Labo i staterna och The Verge har tagit en titt på den nya hårdvaran för att se vad man kan göra med kartongsystemet. Tumnagel
38.0°
0
iOS Spela Holochess i augmented reality Låtsas att du är jedi-riddare Förra året släppte Lenovo ett AR-headset med lite tillbehör som var helt dedikerat till lite olika Star Wars-upplevelser. I den tillhörande appen kunde man bland annat spela ett parti Holochess (Dejarik), det schackliknande spelet som vi fick se i Star Wars: Episode IV A New Hope. Disney och Lenovo har nu uppdaterat iOS-appen till Star Wars: Jedi Challenges så att det går att spela Holochess utan det tillhörande AR-headsetet. Skulle du vilja spela ett parti Holochess så hittas Star Wars: Jedi Challenges till iOS gratis på länken nedan. Skulle du vilja fajtas med lasersvärd så måste du dock fortfarande köpa Lenovos AR-kit till Star Wars. Tumnagel
39.0°
0
Croteam presenterar Serious Sam 4: Planet Badass AAAAAARHGH Croteam har under förmiddagen presenterat ett sprillans nytt spel i Serious Sam-serien. Spelet går under namnet Serious Sam 4: Planet Badass och utöver namnet så har gänget släppt en kort teaser för spelet som ni kan skåda ovan. Croteam har inte levererat några fler detaljer om spelet, men troligtvis kommer det vara lika hetsigt och intensivt som tidigare spel i serien. Gänget meddelade i alla fall att mer information kommer under E3. Tumnagel
47.2°
0
Alexa hjälper dig bli en bättre Call of Duty: WWII-spelare Ger tips och tricks Suger du i Call of Duty: WWII? Då har vi goda nyheter då Amazon Alexa har uppdaterats med ny funktionalitet som kanske kan göra dig till en bättre spelare. Spelare kan fråga Alexa hur deras senaste match gick och Alexa levererar då information om matchen i fråga och kan leverera lite tips på vad du kan tänka på under nästa runda. Alexa plockar information från spelet som din träffsäkerhet, hur du rör dig, hur långt ifrån fienden du brukar vara och förstås kill/death-ratio för att sammanställa tipsen. Tumnagel
33.3°
0
Platinum Games nästa spel är World of Demons Actionspel till mobilen Platinum Games har presenterat ett sprillans nytt spel vid namn World of Demons som företaget tagit fram tillsammans med DeNA. Spelet är ett actionspäckat hackx27nx27slash-lir likt Bayonetta och Devil May Cry, fast för mobiler. I World of Demons spelar du en samuraj som som måste slåss mot oni och yokai, vilket är övernaturliga bestar från japansk folktro. Det finns tre olika samurajer att välja mellan till en början och du får möjlighet att slåss mot över 80 olika fiender. Slåss gör man automatiskt genom att röra sig mot fienden och du har möjlighet att svepa över skärmen för att undvika fiendens attacker. I slutet av striderna måste du måla en symbol på skärmen för att leverera ett dödande slag, ungefär som i Okami. World of Demons kommer släppas i sommar till iOS. Android-versionen kommer senare. Tumnagel
36.8°
0
Videogamedunkey rymmer från fängelse i A Way Out Gameplaywise it's gonna be crazy! Videogamedunkey har lirat Hazelights A Way Out och har nu släppt en video där vi får se lite actionspäckade sekvenser från spelet. Tumnagel
40.5°
0
onsdag 18 april 2018 Yakuza 6: The Song of Life ute nu Häng med på Kazuma Kiryus sista resa igår var det tisdag och det betyder att Sony uppdaterade Playstation-butiken med lite nya godsaker. Den största nyheten var att Yakuza 6: The Song of Life lanserades och kan nu spelas av samtliga som är sugna på att avsluta Kazuma Kiryus resa. Spelet har fått rackarns bra kritik och på Metacritic har spelet fått 85 poäng som sammanställts från 80 olika recensioner av spelet. Yakuza 6: The Song of Life finns tillgängligt i Playstation-butiken, länk här nere till vänster, och i välsorterade spelbutiker. Tumnagel
38.2°
0
GOG drar igång spelrea med favoriter Med spel som ofta dyker upp på önskelistor GOG.com har dragit igång en ny spelrea och den här gången har gänget tagit en titt på användares önskelistor på plattformen för att leverera titlar till ett reducerat pris. Bland annat reas Witcher 3: Game of the Year Edition ut för 200 kronor, Grim Dawn kan du få för ynka 72 kronor och Banished kan bli ditt för 42 kronor. Flertalet andra spel hittar ni givetvis via länken här nere till vänster. Har ni några tips på spel man måste plocka upp så är det bara att plita ner några ord i kommentarsfältet. Tumnagel
39.3°
0
Surfa på kryptovalutors kurs i Crypto Rider Mobilspel baserat på kryptovalutors kursutveckling Att det snackas en hel del om kryptovalutor nu för tiden har en spelutvecklare utnyttjat att genom på sin fritid ta fram mobilspelet Crypto Rider vilket kretsar kring kursen runt olika kryptovalutor. I spelet ska man framföra sitt fordon över de kullar och dalar som uppstått när olika kryptovalutors kurs förändras. Det verkar mer eller mindre vara en Line Rider-klon där man använder valutakurser istället för förprogrammerade banor att spela på. Crypto Rider hittas gratis till iOS i App Store här och till Android på Google Play här. Tumnagel
38.5°
0
D&D-skapares opublicerade arbeten kan bli datorspel Gary Gygax arv kan dyka upp som spel Det är nu tio år sedan Gary Gygax dog och nu vill hans familj göra datorspel av Dungeons & Dragons-skaparens opublicerade arbeten. Gary Gygax son Alex Gygax leder arbetet säger till Polygon: "[My father] always had the intention of taking certain product lines and transferring them to the digital realm, it just never came to fruition. There are a few lines that he created specifically with that in mind. So published or unpublished, there’s definitely the digital realm in mind with these lines. It’s something that has been talked about for a very long time, and I’m really excited to get this underway." För att förverkliga projektet kommer Gygax Trust senare i år att försöka crowdfunda detta på crowdfunding-plattformen Fig. Fig är en plattform dedikerad för crowdfunding av spel. Till skillnad från de flesta andra crowdfunding-plattformarna får de som bidrar med pengar till spelet även ta del av den eventuella vinsten det färdiga spelet skulle ge utvecklarna. Dungeons & Dragons skapades av Gary Gygax och Dave Arneson på 1970-talet. Den första versionen släpptes 1974 och spelet anses vara starten på det "moderna" rollspelandet. Den senaste versionen av spelet, D&D 5th edition, släpptes 2014. Tumnagel
44.3°
0
Bilder på Xbox och Windows avatarer läckta Råkade läckas av före detta Microsoft-anställd Här är lite bilder som sägs föreställa konfigureringen av de avatarer som kommer att dyka upp på Xbox och Windows 10 framöver. Det ska handla om läckta bilder som en före detta Microsoft-anställd ska haft liggande i videoformat på en sida där han visade upp sina tidigare arbeten. Videon är nu bortplockad från YouTube men skärmdumpar som de i den här artikeln kommer givetvis att finnas kvar på nätet för alltid ändå. Det var under förra årets E3 som Microsoft visade upp de nya avatarerna och då sades det att dessa skulle bli tillgängliga till hösten 2017. Det datumet flyttades senare fram till att bli "någon gång under 2018". Tumnagel
35.9°
0
War Mode ersätter PVP i World of Warcraft: Battle for Azeroth Slåss bara när du vill slåss I höstas presenterades den nya World of Warcraft-expansionen Battle for Azeroth och i samma veva meddelade Blizzard att PVP-servrar kommer vara ett minne blott. Utvecklarna levererade ingen specifikt information om hur det nya PVP-liknande läget kommer se ut, men i samband med en frågestund med spelets game director Ian Hazzikostas har vi fått lite mer information om War Mode. Tidigare har World of Warcraft-servrar haft PVP avstängt eller på, men med Battle for Azeroth kommer PVP vara stängt på samtliga servrar. För att slåss mot fiender kommer War Mode behöva aktiveras, vilket du kan göra om du beger dig till din huvudstad, Orgimmar för Horde och Stormwind för Alliance. Därefter behöver du bara dra igång War Mode, vilket tar dig till en War Mode-server där du kan attackera, och bli attackerad av, andra spelare. Troligtvis lär Blizzard ha petat in ett nytt belöningssystem för War More, men informationen om denna är för tillfället obefintlig. Mer info lär dyka upp innan Battle for Azeroth släpps 14 augusti. Tumnagel
37.6°
0
Nästa Warframe-uppdatering är Beasts of the Sanctuary Ny karaktär och nytt spelläge på ingång Digital Extremes har levererat info om nästa stora Warframe-uppdatering som går under namnet Beasts of the Sanctuary. Uppdateringen kommer med två stora nyheter i form av nya spelläget Sanctuary Onslaught och nya Warframen Khora, som du låser upp genom att spela Sanctuary Onslaught. Det nya spelläget är ett överlevnadsläge där du och upp till tre andra spelare måste slåss mot horder av fiender som ständigt blir svårare: "Enter the portal to test the limits of your power against the battle-hardened beasts of the Sanctuary. Work together to survive the odds and recover the remains of a shattered Warframe" Den nya Warframe-dräkten Khora kommer med ett stycke piska som du kan använda för att skada fiender eller dra dem mot dig. Med Khora kommer du få tillgång till en ny kattliknande Kavat, läs pet, vid namn Venari. Beasts of the Sanctuary kommer släppas till PC i veckan och spelare på Xbox One och Playstation 4 får vänta till maj. Tumnagel
38.6°
0
Epic Games plockar bort guidade raketer i Fortnite Uppdatering hade sönder vapnet Epic Games petade nyligen in guidade raketer i Fortnite: Battle Royale som mottogs med blandade reaktioner. Många älskade det och andra kände genuint hat mot vapnet. I samband med den senaste patchen till spelet, v3.5, strulade Epic Games till det och i stället för att nerfa vapnet en aning så hade utvecklarna sönder animationer med vapnet vilket gjorde det oanvändbart. Vapnet plockades bort temporärt i helgen medan Epic jobbade på en buggfix, men nu har utvecklarna meddelat att vapnet är borta på obestämd tid. På Reddit skrev Epic Games detta om borttagningen: “We’ve gotten a lot of feedback around the Guided Missile, in particular concerns over fairness and strength of the weapon. We share your concerns, so we’ve put the Guided Missile into the vault while we figure out the next steps for its future.” Tumnagel
39.1°
0
Klå Kulve Taroth i Monster Hunter World med vänner Upp till 16 spelare behövs för att sänka besten Monster Hunter World har redan ett gäng bestar som kräver en hel del arbete och samarbete för att ta kål på. Nu tar Capcom lagspelandet till nya nivåer genom att introducera gammeldraken Kulve Taroth. För att sänka besten behöver du samarbeta med 15 andra spelare och under uppdraget delas ni upp i fyra grupper som måste koordinera era attacker. Capcom har inte levererat någon information om hur vi kommer vara tvungna att göra för att döda Kulve Taroth, men har i alla fall berättat att besten kommer droppa ett och annat värdefullt föremål: "The primary goal of this Siege is to repel Kulve Taroth, but its shimmering golden mantle happens to be a collection of shiny weapon relics it has gathered along its journey through the New World. We don’t have much information on when and where Kulve Taroth has amassed all these relics, so the nature and quality of these weapons (read: type and stats) are entirely up to fate." Eventet med Kulve Taroth kommer dra igång i natt, mer specifikt 02:00, och det är oklart hur länge eventet kommer hålla igång. Här nere har ni en video från Gaijin Hunter som pratar om den kommande uppdateringen. Tumnagel
38.1°
0
Mansions of Madness blir PC-spel Mer Lovecraft till folket! Lovecraft-inspirerade brädspelet Mansions of Madness släpptes 2011 och har sedan dess lyckats dra till sig ett ordentligt kultfölje. Nu verkar det som att spelet kommer nå ännu fler spelare då det kommer släppas som datorspel under första kvartalet nästa år. Spelet kommer heta Mansions of Madness: Motherx27s embrace och du kommer få kontrollera flertalet olika utredare som försöker lösa ett mysterium. Till skillnad från brädspelet så spelas PC-versionen på egen hand. Ovan har ni en kort teaser till spelet som inte ger oss mer än spelets titel. Tumnagel
40.1°
0
Black Ops IIII verkar inte ha traditionell singleplayer Full fokus på multiplayer och zombieläget Årets Call of Duty-spel är Black Ops IIII, men det verkar inte som att det kommer bli ett traditionellt Call of Duty-lir med en flådig singleplayerkampanj. Enligt Polygon kommer inte Black Ops IIII ha någon klassisk kampanj, utan det kommer bara skeppas med multiplayer samt zombieläge. Detta är aningen underligt då Black Ops-serien alltid haft en riktig matig storykampanj. Enligt Polygons källa beror detta på singleplayerkampanjen tog för lång tid att utveckla och kommer inte kunna färdigställas innan spelets release. Call of Duty: Black Ops IIII kommer släppas i oktober till PS4, Xbox One och PC. 17 maj kommer Activision hålla låda och berätta mer om spelet. Tumnagel
21.6°
0
tisdag 17 april 2018 Dark Souls Remastered till Switch skjuts upp Spelet och Amiibo kommer i sommar Dark Souls Remastered kommer släppas 25 maj till Playstation 4, Xbox One samt PC och det var även tänkt att Switch-versionen skulle släppas i samma veva. Nu har Bandai Namco berättat att Switch-versionen kommer släppas senare i sommar. Bandai Namco meddelar även att detta också gäller den tillhörande Amiibo-figuren Solaire of Astora som skulle släppas i samband med Switch-versionen. Tumnagel
34.3°
0
MapleStory 2 kommer släppas globalt Betatest drar igång i maj MapleStory 2 släpptes i Sydkorea 2015, men snart kommer folk runt om i världen kunna lira spelet. Distributören Nexon America meddelade att spelet kommer släppas globalt i år och innan dess kommer gänget köra ett stängt betatest. Betatestet av MapleStory 2 kommer dra igång 9 maj och kommer kunna spelas av folk i Europa, Amerika och Oceanien. För att få tillgång till betatestet behöver ni bara klicka på länken här nere till vänster och följa instruktionerna. Tumnagel
38.1°
0
EA lovar ändring efter Battlefront-kontrovers Har lärt sig efter lootbox-hetsen The Verge tog nyligen ett snack med EA-chefen Patrick Söderlund för att prata om lite strul som skedde i samband med releasen av Battlefront II. Mer specifikt pratades det om pay-2-win-tänket och lootlådor i allmänhet. Patrick Söderlund, som nyligen befordrats till chief design officer, berättar för The Verge att systemet som implementerades i Battlefront II i slutändan skadade spelet och att EA lovar ändring i framtiden. Mer specifikt sade Söderlund detta: "Ix27d be lying to you if I said that whatx27s happened with Battlefront and whatx27s happened with everything surrounding loot boxes and these things havenx27t had an effect on EA as a company and an effect on us as management. We can shy away from it and pretend like it didnx27t happen, or we can act responsibly and realize that we made some mistakes, and try to rectify those mistakes and learn from them." Hur EA:s ändrade synsätt kommer påverka framtida spel är för tillfället oklart, men företagets förkärlek till lootlådor verkar tack och lov ändrats. Kommande Battlefield V och Anthem kommer inte ha några lootlådor som ger dig någon edge i spelet, utan kommer endast bestå av kosmetiska ting. Hela intervjun med Patrick Söderlund hittar ni via länken här nere till vänster. Tumnagel
41.2°
0
SEGA-klassiker på gång till Nintendo Switch Sonic the Hedgehog med flera kommer i sommar SEGA ser ut att fortsätta att spinna på retrotrenden. Nu har företaget meddelat att man kommer att släppa ett gäng med klassiska SEGA-titlar till Nintendos modulära spelkonsol Switch i sommar. Totalt handlar det om 15 stycken spel som kommer att släppas med paketnamnet "Sega Ages". Det handlar om titlar som bland annat Sonic the Hedgehog, Phantasy Star, Alex Kidd in Miracle World, Gain Ground och Thunder Force IV. Spelen ska gå att köpa i paket eller som enskilda titlar. Det finns än så länge inga uppgifter om vad det kommer att kosta. Tumnagel
43.3°
0
Konami presenterar Castlevania: Grimoire of Souls Spöa Dracula i telefonen Det har varit tyst på Castlevania-fronten sedan Lords of Shadow 2 lanserades 2014, men nu verkar det vara dags att blåsa nytt liv i spelserien. Konami har nämligen presenterat Castlevania: Grimoire of Souls. Spelet utspelar sig i framtiden där Dracula varit död sedan länge och det råder fred. Allting verkar vara frid och fröjd tills ett brev anländer till en av spelets hjältar, Genya Arikado, där det står att Dracula kommer återuppstå. För att klå Dracula och diverse andra monster får Genya hjälp från sin kumpan Lucy och det ska även vara möjligt att spela som klassiska Castlevania-karaktärer som Alucard, Simon, Charlotte, Shanoa och Maria. Nu kanske ni tänker "det här är ju helt fantastiskt! Satan i gatan vad pepp jag på att få spela detta på PC/Xbox One/PS4", men så är inte fallet. Grimoire of Souls är ett mobilspel som för tillfället endast kommer släppas i Japan. Ett stängt betatest av spelet kommer dra igång i mitten av maj. Förhoppningsvis kommer liret anlända till mobila enheter i Europa inom kort. Tumnagel
37.0°
0
Kingdom Hearts III kommer ha Game & Watch-minispel Hej retro! Square Enix har släppt en ny trailer för Kingdom Hearts III som visar lite minispel vi kommer kunna lira i spelet. Enligt KH Insider kommer vi kunna lira över 20 Game & Watch-liknande minispel som inspirerats av Disney-karaktärer av olika slag. Kingdom Hearts III kommer släppas senare i år. Ovan har ni en trailer för de klassiska miniliren. Tumnagel
38.4°
0
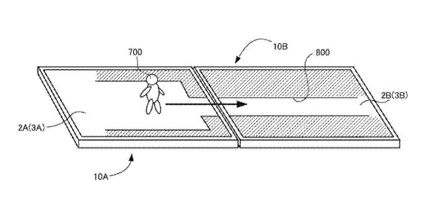
måndag 16 april 2018 Nintendo-patent beskriver rolig lösning med flera skärmar Ser lite galet ut Digital Trends har grävt upp ett patent som Nintendo ansökte om i april förra året. I patentet visar Nintendo upp en slags lösning där flera skärmar är integrerade med varandra. I patentet ser det ut som om man kopplar ihop skärmarna till flera switch-konsoler, eller mobiltelefoner, för att sedan använda dessa som en gemensam spel- eller arbetsyta. Ett lite enklare koncept syns ovan där det verkar som om man till exempel skulle kunna spela Super Mario eller något annat på en lite längre skärm. Ett lite mer avancerat koncept nedan där man byggt ihop en halv kub med tre stycken skärmar. Enligt patentet skulle det vara teoretiskt möjligt att koppla ihop hur många skärmar som helst även om detta kanske visar sig lite svårare att genomföra i praktiken. Tumnagel
39.4°
0
Spelare verkar inte bry sig om crossplatform-spelande Undersökning visar meh-känslor GameTrack gjorde en undersökning i slutet av 2017 där europeiska spelare fick svara på frågor om crossplatformspelande. Resultatet blev, lite oväntat, att spelare inte riktigt bryr sig om möjligheten att spela tillsammans oavsett vilken plattform de spelar på. Mer specifikt svarade 58 procent av deltagarna att de inte bryr sig om att kunna spela mot vänner på andra plattformar än sin egen. 34 procent var positiva till sådant spelande medan 8 procent visade negativa känslor till crossplatform. Hittills är det endast ett fåtal spel som har stöd för crossplatform. Bland annat kan nästan alla Fortnite: Battle Royale-lira med varandra, om de inte sitter på Xbox One, och Rocket League kommer få crossplatform stöd senare i år. En av anledningarna till att fler spel inte har stöd för delad glädje är att Sony inte verkar vilja leka med Microsoft, vilket gör livet lite surt för oss spelare. Eller tydligen inte då majoriteten av oss inte riktigt bryr sig om möjligheten att spela tillsammans. Tumnagel
34.9°
0
God of War är världens näst bästa PS4-spel Enligt Metacritic God of War är ett riktigt bra lir och har fått riktigt stabila betyg från kritiker. Spelet har fått så pass positiv respons att det snabbt hamnade i toppen av Metacritics lista över PS4-spel. Mer specifikt ligger spelet på andraplats med 95 poäng. På förstaplats ligger Grand Theft Auto V med 97 poäng. Ovan har ni en ny bakom kulisserna-video där vi får se en glimt av hur Kratos resa innan spelet har sett ut. God of War släpps 20 april. Tumnagel
45.8°
0
Football Manager Touch 2018 släppt till Nintendo Switch Rodda fotbollslag på switchen SEGA släpper nu Football Manager Touch 2018 till Nintendo Switch och man säger själva att det kommer att ge Nintendo-spelare deras "most immersive football simulation ever". Spelet ska gå att spela med både Switch handkontroller, då så kallade joy-cons, eller via touchgester på konsolens skärm. Spelet ska inkludera lag från över hundra stycken professionella fotbollsligor runt om i världen. Football Manager Touch 2018 till Nintendo Switch hittas i Nintendos eShop och kostar 350 kronor. Här nedan hittar ni en recension från SwitchWatch av spelet. Tumnagel
38.4°
0
CD Projekt Red kommer göra om Gwent rejält “We have never accepted ‘good enough’ at our company” Witcher-baserade Gwent kommer släppas senare i år, men innan dess kommer det ske en rejäl förändring i spelet. Utvecklarna CD Projekt Red meddelade detta nyligen i ett långt blogginlägg där gänget kallar övergången för Gwent Homecoming. I inlägget skriver CDPR bland annat detta: "We have never accepted ‘good enough’ at our company. We have always taken risks and made bold decisions if we believed they would result in a better game. And, you’ve guessed it, we’ve just made one now." Ändringarna kommer ske under de kommande sex månaderna och resultatet kommer göra Gwent mer kopplat till The Witcher-spelen samt att spelet kommer bli med tävlingsinriktat. Bland annat kommer kort få olika buffs beroende på vilken rad korten placeras på, korten och brädet kommer få en ny design med mer fokus på Witcher-konst och utvecklarna kommer även förbättra mynt-mekaniken i början av matchen. När CD Projekt Red känner sig färdiga med uppgraderingarna kommer gänget släppa singleplayerkampanjen Thronebreaker. Hela inlägget om Gwent Homecoming hittar ni via länken här nere till vänster. Tumnagel
39.5°
0
Sega bekräftar remasters av Shenmue 1 och 2 Kommer till PC, PS4 och Xbox One senare i år Sega överraskade i helgen genom att meddela att remastrade versioner av Shenmue 1 och 2 kommer släppas senare i år till PC, Playstation 4 och Xbox One. Spelen kommer levereras i ett paket och kommer enligt Sega vara nära originalspelen när det kommer till gameplay. Rent grafiskt så kommer spelet kunna spelas på högre upplösningar och få tillgång till ett uppdaterat gränssnitt. Du kommer även ha möjlighet att lira med det klassiska kontrollschemat eller köra med ett uppdaterat sådan. En trailer för Shenmue-paketet har ni ovan. Tumnagel
40.8°
0
Billy Mitchell släpper uttalande om spelrekord Har diskats från Twin Galaxies och Guinness Förra veckan blev det känt att spelmästaren Billy Mitchell kanske kan vara en bedragare. Rekordgranskarna Twin Galaxies meddelade nyligen att det inte var möjligt att nå Billy Mitchells rekordpoäng om man inte kör på en modifierad arkadmaskin, vilket gjorde att Twin Galaxies diskvalificerade flertalet spelrekord som Mitchell hade, vilket även Guinness World Records gjorde. Nu har Billy Mitchell levererat svar på tal via Old School Gamer Magazine där han säger att han kommer motstrida Twin Galaxies undersökning med en egen sådan för att bevisa att han förtjänat sina rekordtitlar. I videon ovan kan ni se Mitchells hela uttalande. Tumnagel
30.2°
0
Terraria: Otherworld skrotas Det blir ingen uppföljare till Terraria Terraria lanserades primärt 2011 och lyckades imponera på både kritiker och vanliga dödliga. Spelet har sedan dess släppts på flertalet plattforma som bland annat Xbox One, PS4, Wii U samt mobila operativsystem. Utforskarliret blev en så pass stor succé att utvecklaren Re-Logic för tre år sedan meddelade att spelet kommer få en uppföljare i form av Terraria: Otherworld. Tyvärr verkar det inte som att spelet kommer bli verklighet. Re-Logic meddelade detta via spelets forum där de skriver att det helt enkelt inte finns tid att färdigställa spelet för tillfället. Mer specifikt outsourcades utvecklingen av Otherworld till 505/Pipeworks, men efter en statusbedömning upptäckte Re-Logic att utvecklarna är på tok för långt från mållinjen. Re-Logic skriver detta: "Taking the massive amount of work that would be remaining to complete along with the extensive time it would take to get that done, and how that would greatly interfere with the pursuit of other projects on behalf of Re-Logic – it becomes clear that this leaves things in a very undesirable state." Allt arbete har dock inte varit förgäves. Arbetet som 505/Pipeworks gjort i form av design, kod, konst samt ljud kommer att kunna användas i framtida titlar. Tumnagel
34.2°
0
Sega presenterar Sega MegaDrive Mini En liten Sega Genesis I år är det 30 år sedan Sega släppte sin spelkonsol Genesis, även känd som MegaDrive, och det uppmärksammar Sega genom att släppa en Sega MegaDrive Mini. Det finns inte så mycket uppgifter tillgängliga om MegaDrive Mini men det verkar handla om en modernare och mindre version av Genesis. Spelkonsolen antas komma förladdad med ett antal spel men exakt vilka dessa är verkar för tillfället lite oklart. Sega MegaDrive Mini släpps i Japan någon gång i år. Huruvida även vi utanför Japan kommer att få möjlighet att köpa konsolen framgår inte för tillfället. Tumnagel
45.8°
0
Nintendo vill ha fler tillbehör till Switch Letar efter företag som vill göra dessa Nintendo har tillsammans med företaget Scrum Ventures dragit igång ett program där man letar efter företag som vill tillverka tillbehör till Nintendos populära spelkonsol Switch. Man kallar initiativet för "Nintendo Switch + Tech" och man verkar framför allt vara ute efter att ta fram hårdvarurelaterade tillbehör till den modulära spelkonsolen. Nintendo släpper själva sina tillbehörskit Labo till Switch om några dagar och jag antar att det är något liknande dessa som Nintendo vill att även andra företag ska hitta på och utveckla. Nintendo Switch + Tech verkar som sagt mest riktat mot hårdvarutillverkare men man tar även emot förslag på mjukvarabaserade lösningar. Dessa ska dock ej vara spelrelaterade så försöker man pitcha in en spelidé för Nintendo Switch så är detta inte rätt forum. Tumnagel
39.8°
0
1 miljon exemplar av A Way Out har sålts Mer än vad spelet väntades sälja under sin livstid EA verkar ha stenkoll på vad spelarna vill ha. Typ som att vi inte vill ha flådiga singleplayeräventyr, eller storydrivna spel i allmänhet. Speldistributören hade tidigare tippat att Josef Fares och Hazelights nya spel A Way Out skulle säljas i 900.000 exemplar under hela sin livstid, men ack så fel EA hade. Spelet har sålts i 1 miljon exemplar sedan spelets release för tre veckor sedan. Tumnagel
71.4°
0
fredag 13 april 2018 Digital Foundry tar en titt på God of War Hur skiljer sig versionerna till PS4 Pro och PS4? God of War släpps nästa vecka och om du funderar på att uppgradera till Playstation 4 Pro innan dess så kanske denna video kan vara intressant. Digital Foundry har tagit en ordentlig titt på spelet för att se hur det presterar på PS4 och PS4 Pro samt vad utvecklarna har petat in för flådiga detaljer i spelets design. God of War släpps 20 april. Tumnagel
38.7°
0
Lyssna på soundtracket till God of War Få feeling innan release God of War släpps om en vecka, men känner du redan nu att du behöver stilla din God of War-hunger? Då har vi goda nyheter då soundtracket till spelet har släppts på Spotify. För att fortsätta på det musikaliska temat har Sony även släppt en featurette för God of War där musikproducenten Peter Scaturro pratar om musiken i spelet. För att dra igång albumet så behöver ni bara klicka på play-ikonen i Spotify-rutan här nere. Tumnagel
37.7°
0
Conan Exiles firar release med ny trailer Lämnar Early Access 8 maj Efter 14 månader som Early Access-spel har Funcom bestämt att släppa Conan Exiles ordentligt. Släppdatumet är 8 maj och då kommer du kunna lira spelet på PC, Xbox One och Playstation 4. För att fira detta har gänget släppt en trailer för spelet som visar några highlights från det kommande överlevnadsspelet. Tumnagel
38.0°
0
Nästa sida + Per månad 39 kr Betala löpande per månad. Ingen bindningstid. Starta prenumeration Per år 299 kr Enklast och billigast, bara 25 kronor i månaden. Betala löpande per år. Ingen bindningstid. Prova 14 dagar gratis innan du bestämmer dig. Starta gratis provperiod Engångsköp 349 kr Slipp återkommande betalningar, betala ett år i taget. Betala med kort eller Swish. Köp utan prenumeration