Teknik Motor Samhälle Spel Popkultur Fritid Tjock Tester Dagens fråga Tipsa! Skaffa Feber+
Hetaste
Senaste
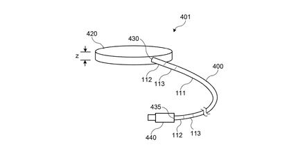
Alla Heta Kalla Öppna i ny flik måndag 8 februari 2021 fortsättning Apple ansöker om patent på teknik för hållbarare sladdar Så att dessa inte nöts ut lika lätt AppleInsider skriver om en ny patentansökan från Apple där de vill patentera teknik som kanske gör att kablar inte går sönder i den sektionen mellan kontakterna och/eller prylen som finns i kabelns andra ände. Apple tänker sig i sitt patent att den delen av kabeln som är närmast kontakten ska bestå av olika sektioner med material av olika hårdhetsgrad. Detta skulle kunna göra att den delen av kabeln som idag kan börja nötas ut vid kontakten skulle avlastas och inte gå sönder lika lätt. Det här skulle dock innebära att den sektionen av kabeln kanske inte blir lika flexibel och kanske skulle göra till exempel batteriladdar-sladdar mindre smidiga att rulla ihop. Som vanligt när det gäller patentansökningar och patent så finns det inga konkreta uppgifter på att Apple faktiskt håller på och utvecklar kablar som inte nöts ut på samma sätt som många kablar kan göra idag. Tumnagel
43.4°
0
Microsoft kommer avinstallera gamla Edge 13 april Kommer ersätta med Chromium-baserade Edge Microsofts webbläsare har erbjudit en rätt varierad upplevelse på kvalitetsfronten, men de har ändå använts någorlunda frekvent av folk som inte velat eller kunnat uppgradera. Nu tar Microsoft beslutet om vilken webbläsare Windows 10-användare ska köra och kommer med april-uppdateringen att plocka bort gamla webbläsaren Edge från användares datorer och ersätta denna med nya Chromium-baserade Edge. För folk som redan använder Chromium-baserade Edge kommer Windows 10-uppdateringen förstås inte påverka allt för mycket. Tumnagel
50.7°
0
StarLink uppger att de redan har 10.000 användare SpaceX rymdinternet verkar vara populärt SpaceX uppger i en skrivelse till den amerikanska myndigheten FCC att deras rymdinternet-tjänst StarLink redan har 10.000 användare. StarLink började erbjuda en betaversion av tjänsten i oktober förra året vilken rönt intressen bland en del boende i USA och Kanada. För att kunna använda StarLink behöver användarna ett startpaket med en satellitmottagare och en router som kostar 500 dollar. Därefter kostar tjänsten 100 dollar i månaden att använda. I sin skrivelse till FCC skriver StarLink vidare att användarna av tjänsten har en nedladdningshastighet på 100Mbps och en uppladdningshastighet på 20Mbps. De flesta användare ska ha en latens på 31 millisekunder eller lägre. I dagsläget består StarLink av över tusen satelliter men SpaceX har tillstånd att bygga ut nätverket till över 11.000 satelliter. Någon gång runt 2024 tror man att StarLink kommer att bestå av cirka 4400 satelliter. Tumnagel
46.5°
0
Nu är det vinter i hela Sverige Det har inte hänt på sju år Expressen rapporterar att det sedan 2:a februari nu är metrologisk vinter i hela Sverige, något som inte har skett på sju år. För att det ska räknas som metrologisk vinter krävs att dygnsmedeltemperaturen är under 0 grader fem dagar i rad. Detta har inte skett i Skåne sedan 2014 men 1 februari anlände den metrologiska vintern även till Skåne för första gången på sju år. Vintern runt de norra topparna av Öland och Gotland, samt Gotska sandön, fick dock inte metrologisk vinter förrän 2 februari men sedan dess har det varit vinter i hela Sverige. Det verka även som om vintern kan hålla i sig ett tag. Per Holmberg, meteorolog på väderinstitutet Storm, säger till GT: "Med tanke på hur det ser ut just nu, att lågtryck och högtryck lagt sig stationärt, är det inte mycket som talar för att det ska ruckas och bli en ändring i systemen, kanske inte på ett par veckors sikt." På länken nedan kan ni kolla in när det blev metrologisk vinter i Sveriges olika delar enligt väderdata som samlats in av SMHI. Gillar du vintern? Svara gärna på vår enkät nedan. Tumnagel
46.1°
0
NASA och Firefly Aerospace ska testa grejer på månen Blue Ghost åker dit 2023 NASA har meddelat att man har gett det amerikanska rymdföretaget Firefly Aerospace i uppdrag att utveckla en farkost som man planerar att landa på månen 2023, något som företaget kommer att få 93 miljoner dollar för att göra. Landningen ses som en förberedelse inför den månlandning där NASA planerar att landa en man och en kvinna på månen 2024. Firefly Aerospace obemannade farkost Blue Ghost kommer att ha med sig tio olika instrument och är tänkt att landa i ett område som kallas för Mare Crisium. Instrumenten på Blue Ghost kommer bland annat användas för att mäta solvindar och strålning på månen såväl som att borra hål i månens yta för att undersöka termiken där. Firefly Aerospace är ett av de nio privata rymdföretag som sedan 2018 ingår i NASA:s program Commercial Lunar Payload Services (CLPS). Det är ett program vars syfte är att involvera privata företag för att NASA snabbare ska kunna utforska månen. Tumnagel
38.5°
0
Nvidia kräver transparens från laptoptillverkare om RTX 30-kort Måste nu skriva ut klockhastighet Gaminglaptopsfären är lite av en djungel just nu, men Nvidia vill försöka hjälpa konsumenterna att ta rätt beslut. Detta genom att kräva laptoptillverkare att skriva ut klockhastigheter för RTX 30-korten som används i gaminglaptops. Problemet med RTX 30-serien är att det finns flera olika varianter av korten, varav några har klockats ner ordentligt för att kunna användas i laptops. Detta har lett till att vissa laptops utrustade med RTX 3070 har presterat bättre än laptops som kör RTX 3080. Tidigare har Nvidia löst detta genom att märka laptopkorten med Max-Q-stämpel, men då Nvidia bestämt sig för att paketera om Max-Q till något som inte har med kortets kapacitet att göra så kan detta inte längre användas för att hjälpa konsumenten. Till The Verge säger Nvidia detta om ändringen: “We’re requiring OEMs to update their product pages to the Max-Q technology features for each GeForce laptop, as well as clocks and power — which communicates the expected GPU performance in that system." Så, om ni ska köpa gaminglaptop i framtiden, så får ni hålla utkik efter klockhastigheter och sådant. Tumnagel
47.2°
0
Martin byggde ett eget rymdobservatorium i sitt hönshus Kolla in New Old Onsala Observatory I Onsala utanför Kungsbacka driver Chalmers Onsala rymdobservatorium men nu finns det även ett lite mindre observatorium i samma trakter. Här ovanför kan ni kolla in ett inslag från SVT när de gör besök hemma hos ingenjören Martin Svensson som har byggt ett eget rymdobservatorium i ett gammalt hönshus. Observatoriet har fått namnet "New Old Onsala Observatory" och under byggnades skjutbara tak döljer sig ett tio tums spegelteleskop som Martin använder för att fotografera utvalda delar av universum. New Old Onsala Observatory är helautomatiserat och går att styra via nätet utan att Martin själv behöver finnas på plats. Tumnagel
60.1°
0
OnePlus 9 ryktas få Hasselblad-kamera Dekaltrim? OnePlus-flaggskeppen har haft bra kameror, men kamerorna har inte levererat samma höga resultat som konkurrenterna. Nu verkar det bli ändring på den fronten då nya rykten pekar på att OnePlus jobbar med anrika kameramakarna Hasselblad för att leverera en ny kameraupplevelse. Youtubern Dave 2D har lagt vantarna på vad som kan vara OnePlus 9 Pro med Hasselblad-logga på kameramodulen, men vi får inte riktigt reda på vad samarbetet kommer göra för kameraupplevelsen. Vi håller tummarna att nästa OnePlus får en kalasbra kamera och att detta inte gör att priset på 9 bara blir högre. Dave 2D:s video om det hela har ni ovan. Tumnagel
40.8°
0
Tianwen-1 skickar hem en bild på Mars Snart landar Kina på den röda planeten för första gången Nu börjar Kinas Mars-farkost Tianwen-1 närma sig den röda planeten. Inför det har Kinas rymdmyndigheter CSNA släppt en svartbild på Mars som farkosten fotograferade när den befann sig på cirka 2,2 miljoner kilometers avstånd från planeten. Tianwen-1 lämnade jorden i juli förra året och förväntas lägga sig i Mars omloppsbana nu på onsdag. Någon gång i maj är det tänkt att man ska försöka landa på planeten och landsätta en rover. Den ska börja utforska ett område som kallas Utopia Planitia som ligger i Mars norra hemisfär. De kommande veckorna kommer att bli spännande för Mars-fantaster då även Förenade Arabemiratens Hope-farkost kommer att anlända dit inom kort så väl som NASA:s Mars 2020-farkost. Tumnagel
43.6°
0
söndag 7 februari 2021 Ta dina Edge-lösenord till mobilen Authenticator-appen uppdaterad med efterlängtad funktionalitet Microsoft har uppdaterat sin Authenticator-app så autofyll-funktionaliteten för lösenord nu fungerar på iOS och Android. Det innebär att alla inloggningsuppgifter du har sparat i Edge via ditt Microsoft nu kan användas i mobilen. Microsoft har även slängt in ett autofyll-tillägg för Chrome om man nu vill ha sina lösenord sparade i Edge men använda dem i Chrome. Nya uppdateringen för Authenticator ger användare också möjlighet att importera inloggningsuppgifter från Chrome och andra lösenordshanterare samt CSV-filer. Tumnagel
40.7°
0
Rykte Apples första VR-headset kan bli dyrt Riktigt dyrt Rykten har länge florerat länge kring att Apple har ett VR- eller AR-headset på gång. Enligt en ny rapport från The Information kan Apple först släppa ett VR-headset för en lite dyrare prislapp. Detta headset sägs bli en lyxprodukt och ha två 8K-skärmar samt prestanda som matchar deras M1-processorer. Enligt rapporten så använder i alla fall en av headsetet som Apple just nu testar mer än ett dussin kameror som då ska hålla koll på rummet man befinner sig i och hur man rör sig. Headsetet sägs också använda sig av samma lidar-sensor som Apple slängt in i nyare iPhone- och iPad-modeller. Ögonspårning och utbytbara pannband ska också vara något som headsetet kommer ha. Detta headset kommer, enligt rapporten, inte massproduceras utan kommer vara en mer nischad produkt för folk som har lite pengar över då prislappen sägs bli runt 3 000 dollar. Rapporten nämner också att Apple, vid ett senare tillfälle, kan komma att släppa ett AR-headset med en mer konsumentvänlig prislapp. Vad nu "en mer konsumentvänlig prislapp" innebär för Apple återstår att se. Som så ofta med sådana här rykten får man väl ta det hela med en nypa salt fram tills man ser något mer konkret kring detta. Tumnagel
34.6°
0
lördag 6 februari 2021 Rykte Apples bilsamtal med Hyundai har lagts på is Sägs också föra samtal med andra biltillverkare Bloomberg är i farten med sina Apple-rykten igen och denna gång meddelar de att Apple nu har pausat samtalen med Hyundai Motor angående Apples beryktade bilplaner. Förra månaden började det nämligen surras om att Apple hade börjat prata med den sydkoreanska biltillverkaren om en eventuell bil men enligt en anonym källa som Bloomberg pratat med så ligger dessa samtal nu på is. Samma källa meddelar också att de har fört samtal med andra biltillverkare vilket låter rätt väntat. Varken Apple eller Hyundai Motor har än så länge inte kommenterat dessa rykten. Tumnagel
38.7°
0
Rykte Google vill minska spårningen i Android Vill tillgodose efterfrågan för ett bättre integritetsskydd Bloomberg rapporterar om nya rykten som säger att anonyma källor inom Google att de har planer på att göra det enklare för Android-användare att undvika bli spårade av diverse trackers och dylikt. Detta skulle i så fall se till att begränsa spårningen som sker mellan Android-appar och webbplatser. Samma rykte säger dock att Google inte planerar att vara lika strikta när det gäller integriteten som det systemet som Apple rullar ut med iOS 14.5. Då Google drar in mer än 100 miljarder dollar per år på annonsintäkter vill de få till ett system som är en gyllene medelväg mellan den ökade efterfrågan för ett bättre integritetsskydd och de som köper riktad reklam. Google själva har ännu inte kommenterat dessa rykten. Tumnagel
38.2°
0
fredag 5 februari 2021 Razer släpper Huntsman V2 Analog Med rätt avancerade brytare Razer har presenterat en ny version av tangentbordet Huntsman som kommer med rätt intressanta brytare. Razer kallar brytarna för Analog Optical Switches och de nya brytarna ger dig precis så mycket kontroll du skulle vilja ha. Brytarna har två aktiveringspunkter på 1,5 respektive 3,6 millimeter som du kan använda för olika inputs, vilket betyder att du till exempel kan ta fram en granat vid första aktiveringspunkten och kasta denna vid andra punkten. Brytarna har även analog input, vilket låter dig använda knapparna likt en joystick på en handkontroll. Den analoga funktionaliteten ska lira med alla spel som har stöd för handkontroller och man har möjlighet att justera de olika aktiveringspunkterna via mjukvaran Razer Synapse. Utöver detta är tangentbordet utrustat med doubleshot PBT-knappar som ska kunna användas länge utan att de slits ut. Vidare har tangentbordet dedikerade mediaknappar och ett vridreglage för volym. Utöver det följer ett handledsstöd av fejkläder som fästs till tangentbordet med magneter samt USB 3.0-passthrough. Sedan har tangentbordet givetvis fullt Chroma-stöd. Razer Huntsman V2 Analog går att köpa nu via Razers hemsida och priset ligger på 269 euro. Tangentbordet kommer även dyka upp i elektronikbutiker inom en snar framtid. Tumnagel
39.2°
0
Telia börjar avveckla 3G-nätet Väntas vara helt borta 2023 3G-nätet har mer eller mindre gjort sitt i vårt avlånga land och det är dags att blicka framåt. Telia har nu meddelat att företaget börjat avveckla det gamla nätet, inklusive 2G-nätet, för att göra utrymme för 4G och 5G. Enligt Telia kommer avvecklingen av 3G-nätet vara färdigt 2023 och avvecklingen av 2G-nätet väntas vara klart 2025. Utöver att modernisera nätet är en av anledningarna till avvecklandet att det handlar om utrustning som blir allt äldre och det börjar bli svårt att få tag på rätt utrustning samt reservdelar. Tumnagel
43.5°
0
Mrwhosetheboss tar titt på de olika varianterna av S21 Ultra Snapdragon 888 vs Exynos 2100 Samsung har sedan en tid tillbaka släppt två versioner av sina flaggskeppslurar. Mer specifikt har S- och Note-enheter som släppts i Sverige kört Samsungs egna Exynos-kretsar, medan telefonerna som sålts i USA fått Snapdragon-processorer. Samsung hävdar gång på gång att det inte är någon skillnad på dessa rent prestandamässigt, men detta har motbevisats gång på gång. Nu har Mrwhosetheboss släppt en ny video där han jämför S21 Ultra med Exynos 2100 med Snapdragon 888-försedda S21 Ultra. Resultatet är lite varierat. I rena prestandatest när båda versioner presterar till max är det inte någon jättestor skillnad, Snapdragon-versionen presterar lite bättre i dessa tester med en skillnad på runt 3 procent. Detta är helt okej, men visar inte hela sanningen. Ett problem med Samsungs processorer är att de presterar betydligt sämre när processorn blir varmare, vilket händer om man kör flera benchmarktest direkt efter varandra eller spelar grafiktunga spel under längre perioder. Samma gäller med Exynos-försedda S21 Ultra som presterar betydligt sämre när enheterna testas rullande och Snapdragon-försedda S21 Ultra får 19 procent bättre resultat. Prestandan är inte det enda som skiljer sig. Även kameraupplevelsen är lite olika beroende på vilken version man har. Snapdragon-varianten verkar vara betydligt bättre på att fånga detaljer än Exynos-varianten, men Exynos är stabilare på videofronten. Allt som allt. Exynos 2100 är den bästa systemkretsen Samsung levererat och är närmare Snapdragon än aldrig förr. Men Snapdragon 888 presterar bättre och S21 Ultra med Snapdragon är kort och gott än bättre telefon. Tumnagel
36.0°
0
Xiaomi visar telefon med böjda skärmkanter Endast koncept just nu dock Xiaomi visar här upp sitt nya telefonkoncept som har böjd skärm åt alla fyra håll av telefonen. Detta ska ge telefonens skärm en oändlighetskänsla men innebär också att det inte finns något utrymme för portar och sådant. Som man kan se exkluderas dock telefonens kanter från denna oändlighetsskärm. Oklart om detta är något vi får se i framtida Xiaomi-telefoner men konstigare saker har skett så detta lär väl bli verklighet förr eller senare. Förra veckan visade Xiaomi upp sitt trådlösa laddningssystem "Mi Air Charge" något som antagligen passa denna telefon då den då sannolikt endast kommer gå att ladda trådlöst. Under början av nästa vecka kommer Xiaomi visa upp sin mer konventionella telefon Mi 11. Tumnagel
32.6°
0
Samsung S21 Ultra har bättre kamera än iPhone 12 Pro Max Om man får lita på ett blindtest Max tog med sig iPhone 12 Pro Max och Samsung Galaxy S21 Ultra ut och tog en massa bilder. Sedan visade han dem för Vadim och Angelika som fick välja vilka bilder de gillade bäst, utan att veta vilken telefon som hade tagit vilken bild. Resultatet blev en seger för Samsung med 18/10 respektive 17/11 i resultat. En stor anledning är att zoomen på Samsungkameran är så mycket bättre. Om du kollar på videon ovan, kommentera gärna hur resultatet blev för er! Tumnagel
36.5°
0
Datum för USB och strömbrytare till IKEAs Åskväder! Och lite annan information Vi skrev om Ikeas Åskväder i måndags och testade det i onsdags. Ni hade lite frågor, så självklart ser vi till att ni får svar. En stor fråga var hur många enheter som går att koppla ihop och svaret är maximalt tio styckengrenuttag. Ett dubbelt grenuttag är alltså två och en sladd räknas inte, men det gör ett USB-uttag. Dock får den maximala längden vara tio meter. Maximala kraften är 3680 Watt. På tal om USB-uttag så kommer dessa någon gång mellan april och juni. Strömbrytaren kommer i april och denna slår så klart på och av strömmen om man trycker på den, men denna går också att koppla till Trådfri-routern och man kan alltså styra den där. Smidigt! Man säger också att det inte ska räknas som en fast installation. Kolla in vår video om Ikeas Åskväder här! Tumnagel
47.5°
0
Porrfiltret i iOS blockerar allt asiatiskt Ordet asian anses nämligen lite för snuskigt I iOS finns det inställning där du kan blockera "webbplatser för vuxna" så man inte behöver se något snusk i telefonen. Detta filter är dock inte helt jättebra då det bland annat blockerar alla länkar som har ordet "asian" i sig. Som bekant är ju asian det engelska ordet för asiatiskt och ett ord som används flitigt utanför snuskiga sammanhang. Exempelvis en sökning på "asian cooking" skulle inte ge några resultat. Andra etniska söktermer blockeras inte av filtret. Värt att påpeka är att detta inte är någon nyhet då en iOS-utvecklare vid namn Steven Shen påpekade detta problem till Apple redan i december 2019 utan någon respons. Tumnagel
31.1°
0
Razer visar upp rejäl dockningsstation Thunderbolt 4 Dock ger dig allt du behöver och RGB! Är du på jakt efter en dockningsstation med Thunderbolt 4 till din laptop? Då kanske Razers nya Thunderbolt 4 Dock Chroma kan vara intressant. Den rent designade dosan är utrustad med fyra Thunderbolt 4 USB-C-portar, tre USB-A 3.2 Gen 2, en ethernet med gigabithastighet, minneskortläsare och 3,5mm-port för headset. Via Thunderbolt 4-portarna kan du koppla in två 4K-skärmar med 60Hz eller en 8K-skärm med 30Hz. När det kommer till strömförsörjning kan enheten försörja laptop med upp till 90W PD. Razer Thunderbolt 4 Dock Chroma kommer börja säljas via Razers hemsida inom kort och priset kommer ligga på 329 euro. Tumnagel
42.5°
0
torsdag 4 februari 2021 Sven Mattisson får Adelsköldska medaljen För sitt arbete med att utveckla Bluetooth Kungliga Vetenskapsakademien (KVA) har beslutat att ge Adelsköldska medaljen i guld till Sven Mattisson, ett pris som man delat ut sedan 1909 till personer som på något sätt bidragit till "av för mänsklighetens upplysning, förkovran och förbrödring synnerligen viktiga och välsignelsebringande uppfinningar och arbeten.". Mattisson arbetar för Ericsson Research och belönas för sitt arbete med radiolänk på kort håll och med låg effekt. Detta var något som till en början kallades för MC-Link (Multi-Communicator Link) men som senare blev det som vi idag kallar för Bluetooth. KVA skriver i sin motivering till att ge Mattisson Adelsköldska medaljen att han får denna för "för sin pionjärinsats inom radiokommunikation, specifikt den analoga radioteknikens miniatyrisering och strömsnålhet, vilket har varit helt avgörande för utvecklingen av standarden Bluetooth.". Adelsköldska medaljen delas oftast ut en gång varje tioårsperiod och har tidigare bland annat tilldelats Thomas Alva Edison (1909) och Victor Hasselblad (1970). Ni hittar samtliga personer som fått medaljen i faktarutan här nedanför. Tumnagel
59.0°
0
Lego gör byggsats av Sonic Mania Ett fans dröm går i uppfyllelse Lego meddelade idag att man kommer att göra en byggsats som baseras på spelet Sonic Mania som Sega släppte 2017. Mer specifikt ska byggsatsen innehålla konstruktioner som återfinns i spelets "Green Hill Zone"-bana skriver Lego i ett pressmeddelande. Idén till att göra byggsats av Sonic Mania kom från lego- och Sonic-fantasten Viv Grannell som skickade in det som förslag till Legos fansajt Lego Ideas. Företaget har genom året hämtat många idéer från Lego Ideas vilka skickats in från fans som hoppats få se just sina drömmar förverkligas i en riktig byggsats från företaget. Ni kan kolla in koncept-designen på "The Sonic Mania Green Hill Zone LEGO" här ovanför men hur det färdiga resultatet kommer att se ut finns det än så länga inga bilder på. När man planerar att släppa den färdiga byggsatsen är än så länge oklart. Tumnagel
42.3°
0
Google uppdaterar Android TV med nytt gränssnitt Liknar nu mer Google TV Google har gett Android TV lite kärlek i form av en ny uppdatering som förändrar gränssnittet rejält. Det nya gränssnittet är mer likt det som används i Google TV och fokuserar mer på innehåll än appar. Det nya gränssnittet har tre flikar; Home Discover och Apps. I Home-fliken, som ni ser i bilden ovan ger oss en översikt över de filmer och serier vi för tillfället tittar på via de olika streamingtjänsterna samt ger oss tips om andra saker att kika på. I toppen har vi snabb tillgång till våra installerade appar. Discover är en ny flik helt dedikerad till tips och här ska Googles insamlade information om vårat tittande verkligen lysa genom att ge oss relevanta tips p filmer och serier. I apps-fliken hittar vi samtliga installerade appar. Det nya gränssnittet har börjat rulla ut till Android TV-enheter i USA, Australien, Kanada, Tyskland samt Frankrike och kommer släppas brett under de kommande veckorna. Tumnagel
41.3°
0
Microsoft presenterar Viva Microsoft vision för framtidens kontor Igår skrev vi lite om nya produkter från Zoom som anpassats till hur de tror att framtidens kontorsarbete kan komma att fungera. Idag har Microsoft presenterat något som de kallar för Viva som även det har siktet inställt på olika lösningar för framtidens kontor. Microsoft Viva är en del av Microsoft samarbetsplattform Microsoft Teams. Tankarna bakom Viva är baserade på de erfarenheter som Microsoft dragit utifrån hur de och deras kunder arbetat under pandemin. Företagets vd Satya Nadella sa under presentationen av Viva bland annat: "We have participated in the largest, at scale, remote work experiment the world has seen. As the world recovers, there is no going back. Flexibility in when, where, and how we work will be key." Att kunna arbeta flexibelt verkar vara ledordet för Microsoft som med Viva ser att användare ska kunna arbeta i stort sett var som helst, så länge de förses med rätt verktyg. Microsoft kommer att börja rulla ut olika Viva-funktioner till Microsoft Teams under det kommande året. Huruvida dessa kommer att vara lika avancerade som den vision som Microsoft visar upp i klippet här ovanför återstår att se. Antagligen dröjer det nog dock ett tag innan tekniken som krävs för att förverkliga det är på plats. Tumnagel
38.1°
0
YouTube-appen försvinner snart från äldre Apple TV:s Då får man börja köra YouTube via AirPlay Nästa månad kommer stödet för att spela upp YouTube-videos via deras app till den tredje generationens Apple TV att försvinna skriver 9to5Mac. I ett meddelande som visas på Apple TV gen 3 om man drar igång YouTube-appen står det: "Starting early March, the YouTube app will no longer be available on Apple TV (3rd generation). You can still watch YouTube on Apple TV 4K, Apple TV HD, iPhone, or iPad. With AirPlay, you can also stream YouTube from your iOS device directly to any Apple TV (3rd generation or later)." Det kommer dock fortsatt att vara möjligt att kolla på YouTube-klipp på Apple TV gen 3 om man kör dessa via AirPlay från en iPhone eller en iPad. Apple släppte Apple TV gen 3 i mars 2012 och slutade sälja denna i september 2016. I dag säljer Apple de två Apple TV-modellerna Apple TV HD och Apple TV 4K vilka båda kör Apples egna operativsystem tvOS. Dessa kommer inte att påverkas av att YouTube-stödet för Apple TV gen 3 upphör. Tumnagel
26.0°
0
Googles kabel över Atlanten invigd Dunant-kabeln har en kapacitet på 250 Tbps 2018 meddelade Google att man tillsammans med sin samarbetspartner SubCom skulle börja lägga en ny fiberkabel mellan USA och Europa. Nu är denna klar och kan börja forsla data över (under) Atlanten. Tanken var egentligen att Dunant-kabeln skulle invigts redan förra året men grund av lite tekniska komplikationer samt att man inte riktigt hade budgeterat för en pandemi fick kabel-premiären flyttas fram något. Den runt 6000 kilometer långa kabeln går mellan Virginia Beach i USA och Saint-Hilaire-de-Riez på den franska Atlantkusten. Dess tolv kabelpar har en kapacitet för att frakta 250 terabits per sekund (Tbps) vilket ska vara tillräckligt för att transportera "the entire digitized Library of Congress three times every second" skriver Google i en pressrelease. Dunant-kabeln har fått sitt namn efter Röda Korsets grundare och Nobelpristagaren Henry Dunant. Tumnagel
50.7°
0
Nu kommer TikTok till tv-apparaten TikTok till Android TV släppt Sociala medie-tjänsten TikTok har släppt en app som gör det möjligt att ta del av deras populära tjänst direkt på tv-apparater som har stöd för att installera Android TV-appar. Med TikTok for Android TV blir det möjligt att titta på TikTok-videos precis som man gör i mobilen. Det går dock inte att posta TikTok-klipp via tv-appen, för att göra det måste användare fortsatt använda TikToks mobilapp. I dagsläget verkar det som TikTok for Android TV kan ha vissa geografiska begränsningar och verkar inte gå att installera på alla marknader. Huruvida det är något som kommer att ändras framöver finns det än så länge inga uppgifter om. Tumnagel
17.6°
0
Bang & Olufsen släpper Beosound Level Portabel wifi-högtalare Bang & Olufsen har visat upp en ny bärbar högtalare som ser hyfsat kompakt ut och tack vare det även passar bra för väggmontering. Beosound Level har stöd för att kopplas till musikkällor via både bluetooth och wifi såväl som att streama musik via Airplay 2, Google Cast och Spotify Connect. Det går även att få högtalaren med Googles smarta assistent Google Assistant om man skulle vilja röststyra högtalarens funktioner. Högtalaren ska ha en batteritid på 18 timmar vid uppspelning med "normalhög" volym. Den laddas upp via en magnetisk laddningslösning som inte verkar helt olik Apples MagSafe-laddning till iPhone 12. Beosound Level är IP54-klassad vilket innebär att den har ett visst skydd mot väta och damm, något som gör att man åtminstone kan ha den ute på verandan om man känner för det. Bang & Olufsen Beosound Level släpps i en guldfärgad modell med detaljer i ekträ vilken kostar 15.290 kronor samt en mörkgrå version med aluminiumchassi som kostar 12.790 kronor. Vill man även ha väggfästet som används för att hänga upp högtalaren på väggen så kostar detta 999 kronor. Ni hittar ett videoklipp och lite fler bilder på Beosound Level här nedanför. Tumnagel
38.4°
0
OneDrive får stöd för Samsungs rörliga bilder och 8K-video Har även fått nytt gränssnitt Microsoft har bestämt sig för att uppdatera in OneDrive-app till Android och med uppdateringen kommer stöd för lite moderniteter som lär nöja användare som kör Samsungs nya flaggskepps-telefoner. Mer specifikt har appen fått stöd för Samsungs Motion Photos samt möjlighet att spela upp 8K-video. Detta gör inte bara appen rätt användbar med S21-seriern, utan gör att Microsofts molnlagring blir lite mer lockande att använda. Speciellt med tanke på att gratislagringen kommer försvinna från Google Photos i sommar och har man en aktiv Office 365-prenumeration så får man ju en hel del OneDrive-lagring. OneDrive har även fått lite förändrat gränssnitt i samband med uppdateringen och mer specifikt handlar det om en ny hemskärm. På nya hemskärmen får användare snabb tillgång till senast använda filer, offline-filer och en "on this day"-funktion där man kan få en nostalgitripp genom att kika på gamla bilder. Den senaste versionen av OneDrive har börjat rulla ut till samtliga användare världen över och det enda kravet är att man har Android 6 eller senare. Tumnagel
39.3°
0
Instagram verkar testa vertikal Stories-navigering Att scrolla åt sidan är så 2020 Tiktok är rätt poppis och när sociala medier exploderar i popularitet händer det att andra sociala medier går i följe och kopierar både funktioner och användarupplevelse. Instagram har redan implementerat videofokuserade Reels i appen och nu verkar det som att även vanliga Stories kommer få lite Tiktok-inspirerad ändring. Tidigare har man kunnat hoppa mellan Stories, de där inläggen man hittar i toppen av appen, genom att svepa till höger och vänster, men nu verkar Instagram känna att svepa åt sidorna är lite föråldrat. Enligt folk på internet har företaget börjat testa att navigera mellan story-inlägg genom att svepa upp och ner i stället. Detta är som sagt endast ett test och är endast tillgängligt för vissa användare för tillfället. Men om det uppskattas lär den nya navigeringen implementeras brett. Vilket sorts svep är bäst känner ni? Horisontellt eller vertikalt? Tumnagel
35.6°
0
Alogic släpper ett gäng med GaN-laddare Kraftfulla laddare i kompakt format Alogic släpper nu fyra stycken så kallade GaN-laddare på den svenska marknaden. Batteriladdare med GaN-teknik (galliumnitrid) innebär att laddarna blir kraftfullare utan att öka i storlek mot traditionella batteriladdare som baseras på kiselbaserad laddteknik. Alogics mest maxade GaN-laddare, den på bilden ovan, erbjuder 100 watt eller 65 + 18 watt för USB-C-laddning samt två kontakter för USB-A 12 watt. Förutom den så släpper Alogic en GaN-laddare på 100 watt för USB-C, en laddare som till exempel skulle kunna passa fint att ladda olika MacBooks. Man släpper även en laddare som erbjuder 65 watt USB-C-laddning samt en som erbjuder 60 watt eller 45+18 watt USB-C-laddning. Alogics 100 (65+18)-watt + USB-A-laddare har ett rekommenderat pris på 999 kronor, 100-wattaren kostar 849 kronor, 65-wattaren 549 kronor medan 60 (45+18)-wattaren kostar 649 kronor. Samtliga laddare levereras med en USB-C-laddkabel på 2 meter. Tumnagel
43.5°
0
Vi tar testat IKEAs modulära grenuttag Åskväder Kolla in videon! I måndags skrev vi om att IKEA hade börjat sälja något som de kallar för Åskväder. Det handlar om ett modulärt system för att göra grenkontakter och det verkade riktigt smart, och dessutom verkade ert intresse för det stort. Så vi drog till IKEA och köpte på oss lite saker helt enkelt. Vi köpte ett startkit, några väggfästen och en förlängningssladd. I videon berättar vi om de olika delarna kopplas ihop och hur man sätter upp det på väggen. Jag gillar verkligen detta, speciellt om det kommer ytterligare komponenter som strömbrytare (gärna med stöd för trådfri) och USB-kontakter och annat. Ett startkit kostar 199 kronor, förlängningssladdar kostar 50 kronor (finns i 0,8 och 2,0 meter), ett extra grenuttag kostar 50 kronor och ett dubbelt grenuttag kostar 100 kronor. Väggfästena kostar 20 kronor styck. Kolla in videon här! Tumnagel
64.4°
0
onsdag 3 februari 2021 Python var det programmeringsspråk som ökade mest 2020 Men C är fortsatt mest använt Företaget TIOBE har släppt sitt så kallade TIOBE Index för januari 2021. Där går man igenom vilka programmeringsspråk som var populärast förra månaden och jämför detta med hur det såg ut januari 2020. Som synes i tabellen nedan så var det Python som ökade mest under året som gått mellan de båda mätningarna. Pythons användning ökade med 2,01 procent och är det tredje mest använda programmeringsspråket bland världens utvecklare. Att Python ökat i popularitet beror med stor sannolikhet att språket blivit lite av en standard när det kommer till att skriva kod för utveckling av artificiella intelligenser. Även C ökade i popularitet och anses nu vara världens mest använda programmeringsspråk. Detta har skett på bekostnad av Java som får räknas som 2020:s stora förlorare bland programmeringsspråken. Java tappade nästan 5 procent i popularitet under 2020 och har nu halkat ner på andraplatsen över de populäraste programmeringsspråken. Ni hittar de första 15 platserna på TIOBE Index för januari 2021 jämförda med januari 2020 i tabellen nedan. Ni hittar hela topp-50-listan samt lite annan statistik på länken här nedanför. Tumnagel
39.8°
0
Facebook Messenger ute nu till Oculus Quest Tjöta med vänner i VR-världen Kör du Oculus Quest och har blivit lite irriterad att du ständigt måste ta av dig headsetet, plocka upp telefonen och svara på meddelanden på Facebook Messenger i tid och otid när du bara vill vara i VR-världen? Då har vi goda nyheter då Facebook börjat rulla ut Messenger till Quest. Med Messenger på Quest kan du komma i kontakt med dina nära och kära via Messenger och det är möjligt att föra textkonversationer i appen i VR-världen, antingen med förskrivna meddelanden eller text-till-tal-funktionen. Utöver detta har du även möjlighet att direkt starta ett Oculus Party direkt från chattfönstret. Tumnagel
40.3°
0
Zoom presenterar lösningar för framtidens hybridkontor Kanske kan bli intressanta när pandemin är över Videokonferenstjänsten Zoom kan antagligen utses som en av få vinnare i pandemin tack vare att intresset för videokonferenser ökat explosionsartat i takt med att ingen längre går till kontoret. Zoom verkar dock vara intresserade att fortsätta vara relevanta även den dagen pandemin väl är över. Därför har företaget tagit fram lite olika lösningar för hur framtidens kontor kanske kommer att se ut och fungera. Det handlar bland annat om en lösning som gör att företags receptionister inte längre behöver ha direktkontakt med anställda och besökare på företaget. Den "virtuella" receptionisten är en del av Zoom Rooms Kiosk Mode vilket ingår i tjänsten Zoom Rooms for Touch. Zoom visar även upp lite andra grejer man göra med Zoom Rooms for Touch vilket kan begränsa att anställda kommer i nära kontakt med varandra eller behöver beröra saker som andra vidrört. Det handlar bland annat om en tjänst som kan hålla koll på hur många som befinner sig i ett rum samt möjlighet att styra Zoom-konferenser direkt från sin egen mobil eller via röststyrning. Ni kolla kolla in Zooms olika lösningar för framtida hybridkontor i videoklippet här nedanför. Tumnagel
37.3°
0
Morakniv presenterar årets klassiska knivar Går i grått och grönt I år firar Morakniv 130 år som företag och idag presenterad man årets versioner av sina knivar Basic 511 (C) och 546 (S). Årets upplaga av knivarna kommer att gå i färgerna grönt och grått. Basic 511 (C) har ett blad av kolstål medan Basic 546 (S) har ett blad som är tillverkat i rostfritt stål. Morakniv rekommenderar själva den sistnämnda för utomhusarbeten medan man skriver att Basic 511 (C) kan påverkas av fukt och korrosiva miljöer. Basic 511 Limited Edition 2021 (C), som syns till höger på bilden ovan, har ett rekommenderat pris på 69 kronor medan Basic 546 Limited Edition 2021 (S), som syns längst fram i bild till vänster på bilden ovan, har ett rekommenderat pris på 79 kronor. Här nedan hittas Moraknivs egen film om Basic 546 Limited Edition 2021 (S). Tumnagel
161kg
0
Huawei presenterar Mate X2 22 februari Mer vikbart på ingång Huawei har hittills släppt två vikbara telefoner, Mate X och Mate XS, och nu har den kinesiska mobiljätten en tredje på ingång. 22 februari kommer nya Mate X2 presenteras och utöver namn och datum för presentation vet vi inte så mycket om den nya vikbara telefonen. Av teaserbilden, som ni kan se nedan, att döma så verkar det som att Huawei skippat att köra display "på utsidan" av telefonen och i stället köra på en variant som mer liknar Samsung Galaxy Fold med en stor skärm på insidan. Något vi kan förvänta oss är att telefonen kommer köra Huaweis systemkrets Kirin 9000, som vi sist såg i Mate 40 Pro, och att telefonen inte kommer köra Google-appar. Tumnagel
36.3°
0
Niagara Launcher till Android släppt skarpt En rätt clean hemskärm Jakten på den perfekta Android-hemskärmen kommer nog aldrig vara över, men utvecklaren Peter Huber har gjort ett fenomenalt jobb med launchern Niagara. Huber har jobbat med appen i fyra år, varav de två senaste åren har den testats i early access-format och nu är det dags för skarp release. Appen ger dig ett väldigt enkelt och rent gränssnitt där alla dina appar listas i bokstavsordning på hemskärmen och i toppen kan du fästa dina favoritappar. Vill du ha ha fler funktioner som widgets och mer avancerade modifieringsmöjligheter så kan man lägga vantarna på Niagara Pro. Pro-versionen kan du testa gratis i två månader, därefter kostar Pro-funktionerna 59 kronor per år, eller 39 kronor nu vid release. Det går även att köpa Pro rakt av och det kostar för tillfället 109 kronor, men kommer sen höjas till 149 kronor. Niagara Launcher hittar ni via länken här nere till vänster. Ovan har ni lite Niagara Launcher-inspo från The Device Hub. Tumnagel
37.8°
0
Instagram testar att blockera vissa inlägg till Stories För att undvika dubbelpublicering Bilddelningstjänsten Instagram har inlett ett test på vissa marknader vilket innebär att användare inte längre kan posta inlägg de gör i sitt vanliga Instagram-flöde till den så kallade Stories-funktionen. Anledningen till att Instagram testar detta tros bero på att användare har tröttnat på att se andra användares inlägg både i sitt vanliga flöde och i Stories-flödet. Att användare väljer att posta sina inlägg till båda flödena beror primärt på att algoritmen i flödena fungerar lite olika. I det traditionella flöde prioriteras inlägg från vad Instagram tror är familjemedlemmar, vänner och andra nära kontakter. Stories-flödet är däremot kronologiskt sorterat vilket ger företag som användare följer en större möjlighet att exponera sina inlägg där. Än så länge testas begränsningen av delning till inlägg i båda Instagrams flöde till vissa marknader. Faller det väl ut är det antagligen inte helt omöjligt att delningen begränsas även för användare på andra marknader. Tumnagel
39.3°
0
Rykte Apple ryktas investera 30 miljarder kronor i KIA Sägs släppa en bil tillsammans 2024 Det fortsätter komma rykten från Sydkorea angående Apple och deras eventuella partnerskap med någon av landets biltillverkare. Nu skriver Sydkorenska DongA Ilbo att Apple planerar att investera 4 biljoner won, motsvarande lite över 30 miljarder kronor, i biltillverkaren KIA. Det har även tidigare sagts att Apple fört diskussioner med KIA om ett framtida samarbete om att utveckla en bil. Vidare sägs det att Apple planerar att lansera en bil 2024 och att man siktar på att tillverka cirka 100.000 av denna årligen initialt. Varken Apple, KIA eller KIA:s moderbolag Hyundai Motor har än så länge kommenterat de senaste ryktena. KIA:s aktie verkar dock ha påverkats positivt av ryktet och steg med 14,5 procent rapporterar nyhetsbyrån Bloomberg. Tumnagel
40.8°
0
Huaweis egna Harmony OS är praktiskt taget Android Verkar inte vara speciellt nytt och fräscht Att ta i från tårna är något Huawei är svinduktiga på när de presenterar nya produkter. Givetvis har läget inte varit annorlunda när företaget pratat om sitt nya operativsystem Harmony OS som företaget lovat ska vara en unik upplevelse helt olik iOS eller Android. Ars Technica har kört betaversionen av operativsystemet och har nu skrivit en ordentlig artikel om sina fynd. Och fynden visar att det kort och gott är en helt vanlig avgaffling av Android där ordet Android ersatts med Harmony OS. Andra intressanta fynd Ars Technicas skribent gjort är bland annat för att få tillgång till operativsystemet som utvecklare så behövs en bakgrundscheck göras. Denna tar två dagar att utföra och processen inkluderar att skicka kopia av pass eller personligt id samt kreditkort till Huawei. När man väl fått tillgång körs inte betaversionen av operativsystemet via emulator, utan den strömmas till dig från vad som antas vara en telefon som kör Harmony OS-betan i Kina. Ars Technicas artikel ger oss en rätt klar bild av hur Huaweis operativsystem kommer fungera, det vill säga ganska exakt som deras nuvarande Android med Huaweis gränssnitt EMUI, och är riktigt läsvärd om man gillar mobiltelefoner, operativsystem, utveckling eller Huawei. De första telefonerna med Harmony OS väntas för övrigt släppas i år. Tumnagel
35.3°
0
Boston Dynamics presenterar Spot Enterprise En lite mer självgående version av deras robothund Det numera Hyundai-ägda robotföretaget Boston Dynamics har presenterat en ny version av sin robothund vilken man har gett namnet Spot Enterprise. Spot Enterprise har bland annat försetts med en lite kraftfullare än CPU än den nuvarande modellen Spot Explorer, något som gör att den ska kunna köra mer avancerade algoritmer för autonomi i framtiden. Den största nyheten är dock att roboten nu försetts med en tillhörande batteriladdar-station som den kan använda på egen hand. Det innebär att företag kan placera Spot Enterprise i någon av sina anläggningar och aktivera den via fjärrstyrning när anläggningen behöver inspekteras. I samband med att Boston Dynamics presenterade Spot Enterprise så visade man även upp Spots tillhörande arm som vi skrev om lite häromdagen samt den nya mjukvaran Scout. Med mjukvaran Scout kan en operatör styra och se vad roboten ser på liknande sätt som många företag idag använder så kallade telepresence-robotar. Scout kommer att fungera både med Spot Explorer och den nya modellen Spot Enterprise. Under en presentation igår sa Boston Dynamics att man sålt cirka 400 exemplar av Spot Explorer, en robot som kostar 74.500 dollar. Boston Dynamics har än så länge inte berättat vad man kommer att ta för Spot Enterprise och den tillhörande batteriladdar-stationen men säger att den kommer att bli dyrare än Spot Explorer. Vad robotarmen kommer att kosta finns det heller inga uppgifter om. Här nedanför hittas ett videoklipp som visar upp Spot Enterprise samt ett lite länge klipp med hela gårdagens presentation från Boston Dynamics. Tumnagel
39.4°
0
SpaceX testade Starship SN9 Slutade i en explosion den här gången med Igår kväll svensk tid var det dags för SpaceX att testa ännu en prototyp av sin framtida rymdfarkost Starship. Den 50 meter höga prototypen SN9 var försedd med tre av SpaceX Raptor-motorer och tog sig precis som planerat till 10 kilometers höjd varefter den påbörjade sin återresa ner mot jorden. Tyvärr ville sig det inte riktigt med landningen och precis som när SpaceX testade Starship SN8 i december förra året så slutade landningen i en stor explosion. SpaceX verkar dock inte missnöjda med testet och Starships chefsingenjör John Insprucker sa efter SN9:s "landning": "Again, wex27ve just got to work on that landing a little bit. We got a lot of good data, and the primary objective — to demonstrate control of the vehicle in the subsonic re-entry — looked to be very good, and we will take a lot out of that." SpaceX planerar att fortsätta att utveckla och testa Starship-prototyper som är tänkta att bli mer avancerade för varje iteration. När farkosten väl är klar för att göra riktiga rymduppdrag kommer den att vara försedd med sex Raptor-motorer medan Super Heavy, raketen som ska rymdsätta Starship, kommer att ha 30 stycken av dessa motorer. Starship kommer med sina sex motorer klara av att lyfta för egen maskin från månen och Mars men för att lämna jorden kommer den att behöva hjälp av Super Heavy. I klippet ovan kan ni kolla in SpaceX eget sammandrag av gårdagens uppskjutning av Starship SN9. Tumnagel
42.2°
0
tisdag 2 februari 2021 Amazons grundare Jeff Bezos slutar som VD Andy Jassy tar över Sent på tisdagskvällen så berättade Amazon att deras VD Jeff Bezos kommer att sluta som VD för Amazon, bolaget han har grundat och som gjort honom omåttligt rik. Istället kommer Andy Jassy att ta över, som i dag sköter AWS. Så här säger Amazon i ett uttalande. "Amazon is what it is because of invention. We do crazy things together and then make them normal. We pioneered customer reviews, 1-Click, personalized recommendations, Prime’s insanely-fast shipping, Just Walk Out shopping, the Climate Pledge, Kindle, Alexa, marketplace, infrastructure cloud computing, Career Choice, and much more. If you do it right, a few years after a surprising invention, the new thing has become normal. People yawn. That yawn is the greatest compliment an inventor can receive. When you look at our financial results, what you’re actually seeing are the long-run cumulative results of invention. Right now I see Amazon at its most inventive ever, making it an optimal time for this transition." I ett email till de anställda säger han att han nu kommer att kunna fokusera på Day 1 Fund, the Bezos Earth Fund, Blue Origin och The Washington Post och att han inte kommer att ligga hemma och lata sig. Tumnagel
44.0°
0
Så här kanske Amazons huvudkontor HQ2 kommer att se ut "The Helix" påminner även om en känd emoji 2018 beslutade Amazon sig för att bygga ett andra huvudkontor i den amerikanska staden Arlington och nu har man visat upp illustrationer på hur man tänker sig att det ska se ut. Som synes på bilderna här så handlar det om en någorlunda futuristiskt byggnad med stora glaspartier och plats för en hel del grönska. Byggnaden kallas för "The Helix" vilket är ett namn den fått efter sin form av en dubbelhelix. Som en del har påpekat så är The Helix form inte heller helt olik den klassiska bajsemojin. The Helix är än så länge bara ett förslag och måste få godkänt av myndigheterna i Arlington innan det kan bli tal om att börja bygga huset. Amazon har dock redan börjat bygga två stycken 22 våningar höga skyskrapor i närheten av där The Helix är planerat att byggas. Även dessa kommer att bli en del Amazons framtida HQ2 och det tillhörande campuset. Tumnagel
45.3°
0
Live Kolla in när SpaceX skjuter upp Starship SN9 Idag verkar det vara dags SpaceX verkar ha fått tillstånd att skjuta upp Starship-prototypen SN9 och mycket tyder på att detta kommer att ske idag. Enligt Everyday Astronaut så kommer det hela att ske runt 20:40 21:00 svensk tid och om så blir fallet kommer ni att kunna kolla in det via deras livestream här ovanför. (Observera att tiden har ändrats och kanske kan komma att göra det igen) Tills, eller om, det hela blir av så kan ni kolla in SpaceX eget klipp från när man sköt upp Starship SN8 förra året här nedanför. Det var ett test som in i det sista såg ut att vara helt perfekt tills det hela slutade med en stor explosion. Tumnagel
42.6°
0
Elon Musk tar en paus från Twitter Ska han börja hänga mer på Clubhouse nu då? Världens rikaste man och multientreprenören Elon Musk uppgav tidigare idag att han skulle ta en paus från Twitter. I hans, för tillfället, senaste tweet skriver Musk "Off Twitter for a while" utan att vidareutveckla vad det innebär. Det finns inga uppgifter om varför Musk inte längre tänker kommunicera via Twitter med sina närmare 45 miljoner användare, ett medium han tidigare ofta använt för att sprida nyheter om sina företag eller annat som han har haft i tankarna. Tidigare idag skrev vi om att Musk börjat snacka lite på den hajpade chatt-appen Clubhouse. Kanske föll det honom i smaken såpass mycket att han hellre väljer att förmedla nyheter där istället framöver. Den som lever får se. Tumnagel
39.3°
0
Tele2 och Com Hem blir ett varumärke i år Fortfarande okänt vilket namn som blir kvar och vilket som försvinner För tre år sedan gick de både företagen Tele2 och Com Hem ihop till ett företag. Fram tills nu har dock båda varumärkena funnits kvar men i år verkar det som om det blir ändring på det. Det är nyhetsbrevet TelekomNyheterna som skriver att Tele2 och Com Hem i år kommer att fimpa ett av sina varumärkena. Samuel Skott, kommersiell chef för Tele2, vill än så länge inte avslöja vilket av de båda varumärkena som kommer att få leva kvar och vilket som kommer att skrotas. Han säger att det är något man kommer att meddela någon gång senare i år. Förutom Com Hem och Tele2 så kommer även Boxer att sorteras in under det nya varumärket. Varumärket för Tele2:s lågprisoperatör Penny, som lanserades för exakt ett år sedan idag, kommer att tonas ner och kanske även det gå upp i det nya varumärket. Tumnagel
37.4°
0
OnePlus sänker priset på Nord N10 och Nord N100 Kommer kosta 2990 kronor och 1590 kronor OnePlus meddelar idag att företaget kommer justera priserna på företagets budget-telefoner Nord N10 och Nord N100 en aning. Tidigare har priserna legat på 3499 kronor för N10 medan N100 har kostat 1999 kronor, men från och med 8 februari kommer priserna åka ner till 2990 kronor och 1590 kronor. Orkar man inte vänta på att OnePlus själva ska sänka priserna har återförsäljare redan sänkt priserna och ni kan klicka här för att välja återförsäljare själva: N10 (jämför priser) och N100 (jämför priser). Nord N10 och N100 är som sagt budgetlurar och kommer inte med samma byggkvalitet eller allmän hårdvaruupplevelse som vanliga Nord, 8T eller 8 Pro. Men på mjukvarufronten får man i alla fall en riktigt härlig OnePlus-upplevelse. Tumnagel
39.4°
0
Live Kolla in när Boston Dynamics visar upp mer av Spot Följ dagens livesändning här Igår visade Boston Dynamics upp lite grejer som deras robothund Spot kunde göra med sin nya arm. Det var ett smakprov på lite av de funktioner som Boston Dynamics har planerat att visa upp i en livesändning lite senare idag. Klockan 17:00 svensk tid drar Boston Dynamics event "Meet Spotx27s Expanded Product Line" igång och detta kan ni kolla här nedanför. Ni hittar en teaser för det hela här ovanför. Tumnagel
38.2°
0
Apple har börjat rulla ut macOS Big Sur 11.2 Lite buggfixar och förbättrad bluetooth-funktionalitet Apple har börjar rulla ut en uppdatering till sitt operativsystem macOS Big Sur vilken innehåller lite olika buggfixar och förbättrad bluetooth-funktionalitet. I MacOS Big Sur 11.2:s medföljande text står det att sakerna nedan ska vara uppdaterade eller fixade: macOS Big Sur 11.2 improves Bluetooth reliability and fixes the following issues: * External displays may show a black screen when connected to a Mac mini (M1, 2020) using an HDMI to DVI converter * Edits to Apple ProRAW photos in the Photos app may not save * iCloud Drive could turn off after disabling the iCloud Drive Desktop & Documents Folders option * System Preferences may not unlock when entering your administrator password * Globe key may not display the Emoji & Symbols pane when pressed Some features may not be available for all regions, or on all Apple devices. For more detailed information about this update, please visit: https://support.apple.com/kb/HT211896 For detailed information about the security content of this update, please visit: https://support.apple.com/kb/HT201222 Apples svenska webbplats verkar i skrivande stund inte uppdaterats med information om macOS Big Sur 11.2 men när den väl blir det så hittas uppdateringarna på länken nedan. Tumnagel
39.9°
0
Elon Musk säger att Neuralink försett en apa med hjärnchip Som låter apan spela datorspel I helgen så körde Elon Musk ett snack via den hajpade appen Clubhouse och där snackade han bland annat lite om sitt hjärnimplantats-företag Neuralink. Neuralink fokuserar på att utveckla chip som ska gå att koppla trådlöst till hjärnan och låta människor utföra olika uppgifter direkt med hjärnan. Initialt så arbetar företaget bland annat med att utveckla chip som skulle kunna ge rörelsehindrade och förlamade personer möjlighet att utföra uppgifter som annars inte varit möjligt. Under paneldiskussionen på Clubhouse så uppgav Elon Musk bland annat att man redan försett en apa med ett trådlöst hjärnchip som lät denna spela datorspel med hjälp av sin egen hjärnkraft: "We’ve already got a monkey with a wireless implant in their skull and the tiny wires who can play video games using his mind." På längre sikt hoppas Neuralink med hjälp av sina hjärnchip koppla ihop människor med varandra och artificiella intelligenser på riktigt. Jag antar att det är där någon gång vi kommer att börja kunna snacka om riktiga så kallade cyborgs. Musk spekulerade även lite om hur hjärnchip skulle kunna se ut i framtiden och sa då bland annat: "If two people had a Neuralink, you could do conceptual telepathy, where you have a complex series of concepts and you can just transfer them directly, uncompressed to the other person. This would massively improve the quality of communication and the speed of it. There are other pretty wild things that could be done. You could probably save state in the brain and so if you were to die your state could be returned in another human body or a robot body." Ni hittar hela Elon Musks diskussion på Clubhouse i klippet här nedanför. Där diskuteras inte bara Neuralink utan även massa annat som Musk verkar gå och fundera på nu för tiden. Neuralink har även släppt ett nytt videoklipp där de snackar lite mer om sina chip vilket ni kan kolla in här ovanför. Tumnagel
37.0°
0
Robinhood nere på svinlågt betyg på Google Play Skit ska skit ha Mitt i GameStop-kuppen bestämde sig folket bakom aktiehandelsappen Robinhood att stoppa GameStop-köpare att lägga vantarna på den åtråvärda aktien. Detta ledde till att massvis med bittra användare lämnade negativa recensioner av appen i Google Play Store och drog ner appens betyg till en stjärna. Google rensade upp i recensionerna vilket gjorde att appen fick tillbaka sitt betyg på fyra stjärnor. Robinhood-gänget har därefter gjort ytterligare justeringar i appen som att man endast fått köpa en enskild GameStop-aktie per användare och inte helt oväntat ledde detta till fler negativa recensioner. En talesperson från Google säger till The Verge att de nya recensionerna går i linje med Googles recensionsregler och får stanna kvar. Appens betyg ligger nu på 1,1 stjärnor med över 312.000 recensioner där den stora majoriteten ligger på 1 stjärna. På App Store är det en annan historia och betyget ligger fortfarande 4.0, men även där har det börjat dyka upp allt fler negativa recensioner. Bonusvideo nedan där Elon Musk tar ett allvarligt snack med Robinhood-grundaren Vladimir Tenev. Tumnagel
57.1°
0
Pipebots kan bli framtidens rörmokare Små robotar avsedda för att fixa avloppssystem Forskare på några brittiska universitet håller på och utvecklar små robotar som man i framtiden hoppas ska kunna fixa olika problem i städers avloppssystem. Tanken bakom "Pipebots" är bland annat att det inte ska behöva grävas upp vägar när det blir fel i avloppssystem, något som kan leda till störningar i trafiken som går ovan jord. De små robotarna ska själva kunna ta sig fram i rörledningssystem, analysera vad som är fel i dessa och eventuellt då även åtgärda detta. Ni kan kolla in en vision över hur det är tänkt att Pipebots ska fungera i klippet ovan. Det ska observeras att robotarna man experimenterar med i dagsläget inte alls är lika små, smarta eller smidiga som dem som syns i klippet ovan. Ni kan kolla in ungefär var man befinner sig i utvecklingen idag i klippet här nedanför. Någon gång runt 2024 hoppas forskarna kunna visa upp ett system som ska demonstreras i ett riktigt avloppssystem. Tumnagel
40.9°
0
Canon visar upp PowerShot Pick Kameran som inte behöver någon fotograf Canon har experimenterat med att låta kameror själva låta ta fotografier och nu har man visat upp en ny kamera som bygger på det konceptet. Den kallas för PowerShot Pick och tanken är att den nio centimeter höga kameran själv ska kunna hitta och fota de bästa bilderna på till exempel en fest eller annan tillställning. PowerShot Pick är försedd med en 12 megapixels lins och en zoom som motsvarar 19-57mm. Den kan tiltas upp och ner i 110 grader och svänga runt 170 grader, något som Canon säger ger kameran ett blickomfång på 360 grader. Bilderna eller videoklippen som filmas lagras på ett microSD-kort och kan även överföras trådlöst till den tillhörande appen. Det går även att styra kameran via appen, både med touchkontroller och rösten, om användaren föredrar att själv välja när kameran ska fotografera. Canon har lagt ut PowerShot Pick på den japanska crowdfundingtjänst Makuake och där har den rönt ett stort intresse. Canon hade som mål att få 1 miljon yen, motsvarande cirka 80.000 kronor, i crowdfundingkampanjen, men ska redan ha fått in över 100 miljoner yen. Det innebär sannolikt att kameran kommer att börja produceras och släppas. Priset för en PowerShot Pick under crowdfundingkampanjen landar på motsvarande cirka 3300 kronor. Tumnagel
37.7°
0
SpaceX ska skicka turister till rymden innan årets slut Jared Isaacman och tre personer till ska ta några varv runt jorden Elon Musks rymdföretag SpaceX meddelade igår att man kommer att skicka fyra turister till rymden i vad som antagligen kommer att bli den första kommersiella rymdresan med företagets rymdkapsel Crew Dragon. Företaget Axiom Space meddelade förra veckan att de planerar att skicka fyra turister till den internationella rymdstationen ISS med en av SpaceX Crew Dragon-kapslar. Den resan kommer dock som tidigast att ske nästa år och SpaceX planerar att skicka sina "egna" rymdturister till rymden redan någon gång under det här årets fjärde kvartal. Till skillnad från Axioms Space resa så kommer SpaceX egna rymdresa "Inspiration4" inte gå till ISS. Istället kommer de fyra rymdturisterna att ligga i omloppsbana runt jorden i några dagar för att sedan åter landa på jorden. Den ende passageraren som än så länge är klar för Inspiration4 är entreprenören Jared Isaacman som grundat företaget Shift4 Payments. Han har även donerat 100 miljoner dollar till stiftelsen St. Jude Children’s Research Hospital vilket ger någon dem utser en möjlighet att få en av de andra platserna. Den tredje platsen kommer att gå till någon som även de donerar pengar till stiftelsen medan den fjärde platsen kommer att gå till någon som är "An inspirational entrepreneur who has used the power of Shift4Shop to launch their dream business." Tumnagel
40.2°
0
Snart kan man låsa upp iPhone med Apple Watch Bra om man har munskydd på sig Sedan en stor del av världens befolkning börjat gå runt med munskydd har det varit lite si och så med att låsa upp mobiltelefoner med hjälp av ansiktigenkänning, något som bland andra Apples senaste iPhone-modeller förlitat sig på. Nu rapporterar Pocket-Lint att Apple har utvecklat en funktion som gör att iPhone går att låsa upp med hjälp av en Apple Watch istället för ansiktigenkännings-funktionen FaceID på iPhone. Det har sedan tidigare varit möjligt att låsa upp mac-datorer med hjälp av Apple Watch och en liknande funktion ska alltså nu vara på gång i kommande iOS 14.5. Identifiering via Apple Watch kommer även att fungera på Apple Pay med iPhone men inte vid inköp i App Store och iTunes Store. Den kommande funktionen ser alltså ut att underlätta upplåsningen av iPhone för de användare som har en Apple Watch. För de som inte har det så verkar det fortsatt som de måste slå in sin pin-kod varje gång de ska låsa upp telefonen när de bär munskydd. När Apple planerar att släppa iPhone 14.5 publikt finns det än så länge inga uppgifter om. Tumnagel
42.2°
0
måndag 1 februari 2021 Enklare att använda robothunden Spots arm Boston Dynamics visar upp sin robothund igen Boston Dynamics gör sin robothund Spot smartare och smartare. Nu är man på gång att släppa ett nytt API som gör det betydligt lättare att använda dess arm, framförallt i kombination med kroppen och benen. Istället för att de programmeras var för sig för att göra komplicerade uppgifter så har Boston Dynamics lärt jycken hur den ska agera för att till exempel plocka upp något på marken. Det gör att man kan låta den utföra autonoma uppgifter eller styra den med en tablet. Bolaget kommer att berätta mer om detta i morgon, presskonferensen startar klockan 17.00 och går att se nedan. Tumnagel
43.6°
0
Spotify höjer priset för prenumeranter 109 kr för singelkonton och 189 kr för familjekonto Spotify har meddelat sina Premium-prenumeranter att det kommer ske en prishöjning från och med idag för nya kunder. Tidigare har Premium-konto kostat 99 kronor i månaden och familjekonton 169 kronor, men nu har priset höjts till 109 respektive 189 kronor. I mailet skriver Spotify detta: Från och med den 1 februari 2021 höjer vi priset på Premium Individual. Det betyder att vi kan fortsätta att förnya och investera för att ge dig den bästa upplevelsen och mer värde i form av nytt innehåll och fler funktioner att använda. Prishöjningen gäller på direkten för nya kunder, som sagt, och användare med aktiva prenumerationer kommer få ytterligare en månad med det gamla priset, vilket betyder att första betalningen med de nya priserna kommer ske i mars. Tumnagel
-29.0°
0
Nästa sida + Per månad 39 kr Betala löpande per månad. Ingen bindningstid. Starta prenumeration Per år 299 kr Enklast och billigast, bara 25 kronor i månaden. Betala löpande per år. Ingen bindningstid. Prova 14 dagar gratis innan du bestämmer dig. Starta gratis provperiod Engångsköp 349 kr Slipp återkommande betalningar, betala ett år i taget. Betala med kort eller Swish. Köp utan prenumeration