Teknik Motor Samhälle Spel Popkultur Fritid Tjock Tester Dagens fråga Tipsa! Skaffa Feber+
Hetaste
Senaste
Alla Heta Kalla Öppna i ny flik tisdag 16 december 2014 fortsättning GTA V Online får efterlängtade Heists Ring polarna Spelformen Heists, som innebär att flera spelare tillsammans kan genomföra ofta ganska komplexa uppdrag, har efterfrågats länge av fansen för GTA V. Och nu är det bekräftat att det kommer. Tyvärr anländer utannonseringen utan något släppdatum, men det ska i alla fall inte dröja längre än början av 2015. Dessutom kommer det inte att kosta något extra. Ovan kan ni kolla in den färska trailern som visar mer av vad det hela går ut på. Tumnagel
62.2°
0
Bredbandsbolaget tänker inte blockera Swefilmer eller The Pirate Bay Lämnat svar till tingsrätten nu För en månad sedan stämde en lång rad TV-, film- och skivbolag (läs mer om exakt vilka här) internetleverantören Bredbandsbolaget (BBB) för att de inte blockerade sina kunders tillgång till torrentsajten The Pirate Bay samt "fulstreaming"-sajten Swefilmer och nu har BBB lämnat sitt svaromål till tingsrätten. BBB sa redan för en månad sedan att man inte har någon "skyldighet att förhindra innehåll baserat på önskemål från enskilda organisationer" och detta är något man i sin skrivelse till tingsrätten vidhåller. Man skriver bland annat: "Bredbandsbolaget kan inte genom att enbart tillhandahålla en internetuppkoppling anses medverkande (ens i objektiv mening) till upphovsrättsintrång som eventuellt begås av personer som är kunder hos Bredbandsbolaget. Att det genom Bredbandsbolagets nät passerar information som gör intrång i tredje mans rättigheter är inte tillräckligt för att ett medverkansansvar (ens i objektiv mening) skulle kunna föreligga i förhållande till de webbplatser från vilket det upphovsrättsligt skyddade materialet härrör." Skulle mediabolagen vinna mot Bredbandsbolaget, något som antagligen kan ta åratal med tanke på att domen antagligen överklagas vad än utfallet blir, så säger de att de kommer att gå vidare och kräva att även andra internetoperatörer blockerar de bägge sajterna. Tumnagel
141.7°
0
Släpptrailer för Captain Toad: Treasure Tracker Verkar såå najs! Nu är det inte lång tid kvar innan Captain Toad: Treasure Tracker släpps (2 januari) och nu har Nintendo släppt en släpptrailer att kolla in om man är sugen på att veta mer om spelet. Totalt kommer spelet innehålla över 70 olika banor och som ni kan se i trailern kommer det finnas massor av olika spelmoment och klurigheter att lösa. Tumnagel
42.6°
0
Sony-hackare hotar biobesökare som ska se The Interview Och drar referenser till 9/11 Idag läckte ännu mer epost ut från dataintrånget som drabbade Sony Pictures för lite mer än två veckor sedan och den här gången skickade de som läckte eposten även med ett meddelande som hotade biobesökare som tänker gå och se filmen The Interview på bio. Det väldigt hotfulla meddelandet, där man bland annat refererar till den 11 september 2001, lyder: Warning We will clearly show it to you at the very time and places "The Interview" be shown, including the premiere, how bitter fate those who seek fun in terror should be doomed to. Soon all the world will see what an awful movie Sony Pictures Entertainment has made. The world will be full of fear. Remember the 11th of September 2001. We recommend you to keep yourself distant from the places at that time. (If your house is nearby, you’d better leave.) Whatever comes in the coming days is called by the greed of Sony Pictures Entertainment. All the world will denounce the SONY. Hackarna har tidigare utlovat en "julklapp" och de flesta har då antagit att det skulle handla om att man skulle läcka information som skulle skada Sony Pictures ännu mer men då The Interview har premiär i USA på juldagen kanske det nu kan handla om något annat. Men vi får innerligen hoppas att så inte är fallet. Det ska tilläggas att det har inte har gått att bekräfta att de som skickade meddelandet ovan faktiskt är de som hackade Sony Pictures innan eposten som läckte ut idag har analyserats. Tumnagel
-0.3°
0
Trailer för dokumentärfilm om Zedd The Moment of Clarity "The Moment of Clarity" är en dokumentärfilm där vi får följa med EDM-artisten Zedd på spelningar, när han producerar och livet som en rockstjärna i DJ-branschen. Filmen är 26 minuter lång och den släpps den 18 december. Tumnagel
84kg
0
Lastbil fraktar bort 35 ton tung val Hittades vid en strand i Spanien En död val flöt omkring i närheten av en strand i Spanien och här får vi se när den bogserades i land för att sedan fraktas bort på en lastbil. Valen mätte 16 meter på längden och sägs ha vägt 35 ton. Tumnagel
40.4°
0
Försäljningen av smartphones ökade 20 procent under kvartal 3 Kineserna kommer starkt Gartner har tagit fram global statistik över hur mycket mobiltelefoner det såldes runt om i världen under kvartal tre och när det gäller smartphones så handlade det om cirka 300 miljoner stycken vilket är en uppgång med cirka 50 miljoner enheter sedan samma period 2013. Första- respektive andraplatsen innehas som "vanligt" av Samsung (24.4%) och Apple (12.7%) men därefter hittar vi de tre kinesiska företagen Huawei (5.3%), Xiaomi (5.2%) samt Lenovo (5.0%). LG, Sony Mobile, HTC och alla andra smartphonetillverkare delar på de resterande 47,5% av marknaden. Hoppa vidare under "Läs mer" för att kolla in vilket operativsystem som dominerat samt även hur försäljningen av smartphone plus "dumbphones" totalt sett ut för kvartal tre 2014. Tumnagel
38.7°
0
Mercedes-bussen som fraktade Porschar Hjälpte många bilar till seger När man ska kuska omkring racerbilar till olika banor världen över behöver man ett bra transportmedel. En släpkärra kan såklart fungera, men en egen racingbuss är ju det som alla drömmer om. Just en sådan, från Mercedes, användes flitigt under 60- och 70-talet och faktiskt även in på 80-talet för att köra ett gäng Porschar och här får vi en liten historia om den. Tumnagel
98kg
0
Amerikanska armén utvecklar en robot-tonfisk En ny generations undervattensdrönare Den amerikanska armén håller för tillfället på med att ta fram lite nya drönare för att kunna spionera och samla in information på sätt som inte gjorts tidigare. De nya drönarna är undervattensdrönare och även om det har funnits tidigare så är det nya med dessa att de kommer att vara utformade som 1,5 meter långa tonfiskar. Tanken är att de kommer att simma som tonfiskar och med nästan all sensorutrustning som finns idag så kommer de att se ut som tonfiskar trots att de alltså i själva verket är robotspioner. Varför man har valt just en tonfisk som modell beror på att tonfisken till skillnad från andra fiskar endast rör på halva kroppen för att taskig framåt, något som är enklare att efterlikna på artificiell väg. Hittills så har projektet kostat en miljon dollar och kanske kommer de ha en färdig produkt redan nästa år. Tumnagel
44.2°
0
Mer nytt från Marilyn Manson Deep Six Marilyn Manson släpper nu sin andra singel från den kommande plattan The Pale Emperor som släpps den 19 januari. Tumnagel
112kg
0
Är detta en OnePlus One Mini? Skärm på fem tum istället för 5,5 tum Nu lagom till jul så har OnePlus öppnat upp så att vem som helst kan köpa en OnePlus One och nästa år så kommer vi troligen att få se en uppföljare av telefonen. Nu kommer dessutom rykten om att det kommer en ”mini”-version av OnePlus One och det är den ni kan se på bilden här. Med mini så menas att telefonen har en femtumsskärm, något som kanske inte är superlitet, men det är mindre än den 5,5-tumsskärm som OnePlus One har. Andra specifikationer som denna mini-version ryktas ha är en Qualcomm Snapdragon 615 samt dubbla åttamegapixelskameror, en fram och en baktill. Mycket mer än så vet vi dock inte men det skulle inte vara helt fel med en lite mindre OnePlus-telefon. Tumnagel
48.4°
0
Allt fler svenskar gör bankärenden i mobilen En del använder enbart mobilen Antalet svenskar som gör sina bankärenden via mobilen blir bara fler och fler visar statistik från Swedbank. Swedbank har fyra miljoner kunder och av dessa är hälften anslutna till mobilbanken. Vidare visar statistiken att nästan 30% av de som är anslutna till Swedbanks mobilbank, alltså närmare 600.000 personer, enbart gör sina bankärenden via mobilen och aldrig loggar in på Swedbanks internetbank. Hur gör du själv dina digitala bankärenden? Svara gärna på vår enkät nedan. Tumnagel
44.7°
0
Serie från Honda om Dakar På två hjul genom öknen 1986, 1987, 1988 och 1989 vann Honda Paris-Dakar-rallyt. Nu har tillverkaren tagit fram serien True Adventure som blickar tillbaks på den tiden och där vi får saker återberättat från folk som var med. Det första avsnittet hittar du här ovan, och det andra som släpptes häromdagen här nedan. Tumnagel
83kg
0
Snygg sammanställning av Star Citizen Gjord av ett fan Innehållet i det av många efterlängtade Star Citizen har släppts, och släpps fortfarande, i omgångar och nu har youtubaren sioh06 satt ihop en snygg trailer som visar en del av vad spelet har och kommer att erbjuda. Enjoy. Tumnagel
47.4°
0
Athena blev första roboten som flög som betalande passagerare Humanoiden åkte i kabinen som alla andra Den humanoida roboten Athena ska enligt The Verge vara den första roboten någonsin som flugit som betalande passagerare i en reguljär flygstol. Det hela ska ha skett med ett Lufthansa-plan på väg från Los Angeles till Tyskland och roboten ska haft med sig två tekniker som sällskap. Athena gick dock inte ombord planet för egen maskin, trots att den är försedd med ben, utan blev inrullad i en rullstol av en av teknikerna. Vad Athena ska göra i Tyskland framgår inte av artikeln. Tumnagel
23.5°
0
Klocka i form av en analog voltmätare Snyggt att ha på skrivbordet Några smarta människor har tidigare byggt ihop egna bordsklockor av gamla analoga voltmätare med hjälp av mikrokontrollerkortet Arduino men om du inte har den kunskapen och vill köpa en färdig produkt finns det nu en på Kickstarter. Den heter AWK-105 Analog Voltmeter Clock och målet på 5 000 dollar har precis passerats så nu väntar den bara på att gå i produktion. Fönstret till vänster visar timmar medan det till höger visar minuter. När 12 timmar eller 60 minuter har gått hoppar mätarna tillbaks till 0 igen och börjar om. De första leveranserna väntas skeppas i april nästa år och är du snabb och lägger en beställning nu får du ett exemplar för 60 dollar. Tumnagel
188kg
0
Hearthstone kommer till Android om några dagar På tiden! Det är nog många som väntat på det här beskedet. Hearthstone kommer snart att släppas till Androidenheter där versionen för surfplattorna anlände redan i dag i Australien, Kanada och Nya Zeeland och som om bara några dagar ska släppas globalt. Under nästa år kommer spelet också till Androidtelefoner. Ingen koll på Hearthstone? Kolla in trailern ovan. Tumnagel
45.7°
0
KTM släpper ny teaser för X-Bow GT4 Banbilen får 320 hästar KTM delar nu med sig av teaserbild på banbilen X-Bow GT4 som de bygger tillsammans med Reiter Engineering. KTM berättar även att bilen kommer att få en 2-liters TSFI-motor hämtad från Audi och effekten på den ska vara 320 hästar. Kopplad till motorn sitter en sekventiell sexstegad växellåda med paddlar bakom ratten. GT4 X-Bow kommer att kunna tävla i racingklasserna SRO GT4 och Pirelli World Challenge GT-S. När den släpps och vad den då kommer att kosta är oklart för tillfället. Tumnagel
41.0°
0
Funktionella sportkläder för staden NikeLab ACG återuppstår NikeLab ACG är en serie med funktionella och skyddande kläder som togs fram för över 30 år sedan. Nu återupplivar Nike serien igen och det är samma tänk då som nu. I kollektionen finns ytterkläder, tröjor, skor och väskor i materialen Nike Tech Fleece, Nike Dri-FIT Wool och Nike Flyknit. Designat har Errolson Hugh gjort, och han är duktig på passform, klädkonstruktion och vad vi människor vill ha för funktionalitet i våra kläder. Nya NikeLab ACG släpps den 18 december på länken nedan. Tumnagel
95kg
0
Forskare lyckas göra grafen magnetiskt Genom att tillsätta bly Då var det dags för dagens andra artikel om grafen, denna är dock mer positiv än den tidigare. För de som inte vet så är grafen ett kollaterat material som går att tillverka endast en atom tjockt och det skulle kunna innebära massor av genombrott i framtiden. Grafen går att bygga starkt, lätt, genomskinligt och kan dessutom bli nästa material vi bygger processorer av. Detta om man löser alla problem som har med tillverkningen att göra det vill säga. Något som dock grafen inte är är magnetiskt men nu verkar ett gäng forskare från flera olika universitet i Spanien hittat ett sätt för att få grafen magnetiskt. Detta har de lyckats med genom att använda lite bly som lägger sig i ett eget lager under atomlagret som bilder grafen. Vill du veta mer tekniskt än så så rekommenderar jag länken nedan. Tumnagel
50.2°
0
Scania släpper Android Wear-klocka Egentligen är det en Sony SmartWatch 3 Lastbilstillverkaren Scania släpper nu sin "egen" Android Wear-klocka som man har döpt till Black Griffin. Det handlar dock inte om en helt egen produkt utan egentligen är det en Sony SmartWatch 3 som man har brandat om lite samt försett den med en app som gör att användaren kan hålla koll på sin Scania-lastbils fart, bränsleförbrukning samt hur effektivt man kör. Denna app ska vara unik för Black Griffin och ska alltså, för tillfället åtminstone, inte finnas tillgänglig till andra Android Wear-klockor. Black Griffin släpps i en begränsad upplaga på 999 stycken och de kommer att kosta 295 euro styck vilket är ungefär 30-40 euro mer än vad en vanlig Sony SmartWatch 3 kostar. Tumnagel
46.5°
0
Året hos Conan O'Brien Kul supercut visar vad som skett på programmet Året är snart slut och det innebär att vi kommer att få se mängder av topplistor samt artiklar om samlar årets händelser inom olika områden. Här kommer Conan O’Briens sammanfattning av hur årets på hans show har sett ut och det i form av en riktigt grym supercut. Tumnagel
111kg
0
Uber svarar på kritiken av God View Begränsar nu användandet Förra månaden så blev det en hel del skriverier om Uber när det kom fram att de hade ett verktyg som kallades ”God View”. God View var ett verktyg där man kunde följa Ubers kunder och och bilar för att se var alla befann sig för tillfället med mera. Det är inte förvånansvärt att Uber har möjligheten att titta upp sådant då tjänsten inte skulle fungera annars. Vad som dock var det stora problemet var att detta verktyg var öppet för nästan alla anställda och inget som låg bakom stränga regler för att skydda användares personlig integritet. Detta blev väldigt klart då en av Ubers chefer i New York vi namn Josh Mohrer använt sig av verktyget för att hålla koll på vad en journalist hade för sig. En amerikansk senator vid namn Al Franken bad Uber förklara sig och nu så har Uber svarat med sin version av det hela samt vilka åtgärder de vidtagit. Enligt Uber så använda Mohrer God View endast för att skicka ut påminnelser som journalisten inte fått och frågat efter. Sedan så använde han den igen för att se var hon var när hon blev 30 minuter sen med Uber, det vill säga vad han ansåg var okej användningsområden. Uber säger att de gett Mohrer en rejäl reprimand samt att de stängt av möjligheten för nästan vem som helst att nu komma åt God View. Från och med nu så kan bara de som jobbar med att allt ska fungera och de inom liknande områden komma åt God View. Lite bättre i alla fall. Tumnagel
35.2°
0
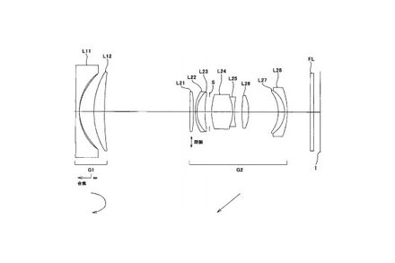
Spegellös fullformatare från Nikon på gång? Nytt patent visar ett objektiv för en sådan kamera Här är ett lite udda patent från Nikon som nyligen dykt upp på nätet då det blev godkänt men som Nikon ansökte om i maj förra året. Patentet föreställer ett objektiv för fullformatskameror och med en brännvidd på 28-80mm och en ljusstyrka på f/3.5-5.6 så är det inget speciellt. Vad som gör det hela speciellt är att det är anpassat för en spegellös kamera. Det är nämligen så att Nikon i dagsläget inte har någon spegellös kamera med sensor i fullformat så frågan är om det är något som vi kan få se dyka upp under nästa år? Tumnagel
40.0°
0
D’Angelo släpper albumet Black Messiah Första nya materialet på 14 år Soulsångaren Dx27Angelo släpper nu albumet Black Messiah som är det första nya materialet från artisten på 14 år. Med på plattan gästar bland annat Pino Palladino, Q-Tip och Kendra Foster. Tumnagel
97kg
0
Microsoft fixar stöd för gester på Windows Phone Lite enklare att kontrollera telefonen Microsoft har implementerat stöd för vissa gester på Windows Phone vilket gör att man kan utföra vissa av telefonens funktioner enbart genom att hålla den på olika sätt. Man kan bland annat sätta på högtalarfunktionen automatiskt om man lägger telefonen på bordet, tysta telefonen om man lägger den upp och när samt återuppta ett samtal om man tar upp telefonen från bordet och sätter den mot örat. Microsoft har släppt en "Gesture Beta"-app för det här och den går att ladda ner här. Tumnagel
46.5°
0
Topp 10 udda julfoton Awkward Family Photos sätter ihop en lista Sajten Awkward Family Photos är det väl inte någon som har missat? Där kan få se väldigt många fina familjefoton som ja, kanske inte är helt vackra eller speciellt politiskt korrekta. Här har vi deras topp tio-lista över vad de anser är de mest mysko julfotona. Tumnagel
38.9°
0
Möt designern som tog fram BMW:s första konceptbil Paul Bracq Paul Bracq är designern som tillsammans med Bela Barenyi ritade fram formerna på Mercedes-Benz SL Coupe på 60-talet. Paul ligger även bakom designen på snabbtågen TGV och han var den som ritade BMW:s allra första konceptbil - BMW Turbo. Tumnagel
90kg
0
Nu kan du styra Netflix med klockan Netflix flyttar in i Android Wear-klockor Netflix har uppdaterat sin android-app och den klart största nyheten är att man nu har implementerat stöd för Android Wear vilket gör att man kan kontrollera vad som visas på TV:n direkt från sin Android Wear-klocka. Förutom det så kan man nu även rekommendera saker att titta på till sina vänner, tacka vänner som har rekommenderat något man ska se, visa bilder och info till filmen man tittar på samt spela upp och pausa denna direkt från telefonen. Tumnagel
51.0°
0
Det bästa från Youtube 2014 En riktigt bra sammanfattning! Luc Bergeron har klippt ihop en sammanfattning av 2014 som faktiskt är riktigt bra. 233 videos har han fått ner till sex minuter och 44 sekunder. Här är hela listan på klipp: Tumnagel
64.1°
0
Snowboardfilmen No One Knows Mäktiga vyer Snowboardåkare från Schweiz, Frankrike och Österrike samlas i filmen No One Knows för att åka lite bräda på fantastiska platser i bland annat Japan, Norge och Alaska. Tumnagel
91kg
0
Funktioner från Windows 10 Consumer Preview avslöjas Läcker ut i build 9901 Om ungefär en månad så kommer Microsoft att släppa Windows 10 med fokus på funktioner för konsumenter. Paul Thurrott skriver på sin sida "SuperSite for Windows" om en del av de funktioner som kommer att komma, något som avslöjats i och med build 9901. Nedan kommer en lista över en del av de funktioner vi hittar i Consumer Preview av Windows 10: Utökad version av Cortana Enad Windows Store som har appar, spel, musik och annan media. Omgjorda appar för Xbox och foton Ny app för inställningar som visar att Microsoft kan ersätta både PC-inställningar och Kontrollpanelen med ett gränssnitt. Windows 10 kommer inte att släppas förrän under andra halvan av nästa år men det börjar redan se väldigt imponerande ut. Microsoft kommer ihåg sina rötter, det vill säga den stationära datorn som ännu inte är död, men behåller ändå en del av det som skapades med Windows 8. Tumnagel
41.2°
0
Resekurage - ny sajt mot barnsexhandel På utlandssemestern Childhood Foundation lanserar idag tillsammans med Polisen och lite andra en sajt som man kallar för Resekurage vars syfte är att motverkar barnsexhandel utomlands. Sedan 2005 är det förbjudet att för svenskar att köpa sex av barn begå sexualbrott mot barn oavsett var detta sker men trots det visar beräkningar från Stockholms Universitet att tusentals svenskar köper sex med barn varje år. Det är dock väldigt få som grips, åtalas och döms för detta och TT skriver att totalt sju svenska män dömts för sexbrott mot barn begångna utomlands de senaste fyra åren. På Resekurage kan man rapportera om misstänkt sexuell exploatering av barn som man ser på sin utomlands och kanske det kan bidra till att sänka svenskars sexualbrott mot barn utomlands. Nedan hittar ni en kampanjfilm för Resekurage. Tumnagel
48.1°
0
Optiska illusioner trollar med din hjärna Fungerar även på katter Om du vill få din hjärna att jobba lite är det bara att titta på den här videon. Tumnagel
132kg
0
Vetenskapen bakom att backa en bil Och varför ett släp aldrig åker dit du vill Har du någonsin funderat över varför det är så svårt att få en bil att åka exakt som du vill när du backar eller ännu värre, backar med släp? Här kommer en liten förklaring om varför bilen beter sig som den gör om det är något du inte funderat över tidigare. Tumnagel
38.8°
0
Den här killen har gjort sin egen Hoverboard Mästerligt! Varför vänta på att första hoverboarden äntligen ska bli klar och till försäljning?, när man kan bygga sin egen med vanliga prylar. Den här killen använder sig utav lövblåsare, lite tejp och en plywood-skiva. Lätt som en plätt! Tumnagel
50.8°
0
Bakis när du är 20 vs bakis när du är 30 Vilket är värst? Jag tillhör kategorin som snart kommer att fylla gubbe - det vill säga 30. Det här med att gå ut och festa och dricka kopiösa mängder med sprit har jag sedan länge lämnat bakom mig, jag orkar helt enkelt inte med det längre. Efterfester är ett minne blott och när klockan passerat midnatt börjar kroppen tacka för sig och längta efter sängen. Men frågan är om det var bättre förr? BuzzFeed bestämde sig för att testa vilken baksmälla som är värst - den när du är i 20-årsåldern eller den när du har passerat 30. Tumnagel
21kg
0
BuggyCam är en radiostyrd bil med kamera Stabil filmning i 65 kilometer i timmen Det är mycket prat om att filma häftiga videoklipp med hjälp av flygande multicoptrar men man kan göra ganska häftiga saker med liknande teknik fast på hjul. Här är BuggyCam, en liten radiostyrd buggy som fått ett gyro med kamerafäste monterat på sig. Den kan köra i hela 65 kilometer i timmen och samtidigt filma stabiliserat videomaterial även i skog. Den går tyvärr inte att köpa utan det är en skapelse som gänget bakom hyr ut tillsammans med förare och kameraman. Tumnagel
42.9°
0
Muggen för Playstation-älskaren Game over! Älskar du att sitta med kontrollen i handen där hemma i soffan? Vill du ta den känslan till kontoret kan den här muggen sitta finfint. Tyvärr ingen julklapp eftersom den är slutsåld, fler kommer i februari. Tumnagel
43.3°
0
Häftiga trampolintricks Snurrigt Devin Supertramp har filmat ett gäng duktiga trampolinsnubbar som visar några av sina bästa tricks. Tumnagel
114kg
0
Årets bästa filmer intryckta i ett klipp Final Cut 2014 Året börjar lida mot sitt slut och det är dags att sammanfatta lite olika saker som inträffat under 2014, bland annat vilka filmer som har släppts. I det här klippet har man kokat ner vad man tycker är årets bästa. Har du sett alla? Och vilken eller vilka tycker du borde ha fått vara med här? Tumnagel
39.7°
0
Google hotas med miljonböter i Nederländerna Följer inte landets lagar om personlig integritet I lite olika länder runt om i Europa så får Google skit för att inte bry sig nog mycket om personlig integritet och det är flera länder som hotat Google med vite om de ej följer landets regler. Ett av dessa länder är Nederländerna som nu ger Google två månader på sig att fixa problemen. De saker som måste ordnas upp enligt de nederländska myndigheterna är att Google måste fråga användarna om lov om exakt allt som Google håller på med bakom kulisserna samt att de måste informera användarna om detta på ett bra och tydligt sätt. Om inte Google löser detta inom dessa månader så kommer de att få ett vite på 15 miljoner euro, det vill säga runt 142 miljoner svenska kronor. Tumnagel
48.3°
0
Funkar en V8:a i en Nissan 240SX? Motor Trend testade Nissan 240SX är populär att trimma och många hänger även i andra motorer. Motor Trend är nu klara med sitt projekt - att stoppa ner en LS3-V8:a med 430 hästar från Camaro SS under huven. Resultatet verkar riktigt roligt. Tumnagel
106kg
0
Ny trailer för Until Dawn Varning för spoilers I trailern ovan får vi se en del gameplay från kommande Until Dawn. Demonstrationen visar en möjlig väg spelets handling kan ta, men det finns många olika möjligheter att se fram emot. Utvecklarna beskriver det själva som att varje val du gör i spelet får konsekvenser och även om de inte behöver vara farliga så kan de kasta dig in på helt andra spår än tidigare. Tumnagel
39.9°
0
Världens snabbaste monster truck The Raminator Hall Brothers Racing har nu slagit världsrekord med deras monster truck The Raminator. Vid en körning på Circuit of The Americas i Austin, Texas, kom kärran upp 159.48 km/h vilket var tillräckligt för att klå det gamla rekordet som låg på 155.78 km/h. Tumnagel
35.5°
0
God stout från Stockholm Brewing Co Mycket smak utan mycket alkohol I helgen så testade jag denna godbit som nyligen letat sig ut på krogar runt om i stockholmstrakten. Detta är Cheeky Little Stout från Stockholm Brewing Company och jag är mäkta imponerad. Det är en stout med låg alkoholvolym men med massor av smak, något som inte är helt vanligt idag. Ölet är fullt av rostade fina toner men man hittar även en hel del smak av humlen vilket balanserar det hela bra trots att ölet på grund av sin låga alkoholstyrka får ganska tunn kropp. Det är helt enkelt ett rejält drickbart öl som passar perfekt för mat eller när man vill bryta av från alla humlebomber. Detta skulle kunna vara min nya favorit vad gäller vardagsstout så nu är det bara att hoppas på att den dyker upp på Systembolaget inom kort. Tumnagel
86kg
0
Klartecken för nakenscanning i Papers Please Klassas inte längre som pornografi Häromdagen rapporterade vi om att Apple reagerat på den så kallade "nakenscanningen" i passkontrollen på spelet Papers Please. Apple ansåg att det var pornografiskt innehåll och därför var spelets skapare Lucas Pope tvingad till att släppa iPad-versionen av spelet utan möjlighet att nakenscanna. Nu verkar det dock som att Apple har ändrat sig och gett klartecken till Pope att återigen införa nakenscanningen. Tydligen var det ett misstag från Apple sida som gjorde att innehållet klassades som pornografiskt. "Just talked to Apple. The initial rejection for porn was a misunderstanding on their part. They suggested I resubmit with the nudity option. "[They] made it clear that their concern was not the pressure [from press], but the mistake on review." Ja, det var ju bra. Tumnagel
50.4°
0
All I Want For Christmas Is Food Mopsen Doug är hungrig Jag håller med Doug, det enda jag vill ha i jul är mat. Tumnagel
32.0°
0
Snubbe försöker flörta vid rödljusen Scootergubbe förstör En snubbe som var ute med sin motorcykel blev intresserad av en annan motorcyklist men hon försvann i trafiken. Två månader senare råkar han dock se henne igen när han är ute och kör, och ser då sin chans till att flörta lite. Det är då en scootergubbe kommer och förstör alltihopa. Tumnagel
187kg
0
Rykte Bose startar egen streamingtjänst? Inte lite för sent för det? Det ryktas om att hifi-företaget Bose funderar på att bygga sin egen molnbaserade musikstreaming-tjänst skriver HypeBot och jag antar att denna i så fall skulle bli något liknande som värsta konkurrenten Beats redan har med sitt Beats Music. HypeBot skriver även att Bose är ute efter att anställa en "Senior User Experience Designer of Cloud Music Services" [länk] där man även skriver att den arbetssökande bör ha erfarenhet från företag som Pandora, Spotify, Apple, GooglePlay med flera. Om Bose lanserar en egen streamingtjänst så är det väl inte helt omöjligt att denna i så fall kan komma att bundlas med vissa av deras produkter vilket antagligen skulle kunna ge dem en liten marknadsandel men jag kan tycka att det kanske är lite väl sent att ge sig in på den mycket konkurrensutsatta streamingmarknaden just nu. Tumnagel
25.8°
0
Patch till Assassin's Creed Unity skjuts upp Ubisoft vill göra fler förbättringar Ubisoft fortsätter att jobba på stabiliteten i Assassinx27s Creed Unity men skjuter nu upp den uppdatering som skulle ha släppts igår. Tanken med uppdateringen är att göra spelet mer stabilt men eftersom Ubisoft ansåg att uppdateringen inte levererade tillräckligt mycket förbättringar försenas den med minst några dagar. På spelets hemsida kan man läsa: Rigorous quality control is of paramount importance to us, and your feedback over these past weeks has indicated that it is important to you as well. As stated last week, we’d expected to release the patch today (and we know that many are anticipating its release), but we are choosing to hold off until we can give you the improvements we’ve promised. We are committed to delivering major performance improvements, which requires that we refurbish the Paris map and that will take a few more days to hit the high level of quality our players deserve. Thank you very much for your understanding and continued patience. Samtidigt meddelar Ubisoft att de som har köpt Assassinx27s Creed Unity Season Pass eller Gold Edition från och med nästa vecka kan ladda ner sitt utlovade gratisspel. Spelet måste laddas ner på samma plattform som kopian av Unity finns på och spelen som man kan välja mellan är: The Crew, Far Cry 4, Watch Dogs, Assassin’s Creed Black Flag, Rayman Legends och Just Dance 2015. Tumnagel
36.0°
0
Ett hagelgevär blir till Så här ser det ut hos Beretta Vapen är skit men att se ett hagelgevär tillverkas är ändå rätt så fascinerande. Tumnagel
153kg
0
Läckt bild från Windows 10 visar Xbox-app Binder samman plattformarna tätare Det verkar som om Microsoft än tydligare vill knyta samman sitt operativsystem för datorer med sina spelkonsoler. I läckta bilder från Windows 10 kan vi nämligen se en Xbox-app som enligt The Verge ska vara "ett fönster in mot Xbox totala ekosystem". Det innebär med andra ord tillgång till kompislistor, aktivitetsuppdateringar, achievements och liknande. Som en mer avancerad version av Smartglass. Förra veckan sa också Phil Spencer, chef för Microsoft, i ett uttalande att det var dags för Microsoft att på allvar prata om spel och Windows. Kanske var det just det här han syftade på då. Tumnagel
42.1°
0
Snubbes kranfrieri slutade i katastrof Kraschade in i grannens tak- två gånger En överambitiös snubbe från Holland ville fria till sin flickvän på ett ganska spektakulärt sätt - genom att firas ned utanför sin älskades sovrumsfönster av en mobilkran. Planen gick till en början helt okej, men efter en stunds firande välte kranen - rätt in i grannens tak. När kranen i sin tur skulle lyftas upp av en större kran ramlade den ner på taket igen. Trots den säkert mycket kostsamma fadäsen sa kvinnan ja. Tumnagel
61.4°
0
Över 100.000 Wordpress-sajter smittade med skadlig kod Kunde ha förhindrats Säkerhetsbloggen Sucuri har upptäckt att över 100.000 sajter som använder sig av den populära webbplattformen Wordpress är smittade av skadlig kod. Man säger att koden har sitt ursprung i Ryssland men det är fortfarande okänt vad SoakSoak, som man namngivit programvaran, gör för skada för dem som besöker de infekterade sajterna i fråga. Sucuri säger även att koden spridits via en tredjepartsplugin till Wordpress som heter RevSlider och att företaget bakom denna plugin redan i september fick reda på att den kunde utnyttjas i syfte att sprida skadlig kod. Tyvärr verkar man inte ha åtgärdat problemen då och därför var det väl egentligen bara en tidsfråga innan någon skulle utnyttja pluginens sårbarhet. Den skadliga koden drabbas bara de som driver wordpress-sajter på egna eller tredjeparts-servrar och har man en Wordpress-sajt på Wordpress.com så ska man inte vara drabbad. Google hade igår identifierat 11.000 Wordpress-sajter som drabbats av SoakSoak och lagt in dessa i sitt spärrfilter. Detta är dock bara en liten del av de minst 100.000 sajter som sägs vara drabbade. Totalt finns det över 70 miljoner sajter som använder Wordpress som webbplattform men det är bara de som använder sig av RevSlider som i dagsläget kan drabbas av SoakSoak. Tumnagel
30.2°
0
Elov Olsson sprang 25.3 mil på 24 timmar Bra jobbat! I helgen var det 24-timmarslopp på en 239 meter lång inomhusbana i Växjö. Men det var inte tävling i gokart eller cykel, utan i löpning. Loppet går helt enkelt ut på att springa så långt man bara kan på ett dygn. Elov Olsson kom 25.3 mil när klockan tickat klart, vilket är det tredje bästa svenska resultatet genom tiderna och det sjunde bästa i världen. Tumnagel
220kg
0
The Pirate Bay har talat ut om razzian Men det var inte mycket som sades Idag är det en vecka sedan polisen gjorde razzia mot ett internetföretag i Stockholmsområdet som ledde till att torrentsajten The Pirate Bay släcktes ner. Det har varit väldigt tyst från gänget på 30 till 50 personer som idag sägs driva TPB men igår var en av medarbetarna i kontakt med TorrentFreak och gjorde ett första uttalande efter razzian. TorrentFreak har varit i kontakt med en TPB-medarbetarna som kallar sig "Mr 10100100000" och han säger till TF: "We were not that surprised by the raid. That is something that is a part of this game. We couldn’t care less really. We have however taken this opportunity to give ourselves a break. How long are we supposed to keep going? To what end? We were a bit curious to see how the public would react." På frågan om TPB någonsin kommer att återuppstå säger Mr 10100100000: "Will we reboot? We don’t know yet. But if and when we do, it’ll be with a bang." The Pirate Bays framtid verkar med andra ord fortfarande högst oklar och Mr 10100100000 säger även att han skulle önska att det uppstod tusentals TPB:s i originalets frånvaro och att man gärna hade släppt all kod fri om denna inte varit så undermålig, något som man påpekat flera gånger genom åren. Tumnagel
52.3°
0
LG släpper TV-apparater med kvantpunkts-teknik Ska visa upp dessa för första gången på CES-mässan i januari I januari så är det åter igen dags för CES-mässan i Las Vegas vilket är den viktigaste prylmässan i världen där alla stora tillverkare visar upp nya häftiga prylar. LG har nu meddelat att de bland annat kommer att visa upp en ny serie TV-apparater som kommer att använda sig av kvantpunkts-teknik (quantum dot). Detta är en teknik som Samsung har sagt att de kommer att satsa på just nu istället för OLED men nu verkar det alltså vara så att även LG kommer att släppa apparater med tekniken. Exakt hur bra denna teknik är vet vi inte riktigt men den ska vara ett stort steg up från vanliga LCD-apparater. Tumnagel
47.4°
0
Konsten att göra en bok Imponerande process Att se på när en bok tillverkas kan vara en av de mest avslappnande sakerna i världen. Tumnagel
121kg
0
Det här sökte vi efter under året Google sammanfattar Vad vi söker efter på Google speglar vårt samhälle och vad som har hänt under ett år så när Google presenterar sina årslistor är det rätt intressant material. Här är tre frågor som vi svenskar undrade under året... - Hur röstar man? - Hur smittar ebola? - Vad är ALS? Personer vi sökte efter var Robin Williams, Conchita Wurst, Ace Wilder och Sanna Nielsen, filmer vi sökte efter var Interstellar, Annabelle och Frozen och mat vi ville lag var chiapudding, gremolata och pulled chicken. Tumnagel
40.1°
0
Nästa sida + Per månad 39 kr Betala löpande per månad. Ingen bindningstid. Starta prenumeration Per år 299 kr Enklast och billigast, bara 25 kronor i månaden. Betala löpande per år. Ingen bindningstid. Prova 14 dagar gratis innan du bestämmer dig. Starta gratis provperiod Engångsköp 349 kr Slipp återkommande betalningar, betala ett år i taget. Betala med kort eller Swish. Köp utan prenumeration