Teknik Motor Samhälle Spel Popkultur Fritid Tjock Tester Dagens fråga Tipsa! Skaffa Feber+
Hetaste
Senaste
Alla Heta Kalla Öppna i ny flik onsdag 19 februari 2014 fortsättning Somersby lanserar torr cider Somersby Cider från Carlsberg lanserar nu en ny cider som ska vara en torr cider till skillnad från den söta cider de annars står för. Den nya cidern heter Somersby Double Press och hämtar inspiration från de engelska cider-typerna och anledningen till detta är att försäljningen av torra sorter cider har dubblerat sedan 2010. Den lanseras på 33cl-flaska på systembolaget den 3 mars och från och med den 1 april så kan du även beställa cidern i 75cl-flaska om du vill att det ska se fint ut på bordet. Den lilla flaskan kommer att kosta 18,90 kronor och den stora flaskan kommer att gå på 45 kronor. Cidern har en alkoholhalt på 4,5%. Tumnagel
138kg
0
Fira att du kan göra vad du vill "Grow backwards" är en kort dokumentär om Joe Simon som tycker att man ska utforska saker och fira att man faktiskt kan göra exakt vad man vill här i livet. Och hur man som vuxen kan lära sig att vara barn igen - och bara njuta av livet helt enkelt. Läs mer om Joe på länken. Tumnagel
100kg
0
USA har nu fungerande laservapen Inte längre bara prototyper Framtiden är här, USA har precis monterat sitt första laservapen som inte är en prototyp på ett fartyg. Vi har tidigare sett prototyper men nu ska vapnet vara redo för action och laserkanonens främsta uppgift är att skjuta ned drönare samt sänka småbåtar. Visst kanske det inte är den kraftigaste lasern i världshistorien och den är inte lik några framtidsvapen vi ser i scifi-filmer men det är en början. Anledningen till varför man vill utveckla laservapen är att dessa är betydligt billigare att skjuta med. Ett generera elen som krävs för att skjuta ned en drönare kostar bara en bråkdel av vad det kostar att tillverka tusentals patroner eller en raket. Tumnagel
60.5°
0
Things fitting perfectly into other things Dagens Tumblr Då Wille är på semester så tänkte jag att jag slänger upp dagens Tumblr idag och idag tillägnas den den underbara bloggen ”Things fitting perfectly into other things” och vad ni hittar på den kanske är ganska självklart när man läst namnet. Tumnagel
38.9°
0
Husrannsakan mot Kim Dotcom var laglig Ett nederlag för Kim Sommaren 2012 så blev Kim Dotcoms hem på Nya Zeeland invaderat av poliser som beslagtog massor med datorer och hårddiskar samt arresterade honom. Sedan dess så har han slagits för att han är oskyldig och att husrannsakan var olaglig. Han fick rätt för det i första instans men nu så har några domare högre upp bestämt att husrannsakan faktiskt var lagligt utförd. De meddelar dock att polisen gjorde en sak som de ej fick och det var att kopiera alla hårddiskar och skicka dessa till USA. Om detta dock kommer att betyda något bra för Kim Dotcom är oklart. De saker Kim Dotcom står anklagad för är grova upphosrättsbrott och bedrägeri som båda har att göra med hans sajt MegaUpload. Om han döms så kan ha få så mycket som 20 år i fängelse då Hollywood anser att han gjort att de förlorat så mycket som 500 miljoner dollar. Tumnagel
23.1°
0
Illustratör och skejtare I den här mini-dokumentären får vi träffa Ziad Ashraf från Egypten som är illustratör och skejtare. Tumnagel
80kg
0
Musikvideo till Kool Head - Leon Den officiella musikvideon till Kool Heads låt Leon är nu här. Tumnagel
83kg
0
Vågjakt i The Golden City Matt Pagan och Dayton Silva åkte på roadtrip och vågjakt till The Golden City aka San Francisco. Tumnagel
87kg
0
Ørgreen Goggles TAMOK heter danska Ørgreens första goggles där högsta klass på komfort, design och tekniska detaljer skiljer ut dem från mängden. De är namngivna efter skidorten Tamok i Norge , ett snöparadis nära polcirkeln som drar skidentusiaster från hela världen . De finns i två varianter: TAMOK T01 i matt mörkblå försedd med Northern Light Chromelinser och TAMOK T02 i matt svart med Arctic Chromelinser . För att passa i alla typer av väder , kommer varje goggle med ytterligare två linser som säkerställer att ingen dag på fjället blir förstörd av dålig sikt . Limiterad upplaga som endast säljs i utvalda butiker. Tumnagel
79kg
0
Norsk kampanj för SOS-Barnbyar Norskt barn fryser Ett klipp från SOS-Barnbyar där man ville se hur många människor som skulle hjälpa en tunnklädd pojke vid en busshållplats i Norge. Tanken är att detta klipp skall skapa medvetenhet om den pågående konflikten i Syrien där massvis med barn har det jobbigt i olika flyktingbyar. Klippet är en del av en kampanj där man samlar in pengar som går till varma kläder och madrasser för barnen inne Syrien. Vintern därnere kan nämligen vara mycket svår, med temperaturer under fryspunkten, snö samt bitande vind. Tumnagel
56.8°
0
Wu-Tang Clan firar 20 med kollektion I år firar Wu-Tang Clan att det var 20 år sedan de släppte debutalbumet Enter the Wu-Tang: 36 Chambers. Förutom vanligt pompa och ståt har de även samarbetat med skatewear-kedjan HUF och tagit fram en kollektion bestående av ett par HR-1-dojjor, en keps och en tröja. Allt utfört i svart och guld. Kollektion släpps i slutet på månaden. Tumnagel
91kg
0
Stort spel utannonseras till PlayStation 4 nästa månad Men vad är det då? I det senaste numret av brittiska Official PlayStation Magazine kan man läsa en liten notis om att nästa nummers omslag kommer vara på ett spel från en serie som har massiv relevans inom spelbranschen och nu äntligen är bekräftat för släpp på PlayStation 4. Next month’s cover is one of the most exciting in OPM history, with a series of massive significance finally being confirmed for PS4. Why is this a down? Because we can’t say anything more until then. Sorry… Tyvärr kan man ju endast spekulera i vilken spelserie det handlar om just nu men det kan man ju roa sig med tills det här blir offentliggjort. Tumnagel
44.4°
0
Opel presenterar Adam Rocks Adam har gått och blivit ruggad I början av förra året visade Opel upp en lite tuffare konceptversion av modellen Adam som hade tilläggsnamnet Rocks. Nu är produktionsversionen här och den har faktiskt kvar det mesta från konceptet. Rocks är mer ruggad än vanliga Adam och får 15 millimeter högre markfrigång, plast runt hjulhusen, hasplåtar och en överlag fetare look. En del av chassiet har också moddats, och dämparna, fjädrarna och styrningen har setts över. Taket består till största del av ett canvastyg som man kan fälla bort med ett knapptryck på fem sekunder. Tyget finns i de tre färgerna Black, Sweet Coffee och Light Oak. Utsidan erbjuds i ett par nya lacker, bland annat den gula/guldiga Goldbusters som vi ser bland bilderna. Insidan piffas också den upp lite grann med nya inlägg lite här och var och den går i flera olika färger. Under huven blir bilen först med att få den nya trecylindriga turbomatade bensinmotorn på 1.0 liter. Den finns med antingen 90 eller 115 hästar. Utöver det finns det fyror på 1.2 till 1.4 liter. Produktionen av Adam Rocks drar igång i augusti. Tumnagel
37.8°
0
Pingisbollar och pringlesrör Och så lite mycket testosteron Antingen kan man fejka sina tricks som Tumba Ping Pong Show eller så kan man faktiskt vara lite duktig på att kasta pingisbollar. Här kan vi se Dude Perfect kasta pingis-bollar i pringlesrör på en hög olika sätt. och så blanda det hela med en rejäl dos testosteron förstås. Tumnagel
27.0°
0
Rebellen - Watching Cats on the Internet Hibbedihop En liten raptrudelutt av duon Rebellen, som består av Ellen DeGeneres och Rebel Wilson, där de sjunger om att titta på kattklipp. Tumnagel
31.5°
0
LG visar upp G2 mini En mindre G2 LG-telefonen G2 kommer snart få sig en lillebror i form av G2 mini. Skärmstorleken på G2 mini ligger på 4,7 tum men den här ett par kompromisser. G2 mini kör nämligen en Snapdragon 400 eller en Nvidia Tegra 4i som processor istället för en G2ans Snapdragon 800. Skärmens upplösning är också lägre då den "endast" kör qHD (540 x 960). Annat man kan hitta i telefonen är ett 2,440mAh-batteri och 8GB med internt minne (kan utökas med microSD-kort). Mjukvarumässigt skall den innehålla det mesta som G2 har och allt snurrar på Android 4.4 KitKat. Någon gång nästa månad skall den lanseras i utvalda marknader för runt 300 - 400 Euro. Exakt när vi i Sverige får den eller vad den kommer kosta är oklart i skrivandets stund. Tumnagel
33.9°
0
Jimmy Fallons farväl och välkomst Det var tydligen inte så många som trodde på honom Okej, detta får bli det sista Jimmy Fallon-inlägget på ett litet tag men här är två ganska sköna klipp på hur det såg ut när Jimmy lämnade Late Night och hur det såg ut när han tog över The Tonight Show efter Jay Leno. Här ovan kan ni se bland annat Stephen Colbert komma och hälsa på under första programmet och det är bara en av en hel hög stjärnor som dyker upp. Här nedan har ni istället klippet där Jimmy Fallon tackar för sig genom att tillsammans med mupparna sjunga The Bands The Weight. vad tror ni, kommer Fallon att göra ett bra jobb på The Tonight Show? Tumnagel
54.7°
0
Styr din kegerator med hjälp av Android För den ölälskande tekniknörden Detta var en lite kul uppfinning för den som fixat en kegerator hemma. Uppfinningen heter Kegbot och är en liten hårdvara samt en mjukvara som kan göra din kegerator till något helt nytt. Du sätter ett litet kretskort samt en fysisk spärr i din kegerator. Sedan kör du en tablet eller liknande som kontrollstation så alla som vill dricka öl från din öltapp måste logga in för att hälla upp sin öl. Detta gör att programmet kan hålla reda på hur mycket som dricks och då även varna om ölet håler på att ta slut. Den kan även twittra vad du dricker och mycket annat, exempelvis så kan du även köpa till en NFC-avläsare och bara låta folk med ett accesskort hälla upp öl. Kickstarterprojektet har redan fått nog med pengar och du har fem dagar på dig att förbeställa ett chip om du vill ha. För ett kretskort samt den fysiska regulatorn kostar 150 dollar plus 18 dollar i frakt. Tumnagel
39.2°
0
Reportage om Irina Margareta Nistor Smugglade och dubbade 80-talsrullar åt Rumänien Här har vi ett rätt fascinerande reportage om Irina Margareta Nistor som på 80-talet jobbade med att översatta för rumänsk tv under kommunisttiden. Men i på fritiden så översatte hon, i hemlighet, mer än 3 000, av regimen, förbjudna filmer. Hon smugglade in VHS-kassetter från väst och dubbade själv dessa till rumänska i hemmet. De dubbade filmerna spred sig som en löpeld inom landet resulterade i att hon, efter Ceausescu, blev den mest kända rösten i Rumänien, men ingen visste vem denna denna mystiska dubbkvinna var eller hur hon såg ut. För en hel generation människor blev Irina en legend och en person som såg till att även folk i Rumänien fick avnjuta filmer med Van-Damme under 80-talet. Tumnagel
43.7°
0
Alla dessa magiska ringar En guide Väldigt många superhjälte-, sci-fi- och fantasyfilmer kretsar helt eller delvis kring magiska ringar. Publiken gillar det helt enkelt. Flödesschemat ovan kommer från Custom Made och ger oss en liten inblick i ringarna uppdelat på ursprung, utseende och krafter. Du hittar hela guiden via länken. Tumnagel
37.8°
0
Audi cabbar av nya S3 Här är S3 Cabriolet Audi breddar versionerna som har beteckningen S3 på bakluckan och presenterar nu S3 Cabriolet. Audi berättar också att det här är den enda fyrhjulsdrivna cabben i sitt segment. Motorn är samma 2-liters fyra på 300 hästar och 380 Nm som vi sett tidigare. Till den kopplas som standard en S Tronic-dubbelkopplingslåda med sex steg som alltså skickar kraften till alla fyra hjulen. 0-100 km/h ska gå på 5.4 sekunder och toppfarten är elektroniskt spärrad till 250 km/h. Förbrukningen anges till 0.71 liter per mil, vilket ger ett utsläpp på 165 gram per kilometer. Bilen mäter 4.43 meter på längden, 1.79 på bredden och 1.39 på höjden. Hjulbasen är på 2.6 meter och vikten på bilen anges till 1 620 kilo. Cabtaket som är i tyg finns i tre olika färger och fälls upp eller ner på 18 sekunder i upp till 50 km/h. S3 Cabriolet börjar säljas till våren och på prislappen står det då 461 000 kronor. Allt om bilen finns att läsa i pressmeddelandet nedan. Tumnagel
40.1°
0
Nvidia lanserar GeForce GTX 750-serien Maxwell är här Nvidia har under veckan lanserat GeForce GTX 750-serien som inkluderar GTX 750 Ti och GTX 750. De båda korten baserar sig på en ny GPU som blir den första GPUn med den nya arkitekturen Maxwell. De tillverkas dock fortfarande med 28 nm-processen men för ändå med sig en hel del förbättringar jämfört med Kepler. GeForce GTX 750 Ti kommer med 640 CUDA-kärnor, 48 TMUs och 16 ROPs samt att det får 2 GB GDDR5-minne som kopplas via ett 128-bitars minnesgränssnitt. GeForce GTX 750 har något lägre specifikationer och får 512 CUDA-kärnor, 40 TMUs och 16 ROPs samt att det endast får 1 GB GDDR5-minne kopplat över samma 128-bitars minnesgränssnitt. Priset för de två modellerna kommer att hamna på omkring 150 dollar för GTX 750 TI och 120 dollar för GTX 750. Tumnagel
37.9°
0
Mata fiskar över internet Om man nu vill det Fiskar enligt mig är oftast ganska ogulliga och slemmiga men fina fiskar i akvarium kan ändå vara lite avslappnande. Om du är en av de som tycker det men inte har ett akvarium att tillgå så finns det nu ett på internet. På Aquard.io kan man hitta ett gäng webbkameror som filmar ett akvarium från olika vinklar och spelar avslappnande musik. Det är dessutom interaktivt om man tycker lite filmande fiskar känns för långt bort för att ge en avslappnande känsla. Du kan där nämligen ställa dig i kö för att via internet få mata fiskarna och om det är så att de ej behöver mat så kan du istället leka med lite luftbubblor så du i alla fall känner dig lite närmare. Tyvärr så sover fiskarna just nu men titta in senare. Tumnagel
40.0°
0
Internet är bra Var man än är Klipp som visar vilken betydelse ett bibliotek som har datorer uppkopplade mot Internet har haft för folket som bor i närheten av den lilla orten Isinya i Kenya. Tumnagel
38.8°
0
Launch-trailer för Strider Släpps idag Det nya Strider-spelet släpps idag på PlayStation 4, PlayStation 3, Xbox One, Xbox 360 och Windows och här har ni en launch-trailer. Om ni behöver en liten uppfräschning av minnet från tidigare Strider-spel så rekommenderar jag att ni klickar in er på det inbäddade inlägget nedan där Capcom berättar mer om de gamla spelen. Tumnagel
37.7°
0
T-Mobile riktar reklam mot BlackBerry-användare Tycker att det är dags att byta märke nu Under de senaste dagarna så har det skett en lite kul såpopera-liknande händelse i staterna. T-Mobile gick nämligen ut med en kampanj där de tyckte att BlackBerry-kunder borde byta till iPhone och de fick den dessutom ”gratis”. Detta gjorde att ett gäng BlacBerry-fanboys blev lite sura och så även BlackBerrys nya VD som skrek ut sin ilska på BlackBerrys blogg. T-Mobile har bett om ursäkt men lite roligt att se en så stor operatör helt öppet visa att de tycker att BlackBerry kanske är något som inte kommer att finnas kvar så länge. Tumnagel
39.2°
0
Nya bilar till Need For Speed: Rivals Ferrari och Jaguar Om du gillar fräsiga bilar och Need For Speed: Rivals så har EA nu berättat att de släppt några nya bilar som kan köpas och laddas ner till spelet. Det är fyra stycken Ferrari och fyra stycken Jaguar. Tumnagel
35.1°
0
Nokia visar upp X på MWC Vilket sannolikt är Nokias Android-lur Om drygt fyra dagar som kommer Nokia hålla ett pressevent på Mobile World Congress nere i Barcelona. Med största sannolikhet så kommer man där visa upp sin beryktade Android-telefon som enligt tidigare läckor och nu officiellt promomaterial kommer heta Nokia X. Specifikationer för denna telefon läckte för någon vecka sedan och visade att denna Android-telefon inte har så mycket sisu i sig som man kanske hade velat. Nokias pressevent kommer även visas på nätet om man nu vill se denna telefon offentliggöras i direktsändning den 24:e. Tumnagel
40.1°
0
Luigis år är snart slut Blir det något nytt tema-år? Förra året ungefär vid den här tiden deklarerade Nintendo att 2013 skulle bli "The Year of Luigi" för att fira att den grönklädde brodern som annars lätt kommer i skymundan av Mario, fyllde 30 år. Det kom ut ett antal spel med Luigi i huvudrollen, bland annat Lugis Mansion 2, New Super Luigi U, Dr Luigi och Mario & Luigi: Dream Team Bros. Nu har Nintendo bekräftat att The Year of Luigi officiellt kommer att avslutas den 18 mars i år. I samband med detta kommer också diskussionstrådar på MiiVerse kring detta att tas bort. Frågan är nu om Nintendo väljer att uppmärksamma någon annan bortglömd karaktär i år? Kanske dags för Samus att få lite mer rampljus i år? Eller varför inte F-Zero, Advance Wars eller någon annan spelserie som vi inte sett på länge? Vad vill ni helst se för nytt spel i år? Tumnagel
37.1°
0
Really3D gör om Musse Pigg som Ångbåtskalle Med hjälp av avancerad datorgrafik Den underhållande YouTube-kanalen Really3D bjuder på jämna mellanrum på underhållande klipp där man gör 3D-animerade versioner av saker och ting. Här har vi det senaste klippet där man gjort om den klassiska animerade Disney-filmen från 1928 Musse Pigg som Ångbåtskalle i 3D. Tumnagel
23.4°
0
Rayman Legends till PS4 och Xbox One Släpps i morgon Förra året släpptes det fantastiskt trevliga Rayman Legends till en rad olika plattformar. Men eftersom varken PS4 eller Xbox One fanns ute på marknaden på den tiden så har dessa versioner fått vänta på sig. Men nu är det alltså dags att släppa lös Rayman även på dessa maskiner. Imorgon släpps det och Ubisoft har skickat ut en ny trailer för att påminna oss om detta. Tumnagel
43.6°
0
SkyDrive blir nu OneDrive Kommer dessutom med lite nyheter Vi har tidigare skrivit om att Microsoft skulle döpa om SkyDrive efter lite problem med att någon annan ägde namnet och nu så har de officiellt gjort så. Numera så heter deras molnlagring OneDrive och de passar då även på att lansera lite nya funktioner. Bland annat så kommer nu Android-telefoner automatiskt kunna säkerhetskopiera alla bilder som tas till OneDrive. En annan nyhet är att Microsoft ger ut lite mer gratis utrymme beroende på hur du använder lagringen. Andvänder du exempelvis funktionen för att låta dina kamerabilder laddas upp så får du 3 GB gratis utöver de 7 GB som ingår. Microsoft vill även påpeka att uppdateringen till OneDrive bör ske automatiskt och att man som använder inte behöver göra något som exempelvis radera sin SkyDrive-app och intstallera en ny OneDrive-app. Tumnagel
42.9°
0
Kevin Spacey imiterar Bill Clinton Oh, he loves it När Kevin Spacey besökte Late Show with David Letterman visade han ytterligare prov på sina presidentskådespelarkunskaper. Det visade sig att vicepresidenten Frank Underwood kan låta väldigt lik den före detta presidenten Bill Clinton när han känner för det. Tumnagel
51.6°
0
iOS Second Chance Heroes har nått App Store Historiska kändisar gör comeback Spelets historielärare har en annorlunda hobby. Han tillverkar kloner av historiska personer i sitt garage. Både ledare och hjältar, alla kan behöva få en andra chans att rädda världen, tycker läraren. Och det får de. Second Chance Heroes är här. Cleopatra, Abraham Lincoln och Napoleon är några av dessa "hjältar" du styr i en zombieinfekterad värld, här i form av ett tjusigt köpcenter. Varför passar zombies och köpcenter så bra ihop? Dessa hjältar är inte bara någon som håller dina vapen utan varje hjälte har ett attribut som gör dem unika. Till exempel har Napoleon en kanon som han rider runt på vilket är ganska kul att se på. Spelet har både singleplayer och multiplayer. I multiplayern kan du spela co-op med två andra spelare. [iOS (gratis)] Tumnagel
36.6°
0
Norwegian flyger nu till Vilnius Norwegian lanserar nu en ny linje mellan Stockholm och Litauens huvudstad Vilnius. Det första flyget går den 8 maj och biljetter hittar man från 249 kr. Litauens vackra huvudstad glöms ofta bort i långweekendplaneringen, men sägs med sina gränder, historia och mysiga stämning vara ett högst intressant resmål. Tumnagel
94kg
0
Estetik på hög höjd Lucinda Grange har koll på det Den brittiska fotografen Lucinda Grange fotograferar till vardags allt möjligt inom sport, arkitektur, resor och äventyr. Men på fritiden passar hon på att klättra på höga byggnader för att ta spektakulära bilder. Lucinda har dock inte som mål att få så våghalsiga bilder som möjligt utan fokuserar snarare på att få till en riktigt estetisk bild på platsen hon är. Ovan kan man se ett reportage om Lucinda och metoderna hon använder när hon skall ta sina bilder. Tumnagel
38.9°
0
Corgi vs. sur karamell Naaaaaaw En liten Corgivalp som kämpar hårt med att få en sur karamell i munnen. Bonuscorgi nedan. Tumnagel
49.9°
0
Om en professionell arborist Caring for Giants är en kort dokumentär om arboristen Jim Meyers och hans team på Hedgehog Tree Care i Portland Oregon. Tumnagel
99kg
0
First Aid Kit till Umeå Open Det blir First Aid Kit som får agera dragplåster för den årliga musikfestivalen Umeå Open. Festivalen har drygt 15 år på nacken och tidigare bokningar för årets upplaga inkluderar bland andra Charli XCX, Ane Brun, Lilla Namo och Yelle. Festivalen äger rum den sista helgen i mars. Biljetter hittar du här. Tumnagel
89kg
0
Broadwell lanseras antagligen senare än väntat Det mesta kommer nog inte förrän 2015 Under förra veckan sades det att Intel skulle skjuta upp lanseringen av 14 nm Broadwell-processorerna till fjärde kvartalet och att de flesta modellerna inte skulle komma förrän första kvartalet 2015. Informationen kom från anonyma källor, något som inte gör det så värst trovärdigt. Nu skrivs det återigen om samma sak men nu kommer det lite mer bevis då kinesiska VR-Zone även postar en del bilder som visar att 15 W och 28 W U-seriens Core-processorer ska släppas under den tidigare nämnda tidsperioden. De två bilderna har en markerats med "Updated" i det övre högra hörnet och vi kan se att tre stycken 15 W-modeller ska släppas under sista kvartalet i år medan resterande ska komma under första kvartalet nästa år. Det ligger i linje med den tidigare informationen som sade att endast U- och Y-seriens processorer skulle komma under året medan resten skulle komma nästa år. Hur det nu kommer bli med Broadwell-K processorerna, som skulle dyka upp under årets sista kvartal, återstår att se men det kan bli så att Haswell Refresh och Haswell-E kommer vara det man får nöja sig med till stationära datorer under det här året. Tumnagel
36.4°
0
Inception i 8 bitar BRRRRRRRAAAAAWWWWRWRRRMRMRMMRMRMMMMM!!! CineFix är tillbaka med en ny 8-Bit Cinema och denna gång bjuder man på en retrospelversion av filmen Inception. Tumnagel
39.1°
0
Dags för Humble Indie Bundle 11 Innehåller bland annat Guacamelee och Monaco Då var det dags igen att öppna plånboken för en ny Humble Indie Bundle. Denna gång har man möjlighet att köpa indiespelen Guacamelee, Dust: An Elysian Tail, The Swapper och Giana Sisters: Broken Dreams för ett kriminellt lågt pris. Om man väljer att betala mer än snittpriset, som just nu ligger på 4,30 dollar, kommer man även få med Monaco: Whatx27s Yours is Mine och Antichamber. Väljer man donera en del av pengarna till välgörande ändamål så går dem till Childx27s Play Charity samt Electronic Frontier Foundation. Tumnagel
40.5°
0
14 minuter bortklippta scener från Game of Thrones S03 Från säsong 3-DVDn Här har vi ett längre klipp där man får beskåda 14 minuter med material som klipptes bort från den tredje säsongen av Game of Thrones. Tumnagel
39.2°
0
Honest Trailer för Gravity Ewww För er som inte uppskattade Gravity (ni verkar ändå vara förvånansvärt många!) kommer här Screen Junkies senaste Honest Trailer. Ganska kul faktiskt! Tumnagel
42.2°
0
Konami jämför Metal Gear Solid V: Ground Zeroes Nu med video Natten till i dag så släppte Konami ett videoklipp där man jämför de olika versionerna av Metal Gear Solid V: Ground Zeroes. Så om man går igång på sådana grejer kan man beskåda jämförelseklippet ovan. Är man inte nöjd med kvalitén som YouTube erbjuder så kan man ladda ner en 60FPS-variant av filmen via länken nedan. Tumnagel
36.2°
0
Fullängdstrailer för Guardians of the Galaxy Nu är den här Jag skulle kunna tjata om hur superbt underhållande detta kommer att bli, men titta på trailern istället. Guardians of the Galaxy har biopremiär den 1: augusti. Tumnagel
65.0°
0
Sir David Attenborough kommenterar curling Amazing! Sir David Attenborough är inte bara en fantastisk man när han kommenterar naturfilm, han verkar också ha en del humor. Här kommenterar han, på sitt speciella sätt, lite curling från olympiska spelen. Tumnagel
68.2°
0
VHS vs kommunismen Under Ceausescus tid fanns det inga amerikanska filmer på biograferna i Rumänien, men VHS-filmer med dåtidens hjältar som Sylvester Stallone smet så klart in över gränsen ändå - på VHS. Och alla filmerna dubbades av samma kvinna som The New York Times har hittat. Tumnagel
98kg
0
tisdag 18 februari 2014 CrossTourer - en mer ruggad Citroën C5 För skogsmullen Citroën vill också vara med i skogsmulle-sandlådan och lanserar därför nu C5 CrossTourer. Den här får högre markfrigång, plast runt hjulhusen och hasplåtar. Perfekt när du ska köra över ett par kvistar på skogsvägen. I upp till 10 km/h får den som rattar en CrossTourer 60 millimeter högre markfrigång än i en vanlig C5 kombi. När man kör mellan 10 och 40 km/h är höjden 40 millimeter. När det går snabbare än så sänks bilen ytterligare för att minska luftmotståndet. Under huven sitter det bara dieslar som har från 115 till 200 hästar och man kan välja mellan två stycken utrustningspaket. När bilen börjar säljas i Sverige och vad den då kommer att kosta är oklart för tillfället. Tumnagel
38.2°
0
Nytt från Salt. Optics O´Bannion, Hirschfelder och Pickford är nya solglasögonsläpp från kaliforniska SALT. Optics. Finns från mitten av februari hos återförsäljarna. Tumnagel
83kg
0
Irrational Games tackar för sig BioShock-studion stänger butiken Irrational Games, studion bakom BioShock och BioShock Infinite, skall stängas ner. Studiochefen Ken Levine nämnde i ett uttalande att han planerar att starta en ny studio som fokuserar på mindre och mer handlingsfokuserade spel som kommer distribueras digitalt. På studions hemsida skrev Ken att han är stolt över vad studion lyckats uppnå under åren men att det var dags att skala ner. "While Ix27m deeply proud of what wex27ve accomplished together, my passion has turned to making a different kind of game than wex27ve done before. To meet the challenge ahead, I need to refocus my energy on a smaller team with a flatter structure and a more direct relationship with gamers. In many ways, it will be a return to how we started: a small team making games for the core gaming audience." 15 personer plockar Ken med sig från studion, resten kickas. "I am winding down Irrational Games as you know it. Ix27ll be starting a smaller, more entrepreneurial endeavor at Take-Two. That is going to mean parting ways with all but about fifteen members of the Irrational team. Therex27s no great way to lay people off, and our first concern is to make sure that the people who are leaving have as much support as we can give them during this transition." Irrational har fortfarande den andra delen av BioShock Infinite: Burial at Sea kvar att släppa men efter det så är det alltså slut på det roliga. Tumnagel
-4.8°
0
Snygg golfbag med Mario-motiv Mario Golf på riktigt Snart släpps Mario Golf till 3DS men vill du hellre spela golf på riktigt så kanske den här golfbagen är att rekommendera. Det är en officiellt licensierad Nintendoprodukt med Mario-motiv. Bagen görs av Enjoy Caddie Bag och kommer kunna köpas i Japan till sommaren för 50,925 yen (US, $497). Tumnagel
39.5°
0
Bli racingförare med Teknikens Värld! Vi kör igen, för sjunde gången! Häng med oss till England och kör fem olika racerbilar på fem olika banor under en och samma fullmatade dag. Allt från smällkaramellen Ariel Atom och Caterham 7, via GT-projektilen BMW M3 till de fullfjädrade och renodlade racerbilarna Palmer Jaguar JP-LM och Formula Jaguar. De två sistnämnda med mönsterlösa slicks-däck och vingar, V6-motorer och paddelväxellådor. Men det är inte allt. Vidare så låter vi racingproffset Edward Sandström drilla er i racingteori. Som kronan på verket så besöker vi racingbanan Silverstone under sista dagen för att kolla på lite brittisk glad-racing – allt för att renodla racingupplevelsen. Så vad väntar du på - boka nu! Antalet platser är begränsade och alla tidigare resor har sålt slut! Datum: 16-18 maj 2014. Pris: För Teknikens Världs prenumeranter 21 900 kr. Ordinarie pris 22 900 kr. Enkelrumstillägg 1 100 kr. I priset ingår: - Flyg tur och retur Stockholm – London med British Airways (inklusive bränsletillägg och flygskatt). Avgång från Köpenhamn mot förfrågan. - Boende på 4-stjärniga hotellet The Bedford Swan. - Samtliga måltider (förutom lunch söndag på Silverstone). - Alla körupplevelser på Palmer Sport. - Inträde till Silverstone Circuit. - Bankörningsteori med Edward Sandström Tumnagel
37.1°
0
Higgs förklarar Higgsbosonen Det på endast två minuter Har du alltid undrat över vad Higgsbosonen faktiskt är? Varför då inte lyssna på när mister Higgs själv förklarar det hela på två minuter? Tumnagel
47.1°
0
Lär dig lite om att räkna odds Siffror, siffror, siffror I detta avsnitt av The Sci Show kan vi höra lite om hur man räknar ut odds och nog kan man bli förvånad när man hör det räkneexempel som tas upp. Han börjar med att säga att 75% av alla positiva mammografitest är korrekta men när man väl vägt in felaktiga test med mera så får man ut att endast 9,6% av kvinnorna som får ett positivt mammografitest faktiskt har cancer. Så hur hänger detta ihop och hur kan det vara så stor skillnad när hela 75% av testerna är korrekta? Ta en titt så får ni veta! Tumnagel
44.4°
0
My Chemical Romance sista Tolv år och fyra album senare splittrades My Chemical Romance i början på förra året. Den 25 mars i år släpps samlingsalbumet May Death Never Stop You som innehåller bandets bästa låtar och för att hajpa inför det släpps nu den sista låten bandet gjorde tillsammans - Fake Your Death. Tumnagel
77kg
0
Myrkotte badar Naaaaaaw Klipp där man får sen en myrkotte chilla i leran. Bonusgrej nedan. Tumnagel
51.2°
0
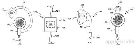
Apple utvecklar hörlurar med inbyggda sensorer Lite som The Dash vi skrev om förra veckan Apple har precis fått ett patent från 2008 beviljat och det patentet visar ett par hörlurar som rent tekniskt låter ganska lika de lurar jag skrev om här om veckan som nu Kickstartas igång. Patentet rör alltså ett par hörlurar med inbyggda sensorer som kan läsa av användarens puls, temperatur, svettning med mera. Detta för att sedan kunna ge feedback direkt via hörlurarna samt logga informationen i träningsappar. Nu ska tilläggas att detta endast är ett patent så om det dyker upp i en produkt eller ej är oklart. Det följer dock de rykten om att Apple vill satsa mer på hälsa och liknande. Tumnagel
42.2°
0
Äventyrliga Citroën C4 Cactus Aventure Concept Ut på tur Citroën har knappt hunnit landa efter att ha offentliggjort den nya modellen C4 Cactus innan det är dags för en specialare baserad på samma skal. Den här kallas för Aventure Concept och som ni säkert förstår är den anpassad för de lite äventyrligare medborgarna. Bilen har försetts med ett par feta BF Goodrich Mud-Terrain T/A i varje hjulhus, höjd fjädring, en stålram som skyddar kofångarna fram och bak, skärmbreddare och en takbox med extraljus. Om den här versionen blir verklighet återstår att se, men Citroën har ju överraskat förr så det är ju inte omöjligt. Tumnagel
43.7°
0
Teaser för Guardians of the Galaxy Who are you? I natt kommer man premiärvisa den första trailern för Guardians of the Galaxy men redan nu kan man få sig ett smakprov av trailern via teaser-trailern ovan. Tumnagel
53.0°
0
Nästa sida + Per månad 39 kr Betala löpande per månad. Ingen bindningstid. Starta prenumeration Per år 299 kr Enklast och billigast, bara 25 kronor i månaden. Betala löpande per år. Ingen bindningstid. Prova 14 dagar gratis innan du bestämmer dig. Starta gratis provperiod Engångsköp 349 kr Slipp återkommande betalningar, betala ett år i taget. Betala med kort eller Swish. Köp utan prenumeration